LEMON Manuals: Even more car manuals for everyone: 1960-2025
Home >> Ford >> 2001 >> Excursion 5.4 L, 4WD >> Repair and Diagnosis >> External Pages >> Different car >> Section 337 (Module Communications Network System) >> General Procedures >> Communication Circuit Wiring Repair
April 5, 2026: LEMON Manuals is launched! Read the announcement.

Communication Circuit Wiring Repair

WARNING: This page is about a different car, the 2002 Lincoln Town Car. However, it is still accessible from the selected car via links, so may be relevant.

Special Tool(s) 

Fig 1: Identifying Special Tool - Heat Gun
G02203913Courtesy of FORD MOTOR CO.
  1. Disconnect the battery ground cable. For additional information, refer to BATTERY, MOUNTING AND CABLES .
  2. Strip the wires.
    Fig 2: Striping Wires
    G02203914Courtesy of FORD MOTOR CO.
  3. NOTE: Use rosin core mildly activated (RMA) solder, not acid core solder.
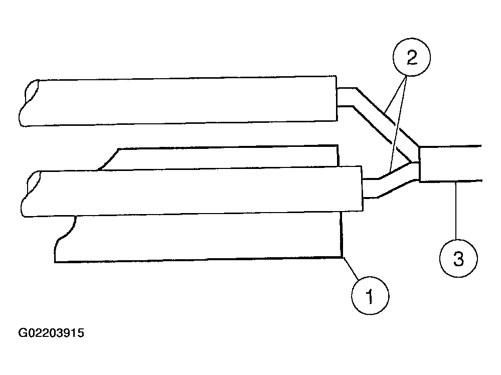
  4. Solder the wires.
    1. Install the heat shrink tube.
    2. Twist the wires together.
    3. Solder the wires together.
      Fig 3: Soldering Wires
      G02203915Courtesy of FORD MOTOR CO.
  5. NOTE: Wait for the solder to cool before moving the wires.
    Fig 4: Bending Wires Back In Straight Line
    G02203916Courtesy of FORD MOTOR CO.
  6. Bend the wires back in a straight line.
  7. Position the (A) heat shrink tube over the (B) wire repair.
    • Overlap the heat shrink tube on both wires.
      Fig 5: Positioning Heat Shrink Tube Over Wire Repair
      G02203917Courtesy of FORD MOTOR CO.
  8. Use the heat gun to heat the repaired area until adhesive flows out both ends of the heat shrink tube.
    Fig 6: Identifying Proper Shrinking Of Heat Shrink Tubing
    G02203918Courtesy of FORD MOTOR CO.
  9. Reconnect the battery ground cable.