LEMON Manuals: Even more car manuals for everyone: 1960-2025
Home >> Ford >> 2001 >> Focus L4-2.0L SOHC VIN P >> Repair and Diagnosis >> Diagrams >> Connector Views >> General Module
April 5, 2026: LEMON Manuals is launched! Read the announcement.

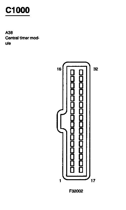
General Module