LEMON Manuals: Even more car manuals for everyone: 1960-2025
Home >> Ford >> 2001 >> Mustang Base, 2D Convertible, Automatic >> Repair and Diagnosis >> External Pages >> Different car >> Section 1010 (Warning System) >> Diagnosis And Testing >> Warning Devices >> Pinpoint Test A: The Key-In-Ignition Chime Is Inoperative >> Pinpoint Test A: The Key-In-Ignition Chime Is Inoperative
April 5, 2026: LEMON Manuals is launched! Read the announcement.

Pinpoint Test A: The Key-In-Ignition Chime Is Inoperative

WARNING: This page is about a different car, the 2005 Mercury Mountaineer and 2005 Ford Explorer. However, it is still accessible from the selected car via links, so may be relevant.
  1. A1 CHECK THE INTERIOR LAMPS 
    • Open the driver door.
    • Does the interior dome lamp illuminate when the driver door is open? 
    • Yes  : GO to A2.
    • No  : REFER to INTERIOR LIGHTING to continue diagnosis of the interior lamps.
  2. A2 CHECK THE KEY-IN-IGNITION CHIME OPERATION 
    • Key in OFF position.
    • Insert the ignition key into the ignition switch with the driver door open.
    • Does the chime sound? 
    • Yes  : The system is operating correctly at this time.
    • No  : GO to A3.
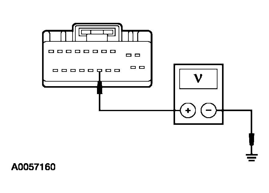
  3. A3 CHECK CIRCUIT 1414 (LG/VT) FOR VOLTAGE 
    • Remove the ignition key from the ignition switch.
    • Disconnect: Instrument Cluster C220b.
    • Insert the ignition key into the ignition switch.
    • Measure the voltage between the instrument cluster C220b-15, circuit 1414 (LG/VT), harness side and ground.
      Fig 1: Measuring Voltage Between Instrument Cluster C220b-15, Circuit 1414 (LG/VT), Harness Side And Ground
      G03945437Courtesy of FORD MOTOR CO.
    • Is the voltage greater than 10 volts? 
    • Yes  : GO to  A5.
    • No  : GO to A4.
  4. A4 CHECK CIRCUIT 1414 (LG/VT) FOR AN OPEN OR A SHORT TO GROUND 
    • Remove the ignition key from the ignition switch.
    • Disconnect: Ignition Switch C250.
    • Measure the resistance between the instrument cluster C220b-15, circuit 1414 (LG/VT), harness side and the ignition switch C250-5, circuit 1414 (LG/VT), harness side; and between the instrument cluster C220b-15, circuit 1414 (LG/VT), harness side and ground.
      Fig 2: Checking Circuit 1414 (LG/VT) For An Open Or A Short To Ground
      G03945438Courtesy of FORD MOTOR CO.
    • Is the resistance less than 5 ohms between the instrument cluster and the ignition switch, and greater than 10,000 ohms between the instrument cluster and ground? 
    • Yes  : INSTALL a new ignition switch. REFER to STEERING COLUMN SWITCHES . CLEAR the DTCs. REPEAT the self-test.
    • No  : REPAIR the circuit. CLEAR the DTCs. REPEAT the self-test.
  5. A5 CHECK FOR CORRECT INSTRUMENT CLUSTER OPERATION 
    • Disconnect all the instrument cluster connectors.
    • Check for:
      • corrosion
      • pushed-out pins
    • Connect all the instrument cluster connectors and make sure they seat correctly.
    • Operate the system and verify the concern is still present.
    • Is the concern still present? 
    • Yes  : INSTALL a new instrument cluster. REFER to INSTRUMENT CLUSTER . TEST the system for normal operation.
    • No  : The system is operating correctly at this time. The concern may have been caused by a loose or corroded connector. CLEAR the DTCs. REPEAT the self-test.