LEMON Manuals: Even more car manuals for everyone: 1960-2025
Home >> Ford >> 2001 >> Mustang Base, 2D Convertible, Standard >> Repair and Diagnosis >> External Pages >> Different car >> Section 917 (Cruise Control System) >> Diagnosis And Testing >> Speed Control >> Pinpoint Test C: DTC P0579 or DTC P0581 -Speed Control Switch Circuit Failure >> Pinpoint Test C: DTC P0579 Or DTC P0581 - Speed Control Switch Circuit Failure
April 5, 2026: LEMON Manuals is launched! Read the announcement.

Pinpoint Test C: DTC P0579 Or DTC P0581 - Speed Control Switch Circuit Failure

WARNING: This page is about a different car, the 2005 Ford Mustang. However, it is still accessible from the selected car via links, so may be relevant.
  1. C1 CHECK THE SPEED CONTROL SWITCH CIRCUITRY FOR A SHORT TO VOLTAGE 
    • Key in OFF position.
    • Disconnect: Powertrain Control Module (PCM) C175b.
    • Key in ON position.
    • Turn the parking lamps on.
    • Measure the voltage between the PCM C175B-19, circuit 248 (TN/OG), harness side and ground; and between the PCM C175b-30, circuit 133 (BK), harness side and ground.
      Fig 1: Measuring Voltage Between PCM Connector And Ground
      G03883128Courtesy of FORD MOTOR CO.
    • Is any voltage present? 
    • Yes  : TURN the parking lamps off. GO to C2.
    • No  : TURN the parking lamps off. GO to  C4.
  2. C2 CHECK CIRCUITS 248 (TN/OG) AND 133 (BK) FOR A SHORT TO VOLTAGE 
    • Key in OFF position.
    • Disconnect: Clockspring C2274.
    • Key in ON position.
    • Turn the parking lamps on.
    • Measure the voltage between the PCM C156b-19, circuit 248 (TN/OG), harness side and ground; and between the PCM C175b-30, circuit 133 (BK), harness side and ground.
      Fig 2: Measuring Voltage Between PCM Connector And Ground
      G03883128Courtesy of FORD MOTOR CO.
    • Is any voltage present? 
    • Yes  : REPAIR the circuit in question. CLEAR the DTCs. REPEAT the self-test.
    • No  : TURN the parking lamps off. GO to C3.
  3. C3 CHECK THE CLOCKSPRING FOR A SHORT TO VOLTAGE 
    • Key in OFF position.
    • Connect: Clockspring C2274.
    • Remove the driver air bag module. Refer to DRIVER AIR BAG MODULE .
    • Connect the restraint system diagnostic tools (418-F395) to the upper clockspring air bag connector.
    • Disconnect: Upper Clockspring.
    • WARNING: Make sure there is no one inside the vehicle and that there is nothing blocking or set in front of any air bag module when the battery is connected. Failure to follow these instructions may result in personal injury.
    • Connect the battery.
    • Key in ON position.
    • Turn the parking lamps on.
    • Measure the voltage between the PCM C175b-19, circuit 248 (TN/OG), harness side and ground; and between the PCM C175b-30, circuit 133 (BK), harness side and ground.
      Fig 3: Measuring Voltage Between PCM Connector And Ground
      G03883128Courtesy of FORD MOTOR CO.
    • Is any voltage present? 
    • Yes  : INSTALL a new clockspring. REFER to CLOCKSPRING . DISCONNECT the battery. INSTALL the driver air bag module. REFER to DRIVER AIR BAG MODULE . CLEAR the DTCs. REPEAT the self-test.
    • No  : INSTALL a new speed control switch. REFER to SPEED CONTROL SWITCH . DISCONNECT the battery. INSTALL the driver air bag module. REFER to DRIVER AIR BAG MODULE . CLEAR the DTCs. REPEAT the self-test.
  4. C4 CHECK THE SPEED CONTROL SWITCH CIRCUITRY FOR A SHORT TO GROUND 
    • Key in OFF position.
    • Measure the resistance between the PCM C175b-19, circuit 248 (TN/OG), harness side and ground; and between the PCM C175b-30, circuit 133 (BK), harness side and ground.
      Fig 4: Measuring Resistance Between PCM Connector And Ground
      G03883131Courtesy of FORD MOTOR CO.
    • Are the resistances greater than 10,000 ohms? 
    • Yes  : GO to  C7.
    • No  : GO to C5.
  5. C5 CHECK THE CLOCKSPRING FOR A SHORT TO GROUND 
    • Remove the driver air bag module. Refer to DRIVER AIR BAG MODULE .
    • Disconnect: Upper Clockspring.
    • Measure the resistance between the PCM C175b-19, circuit 248 (TN/OG), harness side and ground; and between the PCM C175b-30, circuit 133 (BK), harness side and ground.
      Fig 5: Measuring Resistance Between PCM Connector And Ground
      G03883131Courtesy of FORD MOTOR CO.
    • Are the resistances greater than 10,000 ohms? 
  6. C6 CHECK CIRCUITS 248 (TN/OG) AND 133 (BK) FOR A SHORT TO GROUND 
    • Disconnect: Clockspring C2274.
    • Measure the resistance between the PCM C175b-19, circuit 248 (TN/OG), harness side and ground; and between the PCM C175b-30, circuit 133 (BK), harness side and ground.
      Fig 6: Measuring Resistance Between PCM Connector And Ground
      G03883131Courtesy of FORD MOTOR CO.
    • Are the resistances greater than 10,000 ohms? 
    • Yes  : INSTALL a new clockspring. REFER to CLOCKSPRING . INSTALL the driver air bag module. REFER to DRIVER AIR BAG MODULE . CLEAR the DTCs. REPEAT the self-test.
    • No  : REPAIR the circuit in question. INSTALL the driver air bag module. REFER to DRIVER AIR BAG MODULE . CLEAR the DTCs. REPEAT the self-test.
  7. C7 CHECK THE SPEED CONTROL SWITCH CIRCUITRY FOR AN OPEN 
    • Measure the resistance between the PCM C175b-19, circuit 248 (TN/OG), harness side and the PCM C175b-30, circuit 133 (BK), harness side.
      Fig 7: Measuring Resistance Between PCM Connector Terminals
      G03883120Courtesy of FORD MOTOR CO.
    • Is the resistance between 4,100 and 4,500 ohms? 
    • Yes  : GO to  C10.
    • No  : GO to C8.
  8. C8 CHECK CIRCUITS 248 (TN/OG) AND 133 (BK) FOR AN OPEN 
    • Disconnect: Clockspring C2274.
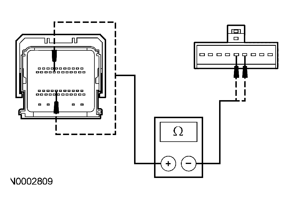
    • Measure the resistance between the PCM C175b-19, circuit 248 (TN/OG), harness side and the clockspring C2274-4, circuit 248 (TN/OG), harness side; and between the PCM C175b-30, circuit 133 (BK), harness side and the clockspring C2274-5, circuit 133 (BK), harness side.
      Fig 8: Checking Circuits 248 (TN/OG) And 133 (BK) For An Open
      G03986201Courtesy of FORD MOTOR CO.
    • Are the resistances less than 5 ohms? 
    • Yes  : GO to C9.
    • No  : REPAIR the circuit in question. CLEAR the DTCs. REPEAT the self-test.
  9. C9 CHECK THE CLOCKSPRING 
    • Remove the driver air bag module. Refer to DRIVER AIR BAG MODULE .
    • Disconnect: Upper Clockspring.
    • Measure the resistance between the clockspring C2274 pin 4, component side and the upper clockspring connector pin 2, component side; and between the clockspring C2274 pin 5, component side and the upper clockspring connector pin 3, component side.
      Fig 9: Checking The Clockspring
      G03986202Courtesy of FORD MOTOR CO.
    • Are the resistances less than 5 ohms? 
    • Yes  : INSTALL a new speed control switch. REFER to SPEED CONTROL SWITCH . CLEAR the DTCs. REPEAT the self-test.
    • No  : INSTALL a new clockspring. REFER to CLOCKSPRING . INSTALL the driver air bag module. REFER to DRIVER AIR BAG MODULE . CLEAR the DTCs. REPEAT the self-test.
  10. C10 CHECK FOR CORRECT PCM OPERATION 
    • Disconnect all the PCM connectors.
    • Check for:
      • corrosion
      • pushed-out pins
    • Connect all the PCM connectors and make sure they seat correctly.
    • Operate the system and verify the concern is still present.
    • Is the concern still present? 
    • Yes  : INSTALL a new PCM. REFER to POWERTRAIN CONTROL MODULE (PCM) . INSTALL the driver air bag module. REFER to DRIVER AIR BAG MODULE . TEST the system for normal operation.
    • No  : The system is operating correctly at this time. The concern may have been caused by a loose or corroded connector. INSTALL the driver air bag module. REFER to DRIVER AIR BAG MODULE . CLEAR the DTCs. REPEAT the self-test.