LEMON Manuals: Even more car manuals for everyone: 1960-2025
Home >> Ford >> 2001 >> Mustang Base, 2D Coupe, Standard >> Repair and Diagnosis >> External Pages >> Different car >> Section 1195 (Module Communications Network) >> Diagnosis And Testing >> Communications Network >> Pinpoint Test R: The Electronic Parking Brake Module Does Not Respond To The Diagnostic Tool >> Pinpoint Test R: THE ELECTRONIC PARKING BRAKE MODULE DOES NOT RESPOND TO THE DIAGNOSTIC TOOL
April 5, 2026: LEMON Manuals is launched! Read the announcement.

Pinpoint Test R: THE ELECTRONIC PARKING BRAKE MODULE DOES NOT RESPOND TO THE DIAGNOSTIC TOOL

WARNING: This page is about a different car, the 2005 Lincoln LS. However, it is still accessible from the selected car via links, so may be relevant.
  1. R1 CHECK THE ELECTRONIC PARKING BRAKE MODULE C4205B FOR DAMAGE 
    • Key in OFF position.
    • Disconnect: Electronic Parking Brake Module C4205b.
    • Inspect the electronic parking brake module C4205b for damage.
    • Is the electronic parking brake module C4205b OK? 
    • Yes  : GO to  R2.
    • No  : REPAIR the electronic parking brake module C4205b as necessary. TEST the system for normal operation.
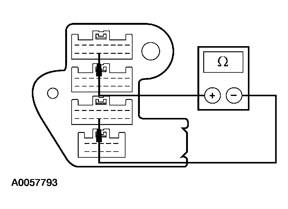
  2. R2 CHECK FOR AN OPEN BETWEEN THE DLC C251 AND THE ELECTRONIC PARKING BRAKE MODULE C4205B 
    • Measure the resistance between the electronic parking brake module C4205b-1, circuit 4-CG16 (GY/RD), harness side and the DLC C251-2, circuit 4-EG7 (GY/RD), harness side.
      Fig 1: Measuring The Resistance Between The Electronic Parking Brake Module C4205b-1, Circuit 4-CG16 And The DLC C251-2, Circuit 4-EG7
      G03998986Courtesy of FORD MOTOR CO.
    • Measure the resistance between the electronic parking brake module C4205b-7, circuit 5-CG16 (BU/RD), harness side and the DLC C251-10, circuit 5-EG7 (BU/RD), harness side.
      Fig 2: Measuring The Resistance Between The Electronic Parking Brake Module C4205b-7, Circuit 5-CG16 And The DLC C251-10, Circuit 5-EG7
      G03998987Courtesy of FORD MOTOR CO.
    • Are the resistances less than 5 ohms? 
    • Yes  : GO to  R9.
    • No  : GO to  R3.
  3. R3 CHECK FOR AN OPEN BETWEEN JOINT CONNECTOR NO. 5 C427 AND THE ELECTRONIC PARKING BRAKE MODULE C4205B 
    • Disconnect: Joint Connector No. 5 C427.
    • Measure the resistance between the electronic parking brake module C4205b-1, circuit 4-CG16 (GY/RD), harness side and joint connector No. 5 C427-2, circuit 4-CG16 (GY/RD), harness side.
      Fig 3: Measuring Resistance Between Electronic Parking Brake Module C4205B-1, Circuit 4-CG16 And Joint Connector No. 5 C427-2, Circuit 4-CG16
      G03998988Courtesy of FORD MOTOR CO.
    • Measure the resistance between the electronic parking brake module C4205b-7, circuit 5-CG16 (BU/RD), harness side and joint connector No. 5 C427-13, circuit 5-CG16 (BU/RD), harness side.
      Fig 4: Measuring Resistance Between Electronic Parking Brake Module C4205B-7, Circuit 5-CG16 And Joint Connector No. 5 C427-13, Circuit 5-CG16
      G03998989Courtesy of FORD MOTOR CO.
    • Are the resistances less than 5 ohms? 
    • Yes  : GO to  R4.
    • No  : REPAIR the circuit in question. TEST the system for normal operation.
  4. R4 CHECK JOINT CONNECTOR NO. 5 C427 FOR AN OPEN 
    • Measure the resistance between joint connector No. 5 C427-1, component side and joint connector No. 5 C427-2, component side.
      Fig 5: Measuring Resistance Between Joint Connector No. 5 C427-1 And Joint Connector No. 5 C427-2
      G03998990Courtesy of FORD MOTOR CO.
    • Measure the resistance between joint connector No. 5 C427-12, component side and joint connector No. 5 C427-13, component side.
      Fig 6: Measuring Resistance Between Joint Connector No. 5 C427-12 And Joint Connector No. 5 C427-13
      G03998991Courtesy of FORD MOTOR CO.
    • Are the resistances less than 5 ohms? 
    • Yes  : GO to  R5.
    • No  : REPAIR joint connector No. 5 C427 as necessary. TEST the system for normal operation.
  5. R5 CHECK FOR AN OPEN BETWEEN THE INTERIOR AUXILIARY JUNCTION BOX (AJB) C283B AND JOINT CONNECTOR NO. 5 C427 
    • Disconnect: Interior AJB C283b.
    • Measure the resistance between the interior AJB C283b-8, circuit 4-EG1 (GY/RD), harness side and joint connector No. 5 C427-1, circuit 4-EG1 (GY/RD), harness side.
      Fig 7: Measuring Resistance Between Interior AJB C283B-8 And Joint Connector No. 5 C427-1
      G03998992Courtesy of FORD MOTOR CO.
    • Measure the resistance between the interior AJB C283b-4, circuit 5-EG1 (BU/RD), harness side and joint connector No. 5 C427-12, circuit 5-EG1 (BU/RD), harness side.
      Fig 8: Measuring Resistance Between Interior AJB C283B-4 And Joint Connector No. 5 C427-12
      G03998993Courtesy of FORD MOTOR CO.
    • Are the resistances less than 5 ohms? 
    • Yes  : GO to  R6.
    • No  : REPAIR the circuit in question. CARRY OUT the diagnostic tool data link test.
  6. R6 CHECK FOR AN OPEN BETWEEN THE INTERIOR AJB C283B AND THE INTERIOR AJB C283D 
    • Disconnect: Interior AJB C283d.
    • Measure the resistance between the interior AJB C283d-16, component side and the interior AJB C283b-8, component side.
      Fig 9: Measuring Resistance Between Interior AJB C283D-16 And Interior AJB C283B-8
      G03998898Courtesy of FORD MOTOR CO.
    • Measure the resistance between the interior AJB C283d-12, component side and the interior AJB C283b-4, component side.
      Fig 10: Measuring Resistance Between Interior AJB C283D-12 And Interior AJB C283B-4
      G03998955Courtesy of FORD MOTOR CO.
    • Are the resistances less than 5 ohms? 
    • Yes  : GO to  R7.
    • No  : INSTALL a new interior AJB. TEST the system for normal operation.
  7. R7 CHECK FOR AN OPEN BETWEEN THE INTERIOR AJB C283D AND JOINT CONNECTOR NO. 4 C223 
    • Disconnect: Joint Connector No. 4 C223.
    • Measure the resistance between the interior AJB C283d-16, circuit 4-EG1 (GY/RD), harness side and joint connector No. 4 C223-12, circuit 4-EG1 (GY/RD), harness side.
      Fig 11: Measuring Resistance Between Interior Ajb C283D-16 And Joint Connector No. 4 C223-12
      G03998996Courtesy of FORD MOTOR CO.
    • Measure the resistance between the interior AJB C283d-12, circuit 5-EG1 (BU/RD), harness side and joint connector No. 4 C223-11, circuit 5-EG1 (BU/RD), harness side.
      Fig 12: Measuring Resistance Between Interior AJB C283D-12 And Joint Connector No. 4 C223-11
      G03998997Courtesy of FORD MOTOR CO.
    • Are the resistances less than 5 ohms? 
    • Yes  : GO to  R8.
    • No  : REPAIR the circuit in question. CARRY OUT the diagnostic tool data link test.
  8. R8 CHECK JOINT CONNECTOR NO. 4 C427 FOR AN OPEN 
    • Measure the resistance between joint connector No. 4 C223-12, component side and joint connector No. 4 C223-14, component side.
      Fig 13: Measuring The Resistance Between Joint Connector No. 4 C223-12 And Joint Connector No. 4 C223-14
      G03998824Courtesy of FORD MOTOR CO.
    • Measure the resistance between joint connector No. 4 C223-9, component side and joint connector No. 4 C223-11, component side.
      Fig 14: Measuring The Resistance Between Joint Connector No. 4 C223-9 And Joint Connector No. 4 C223-11
      G03998825Courtesy of FORD MOTOR CO.
    • Are the resistances less than 5 ohms? 
    • Yes  : REPAIR the circuit in question between the DLC C251 and joint connector No. 4 C223. CARRY OUT the diagnostic tool data link test.
    • No  : REPAIR joint connector No. 4 C223. TEST the system for normal operation.
  9. R9 CHECK FOR CORRECT ELECTRONIC PARKING BRAKE MODULE OPERATION 
    • Disconnect all the electronic parking brake module connectors.
      • Check for:
      • corrosion
    • push-out pins
    • Connect all the electronic parking brake module connectors and make sure they seat correctly.
    • Operate the system and verify the concern is still present.
    • Is the concern still present? 
    • Yes  : INSTALL a new electronic parking brake module. REFER to PARKING BRAKE & ACTUATION . TEST the system for normal operation. CARRY OUT the diagnostic tool data link test.
    • No  : The system is operating correctly at this time. The concern may have been caused by a loose or corroded connector. CLEAR the DTCs. REPEAT the self-test.