LEMON Manuals: Even more car manuals for everyone: 1960-2025
Home >> Ford >> 2001 >> Windstar LX >> Repair and Diagnosis >> Transmission >> Automatic Trans >> Automatic Transmission >> Assembly >> Transaxle >> Transaxle Assembly
April 5, 2026: LEMON Manuals is launched! Read the announcement.

Transaxle Assembly

  1. Install the parking pawl assembly.
    1. Install the parking pawl and return spring.
    2. Install the parking pawl shaft.
    Fig 1: Installing Parking Pawl Assembly
    G02198118
  2. Install the park pawl roll pin.
    Fig 2: Installing Park Pawl Roll Pin
    G02198119
  3. Using the special tool, install the cup plug.
    Fig 3: Installing Cup Plug
    G02198120
  4. Using the special tools, install the new drive sprocket bearing, if it was removed.
    Fig 4: Installing New Drive Sprocket Bearing
    G02198121
  5. NOTE: The bolt holes are offset and the drive sprocket can only be aligned one way.
    Fig 5: Installing Driven Sprocket Support
    G02198122
  6. Install the driven sprocket support.
  7. Install the bolts.
    Fig 6: Installing Bolts
    G02198123
  8. Using the special tool, install the converter impeller hub seal.
    Fig 7: Installing Converter Impeller Hub Seal
    G02198124
  9. Install the differential carrier thrust bearing.
    1. Install the differential carrier thrust washer.
    2. Install the differential carrier thrust bearing and race (tabs down).
    Fig 8: Installing Differential Carrier Thrust Bearing
    G02198125
  10. Install the final drive ring gear.
    Fig 9: Installing Final Drive Ring Gear
    G02198126
  11. Install the rear planet support spacer.
    Fig 10: Installing Rear Planet Support Spacer
    G02198127
  12. Install the final drive differential assembly.
    Fig 11: Installing Final Drive Differential Assembly
    G02198128
  13. Align the rear lube tube holes in the case window.
    Fig 12: Aligning Rear Lube Tube Holes In Case Window
    G02198129
  14. NOTE: The retaining ring must be correctly installed.
    Fig 13: Installing Beveled Retaining Ring (1 Of 2)
    G02198130
    Fig 14: Installing Beveled Retaining Ring (2 Of 2)
    G02198131
  15. Using the special tool install the beveled retaining ring.
  16. CAUTION: If support is not visible on inside diameter of the retaining ring the low/intermediate piston could be damaged.
    Fig 15: Ensure Beveled Retaining Ring Seats Correctly In Case Groove
    G02198132
  17. Make sure that the beveled retaining ring seats correctly in case groove with the bevel down and final drive support must be visible on the inside diameter of the retaining ring but must not seat against the case wall.
  18. Place a screwdriver into the differential case and pry up to make sure that the retaining ring is fully seated in the top of the case groove.
    Fig 16: Fully Seating Retaining Ring In Top Case Groove
    G02198133
  19. Install the special tools.
    Fig 17: Installing Special Tools
    G02198134
  20. Remove the No. 15 needle bearing.
    Fig 18: Removing No. 15 Needle Bearing
    G02198135
  21. NOTE: The dial indicator extension rod must set on the No. 15 bearing surface.
    Fig 19: Installing Special Tools
    G02198136
  22. Install the special tools.
  23. Install the special tools and zero the dial indicator.
    Fig 20: Installing Dial Indicator
    G02198137
  24. Tighten the bolt.
    Fig 21: Tighten Special Tool Bolt
    G02198138
  25. Read and record the dial indicator reading. If the dial indicator reading indicates movement more than the specification the next larger beveled ring retainer will need to be used.
    Fig 22: Reading Dial Indicator
    G02198139
  26. Select the correct beveled retaining ring.
    Fig 23: Beveled Retaining Ring Specification Table
    G02198140
    Fig 24: Identifying Beveled Retaining Rings
    G02198141
  27. NOTE: Make sure the No. 15 needle bearing is on the rear planet support hub and the black plastic No. 15 thrust washer is in place on top of the low/intermediate clutch spring retainer.
    Fig 25: Install No. 15 Thrust Bearing
    G02198142
  28. Install the No. 15 thrust bearing.
  29. Check the clearance for the No. 16 thrust washer. Mount the Dial Indicator with the stylus on the end of the output shaft. Zero the dial indicator.
    Fig 26: Mounting Dial Indicator
    G02198143
  30. Tighten the bolt. Read and record the dial indicator reading.
    Fig 27: Checking No. 16 Thrust Washer Clearance
    G02198144
  31. NOTE: The beveled retaining ring and the rear planet support must be removed to change the No. 16 thrust race.
    Fig 28: Measuring No. 16 Thrust Race (Washer) Clearance
    G02198146
    Fig 29: No. 16 Thrust Race (Washer) Specification Table
    G02198145
  32. If the clearance is not within specification a thicker or thinner washer will need to be added.
  33. Install the low-intermediate one-way-clutch assembly.
    Fig 30: Installing Low-Intermediate One-Way Clutch Assembly
    G02198147
  34. NOTE: The friction plate internal splines will center the one-way clutch.
    Fig 31: Installing Low-Intermediate Clutch Pressure Plate
    G02198148
  35. Install the low-intermediate clutch pressure plate.
    1. Install the low-intermediate clutch wave spring.
    2. Install the low-intermediate clutch pack.
    3. Install the low-intermediate clutch pressure plate.
  36. CAUTION: Make sure that the retaining ring is seated in the case groove.
    Fig 32: Installing Low-Intermediate Clutch Retaining Ring
    G02198149
  37. Install the low-intermediate clutch retaining ring.
  38. WARNING: To prevent injury, wear eye protection when using pressurized air.
    NOTE: Be sure the pressurized air is dry and regulated at 276 kPa (40 psi).
    Fig 33: Applying Regulated Air Pressure To Low-Intermediate Apply Port
    G02198150
  39. Apply regulated air pressure to the low-intermediate apply port. Make sure that the piston moves and no air is leaking past the piston seal.
  40. Measure the clearance between the clutch pressure plate and the low-intermediate clutch retainer. If the clearance is not within specification a thicker or thinner retainer may be needed.
    Fig 34: Measuring Clutch Pressure Plate & Low-Intermediate Clutch Retainer Clearance
    G02198152
    Fig 35: Selective Retaining Rings Specifications Table
    G02198151
  41. Install the coast band.
    1. Install the coast band.
    2. Align the anchor pin pocket with the anchor pin in the case.
    Fig 36: Installing Coast Band
    G02198153
  42. Install the low-intermediate drum. Rotate the low-intermediate drum and sun gear into the low-intermediate one-way clutch.
    Fig 37: Installing Low-Intermediate Drum
    G02198154
  43. Install the park rod abutment and make sure that the park pawl moves freely.
    Fig 38: Installing Park Rod Abutment
    G02198155
  44. Install the coast band piston cover.
    1. Install the coast band servo piston spring.
    2. Install the coast band servo piston.
    3. Install the coast band servo piston cover.
    Fig 39: Installing Coast Band Piston Cover
    G02198156
  45. Using the special tool, install the coast servo cover retaining ring.
    Fig 40: Installing Coast Servo Cover Retaining Ring
    G02198157
  46. Using the special tools, install the front planetary/reverse clutch assembly.
    Fig 41: Installing Front Planetary/Reverse Clutch Assembly
    G02198158
  47. Make sure that the reverse clutch cylinder apply tube hole is aligned with the case hole. Remove the tool.
    Fig 42: Aligning Reverse Clutch Cylinder Apply Tube Hole With Case Hole
    G02198159
  48. Loosely install the reverse clutch anchor pin.
    Fig 43: Installing Reverse Clutch Anchor Pin (Loosely)
    G02198160
  49. Using the special tool install the forward/intermediate clutch assembly. Align the shell and sun gear into the front planet.
    Fig 44: Aligning Shell & Sun Gear Into Front Planet
    G02198161
  50. Install the overdrive band.
    Fig 45: Installing Overdrive Band
    G02198162
  51. NOTE: The foot of the overdrive retainer goes down against the band.
    Fig 46: Installing Overdrive Band Anchor Strut
    G02198163
  52. Install the overdrive band anchor strut with the cross hairs facing up.
  53. Remove the No. 8 sprocket thrust washer and the No. 9 bearing and race from the driven sprocket support.
    1. Remove the No. 9 bearing and race.
    2. Remove the No. 8 sprocket support.
    Fig 47: Removing No. 8 Sprocket Thrust Washer & No. 9 Bearing & Race
    G02198164
  54. Install only the No. 9 needle bearing with the outer lip up.
    Fig 48: Installing No. 9 Needle Bearing
    G02198165
  55. Install the special tool over the output shaft until it is fully seated on to the No. 9 needle bearing.
    Fig 49: Installing Special Tool (307-320) Over Output Shaft
    G02198166
  56. Install the special tool to make the measurements.
    Fig 50: Installing Measurements Special Tool
    G02198167
  57. When taking the measurement, record readings on both sides of the output shaft 180 degrees apart from each other. Add both readings and divide by two to obtain reading A.
    Fig 51: Measuring Output Shaft No. 8 Thrust Washer
    G02198168
  58. NOTE: Reading A and Dimension C from the chart will be used in the selection of the No. 5 thrust washer.
    Fig 52: No. 8 Thrust Washer Selection Chart (1 Of 2)
    G02198169
    Fig 53: No. 8 Thrust Washer Selection Chart (2 Of 2)
    G02198170
  59. Use the reading A to select the correct No. 8 thrust washer from the chart. See Fig 52 and Fig 53
  60. Remove the special tools.
    Fig 54: Removing Special Tools
    G02198171
  61. Install the special tools to make the measurements.
    Fig 55: Installing Special Tools To Make No. 5 Thrust Washer Measurements
    G02198172
  62. Measure down to the No. 5 thrust washer mating surface of the overdrive drum. Take another reading on the other side of the drum 180 degrees from the first one. Add both readings and divide by two to obtain reading B.
    Fig 56: Measuring No. 5 Thrust Washer
    G02198173
  63. Remove the special tools.
    Fig 57: Removing Special Tools
    G02198174
  64. NOTE: Reading A was obtained during No. 8 thrust washer selection. Dimension C is found on the No. 8 thrust washer selection chart.
    Fig 58: Recording Thrust Washer Measurements
    G02198175
  65. Subtract reading A from reading B and add the difference between A and B to dimension C. Record this reading as D.
  66. Use Reading D to select the correct No. 5 thrust washer.
    Fig 59: No. 5 Support Thrust Washer Chart
    G02198176
  67. NOTE: Use petroleum jelly to hold the No. 5 thrust washer in place.
    Fig 60: Installing No. 5 Front Support Thrust Washer
    G02198177
  68. Install the No. 5 front support thrust washer.
  69. CAUTION: The No. 9 direct hub needle bearing may still be inside the transaxle from the No. 8 driven sprocket support thrust washer selection procedure. Use petroleum jelly to hold bearing and washer in place.
    Fig 61: Installing Correct Bearing
    G02198178
  70. Install the correct bearing.
    1. Install the correct No. 8 driven sprocket support thrust washer.
    2. Install the No. 9 direct clutch needle bearing.
  71. Install the driven sprocket support assembly.
    Fig 62: Installing Driven Sprocket Support Assembly
    G02198179
  72. Install the neutral/drive accumulator cover.
    1. Install the neutral/drive accumulator piston.
    2. Install the neutral/drive accumulator spring.
    3. Install the neutral/drive accumulator cover.
    Fig 63: Installing Neutral/Drive Accumulator Cover
    G02198180
  73. Install the bolt.
    Fig 64: Installing Bolt
    G02198181
  74. NOTE: All the fluid supply tubes must have new O-rings installed.
    Fig 65: Installing Fluid Supply Tubes
    G02198182
  75. Install the fluid supply tubes.
  76. Install the brackets.
    Fig 66: Installing Fluid Supply Tubes Brackets
    G02198183
  77. Using the special tool, install the manual control lever shaft seal.
    Fig 67: Installing Manual Control Lever Shaft Seal
    G02198184
  78. Install the parking lever actuating rod.
    • Push in on the park pawl.
    • Slide down the parking lever actuating rod to fit in the park pawl.
    Fig 68: Installing Parking Lever Actuating Rod
    G02198185
  79. NOTE: The manual control valve detent lever must be installed with the shoulder and roll pin hole pointing toward the driven sprocket support.
    Fig 69: Installing Manual Control Lever Shaft
    G02198186
  80. Install the manual control lever shaft.
  81. NOTE: Prior to installing the roll pins be sure that the manual control valve detent lever shoulder and roll pin hole is pointing toward the driven sprocket support.
    Fig 70: Installing Roll Pins
    G02198187
  82. Install the roll pins.
  83. NOTE: Apply petroleum jelly to the drive sprocket thrust washer and driven sprocket thrust washer to hold them in place.
    Fig 71: Installing Thrust Washers
    G02198188
  84. Install the thrust washers.
    1. Install the No. 2 drive sprocket washer.
    2. Install the No. 4 driven sprocket thrust washer.
  85. CAUTION: Be careful not to damage or bend the exciter tabs on the driven sprocket speed sensor wheel. The TSS sensor will not operate correctly if the tabs are bent.
    NOTE: Lower the assembly into the sprocket supports simultaneously.
    Fig 72: Installing Drive Chain & Sprockets
    G02198189
  86. Install the drive chain and sprockets.
  87. Install the shift accumulator springs.
    1. Install the 1 - 2 accumulator outer spring.
    2. Install the accumulator piston spring.
    3. Install the reverse shift accumulator spring.
    4. Install the accumulator spring.
    Fig 73: Installing Shift Accumulator Springs
    G02198190
  88. NOTE: Make sure that the alignment pins are installed in case.
    Fig 74: Installing New Chain Cover Gasket
    G02198191
  89. Install the new chain cover gasket.
  90. CAUTION: Be extremely careful not to damage the cast iron sealing ring.
    NOTE: Use petroleum jelly to hold thrust washers in place during assembly.
    Fig 75: Installing No. 1 & No. 2 Thrust Washers & Chain Cover
    G02198192
    1. Install the No. 1 thrust washer.
    2. Install the No. 2 thrust washer.
    3. Install the chain cover.
  91. NOTE: After installing the chain cover the input shaft should have some end play and should rotate freely. Apply gentle downward pressure on the chain cover to overcome spring pressure.
    Fig 76: Starting Two Bolts
    G02198193
  92. Start two bolts.
  93. Install the remaining bolts.
    Fig 77: Installing Remaining Bolts
    G02198194
  94. Install the bolts.
    Fig 78: Installing Bolts
    G02198195
  95. CAUTION: The test spring from the overdrive servo rod tool is plain in color and has a shorter free height than the operational spring. Extreme care must be used not to assemble the transaxle using the test spring.
    Fig 79: Inspecting Spring Height
    G02198196
  96. Inspect the spring height.
    1. Test spring.
    2. Original spring.
  97. Overdrive servo travel check. Install the overdrive servo piston.
    1. Install the test spring.
    2. Install the overdrive servo piston.
    Fig 80: Installing Overdrive Servo Piston
    G02198197
  98. Install the special tools.
    Fig 81: Installing Measurement Special Tools
    G02198198
  99. Using the special tools, tighten the center screw and zero out the dial indicator.
    Fig 82: Zeroing Dial Indicator
    G02198199
  100. Using the special tools, back off the center screw until the piston movement stops and read the dial indicator. The reading should be within specification. If the reading does not match the specification, see the overdrive specification chart and determine which overdrive servo rod to use.
    Fig 83: Measuring Overdrive Servo Rod
    G02198200
  101. If the overdrive servo travel was incorrect install a new overdrive servo rod. Zero the dial indicator and repeat the above step to verify the amount of piston travel. If within specification, remove the tool and test spring.
    Fig 84: Overdrive Piston Rod Selection Chart
    G02198201
  102. CAUTION: Do not assemble the transaxle using the test spring.
    Fig 85: Installing Overdrive Servo
    G02198202
  103. Install the overdrive servo.
    1. Install the overdrive servo spring.
    2. Install the overdrive servo.
    3. Install the overdrive servo cover and bolts.
  104. Install the special tool.
    Fig 86: Installing Transmission Air Test Plate
    G02198203
  105. WARNING: Wear safety glasses while carrying out this procedure to prevent personal injury.
    NOTE: When applying regulated 276 kPa (40 psi) air pressure to the appropriate passage, a dull thud should be heard when the clutch or band applies. There should be no hissing sound when the clutch or band applies.
    NOTE: Plugging the vent hole during the test will provide an inaccurate result.
    Fig 87: Locating Air Pressure Test Ports
    G02198204
    Fig 88: Air Pressure Test Ports Chart
    G02198205
  106. Cover the vent hole in the test plate with a clean lint free shop towel to prevent spray when air is applied. Apply air pressure to the appropriate clutch ports.
  107. CAUTION: The seals must be lapped correctly or internal leakage will occur.
    Fig 89: Correct Pump Shaft Seals Installed Position
    G02198206
  108. Install the new Teflon® seals on the pump shaft.
  109. Install the pump shaft.
    Fig 90: Installing Pump Shaft
    G02198207
  110. Install the manual valve detent lever.
    Fig 91: Installing Manual Valve Detent Lever
    G02198208
  111. Install the main control valve body over the pump shaft and connect the main control valve actuating rod while pushing down until it is seated on the chain cover.
    Fig 92: Installing Main Control Valve Body Over Pump Shaft
    G02198209
  112. CAUTION: Do not use the bolts to draw pump assembly and main control valve body onto the chain cover case. Component damage may occur.
    Fig 93: Installing Pump Assembly & Main Control Valve Body
    G02198210
  113. Use the valve body guide pins to install the pump assembly and main control valve body. Install the bolt and tighten in sequence.
  114. Connect the connectors.
    Fig 94: Connecting Connectors
    G02198211
  115. NOTE: The transaxle side cover gasket is reusable if not torn or ripped.
    Fig 95: Installing Side Cover Pan Gasket
    G02198212
  116. Remove the gasket. Clean and inspect the gasket. Reinstall into the pan.
  117. Install the pan.
    Fig 96: Installing Side Cover Pan
    G02198213
  118. Install the mount.
    Fig 97: Installing Mount
    G02198214
  119. Tighten the reverse clutch anchor bolt.
    1. Tighten the anchor bolt.
    2. Tighten the locknut.
    Fig 98: Tightening Reverse Clutch Anchor Bolt
    G02198215
  120. Install the new seal and gasket kit and seal assembly.
    Fig 99: Installing Gasket Kit & Seal Assembly
    G02198216
  121. Install the fluid pan magnet.
    Fig 100: Installing Fluid Pan Magnet
    G02198217
  122. NOTE: The gasket is reusable if not damaged or torn.
    Fig 101: Installing Transmission Fluid Pan
    G02198218
  123. Install the transmission fluid pan and gasket.
  124. Install the turbine shaft speed (TSS) sensor.
    1. Install the sensor.
    2. Install the bolt.
    Fig 102: Installing Turbine Shaft Speed (TSS) Sensor
    G02198219
  125. Verify that the shift selector lever is in NEUTRAL.
  126. Install the digital TR sensor and loosely install the bolts.
    Fig 103: Installing Digital TR Sensor
    G02198220
  127. Using the special tool, align the digital TR sensor and tighten the bolts.
    Fig 104: Aligning Digital TR Sensor
    G02198221
  128. Install the fluid filler tube with a new grommet.
    Fig 105: Installing Fluid Filler Tube
    G02198222
  129. Using the special tool install the LH output shaft seal.
    Fig 106: Installing LH Output Shaft Seal
    G02198223
  130. Using the special tool install the RH output shaft seal.
    Fig 107: Installing RH Output Shaft Seal
    G02198224
  131. Install the output shaft speed (OSS) sensor and reconnect the harness.
    Fig 108: Installing Output Shaft Speed (OSS) Sensor
    G02198225
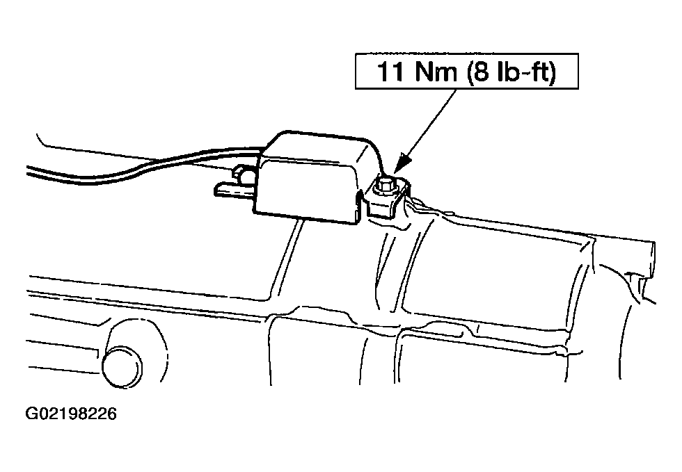
  132. Install the output shaft speed (OSS) sensor cover.
    Fig 109: Installing Output Shaft Speed (OSS) Sensor Cover
    G02198226
  133. Install the identification tag, if removed.
    Fig 110: Installing Identification Tag
    G02198227
  134. Using the special tools, install the torque converter.
    Fig 111: Installing Torque Converter
    G02198228