LEMON Manuals: Even more car manuals for everyone: 1960-2025
Home >> Ford >> 2002 >> Cutaway 6.8 S >> Repair and Diagnosis >> External Pages >> Different car >> Section 336 (Climate Control System) >> Diagnosis And Testing >> Climate Control System >> Symptom Chart >> Connector Circuit Reference >> Auxiliary A/C Relay
April 5, 2026: LEMON Manuals is launched! Read the announcement.

Auxiliary A/C Relay

WARNING: This page is about a different car, the 2003 Lincoln Aviator. However, it is still accessible from the selected car via links, so may be relevant.
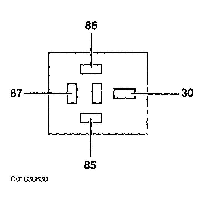
Fig 1: Connector Terminals Of Auxiliary A/C Relay
G01636830Courtesy of FORD MOTOR CO.
Fig 2: Connector Terminals Of Auxiliary A/C Relay Legend
G01636831Courtesy of FORD MOTOR CO.