LEMON Manuals: Even more car manuals for everyone: 1960-2025
Home >> Ford >> 2002 >> Escape 2.0 B, 4WD >> Repair and Diagnosis (Single Page) >> Quick Lookups >> Wiring Diagrams >> OEM Connector End Views >> Connector End Views >> Remote Keyless Entry Module Connector End View (C3140A)
April 5, 2026: LEMON Manuals is launched! Read the announcement.

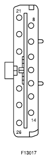
Remote Keyless Entry Module Connector End View (C3140A)

Fig 1: Remote Keyless Entry Module Connector End View (C3140A)
G10356137Courtesy of FORD MOTOR CO.
Pin Circuit Circuit function
1 875 (BK/LB) Ground
9 14 (BN) Power, Exterior lamps
10 137 (YE/BK) Voltage in Run or Accessory (overload protected)
11 ... not used
12 296 (WH/VT) Voltage supplied in Start and Run (overload protected)
13 1 (DB) Horn relay, control
14 ... not used
21 875 (BK/LB) Ground
22 517 (BK/WH) Voltage supplied at all times (overload protected)
23 875 (BK/LB) Ground
24 120 (PK/LG) Door unlock, switch, input
25 119 (PK/YE) Door lock switch, input
26 628 (WH) Side door, courtesy switch feed