LEMON Manuals: Even more car manuals for everyone: 1960-2025
Home >> Ford >> 2002 >> Escape 2.0 B, 4WD >> Repair and Diagnosis (Single Page) >> Quick Lookups >> Wiring Diagrams >> OEM Connector End Views >> Connector End Views >> Remote Keyless Entry Module Connector End View (C3140B)
April 5, 2026: LEMON Manuals is launched! Read the announcement.

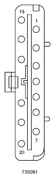
Remote Keyless Entry Module Connector End View (C3140B)

Fig 1: Remote Keyless Entry Module Connector End View (C3140B)
G10356138Courtesy of FORD MOTOR CO.
Pin Circuit Circuit function
1 ... not used
2 884 (YE/BK) Hot at all times
3 118 (PK/OG) Door lock relay, control
4 163 (RD/OG) Driver door unlock relay, switched power
5 117 (PK/BK) Door lock, output
6 121 (YE/BK) key pad common
7 53 (BK/LB) Interior lamp relay, switched power, output
15 ... not used
16 884 (YE/BK) Hot at all times
17 118 (PK/OG) Door lock relay, control
18 117 (PK/BK) Door lock, output
19 121 (YE/BK) Drain wire, Lock, output
20 53 (BK/LB) Interior lamp relay, switched power, output