LEMON Manuals: Even more car manuals for everyone: 1960-2025
Home >> Ford >> 2002 >> Escape 2.0 B, FWD >> Repair and Diagnosis >> External Pages >> Different car >> Section 475 (HVAC Control System) >> Diagnosis And Testing >> Climate Control System >> Pinpoint Test E: No Communication With The Electronic Automatic Temperature Control (EATC) Module >> Pinpoint Test E: No Communication With The Electronic Automatic Temperature Control (EATC) Module
April 5, 2026: LEMON Manuals is launched! Read the announcement.

Pinpoint Test E: No Communication With The Electronic Automatic Temperature Control (EATC) Module

WARNING: This page is about a different car, the 2004 Mercury Monterey and 2004 Ford Freestar. However, it is still accessible from the selected car via links, so may be relevant.
  1. E1 CHECK CIRCUIT 1203 (BK/LB) FOR AN OPEN 
    • Key in OFF position.
    • Disconnect: EATC Module C228a.
    • Measure the resistance between the EATC module C228a-1, circuit 1203 (BK/LB) and ground.
      Fig 1: Checking Circuit 1203 (BK/LB) For An Open
      G03245387Courtesy of FORD MOTOR CO.
    • Is the resistance less than 5 ohms? 

    Yes 

    GO to E2.

    No 

    REPAIR circuit 1203 (BK/LB). TEST the system for normal operation.

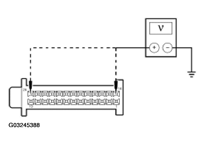
  2. E2 CHECK CIRCUITS 1001 (WH/YE) AND 1003 (GY/YE) FOR AN OPEN 
    • Key in ON position.
    • Measure the voltage between the EATC module C228a-26, circuit 1001 (WH/YE), C228a-14, circuit 1003 (GY/YE) and ground.
      Fig 2: Checking Circuits 1001 (WH/YE) And 1003 (GY/YE) For An Open
      G03245388Courtesy of FORD MOTOR CO.
    • Is the voltage greater than 10 volts? 

    Yes 

    GO to MODULE COMMUNICATIONS NETWORK to diagnose the network concern.

    No 

    REPAIR circuit 1001 (WH/YE) or 1003 (GY/YE) for an open. TEST the system for normal operation.