LEMON Manuals: Even more car manuals for everyone: 1960-2025
Home >> Ford >> 2002 >> Excursion 5.4 L, RWD >> Repair and Diagnosis >> External Pages >> Different car >> Section 1659 (Instrument Cluster System) >> Diagnostic Tests >> Instrument Cluster (IC) >> Pinpoint Tests >> Pinpoint Test Y: Diagnostic Trouble Code (DTC) B1360 Ignition RUN/ACC Circuit Open >> Pinpoint Test Y: Diagnostic Trouble Code (DTC) B1360 Ignition Run/Acc Circuit Open
April 5, 2026: LEMON Manuals is launched! Read the announcement.

Pinpoint Test Y: Diagnostic Trouble Code (DTC) B1360 Ignition Run/Acc Circuit Open

WARNING: This page is about a different car, the 2007 Lincoln Mark LT and 2007 Ford Pickup. However, it is still accessible from the selected car via links, so may be relevant.
CAUTION: Use the correct probe adapter(s) when making measurements. Failure to use the correct probe adapter(s) may damage the connector.
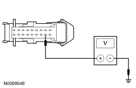
  1. Y1 CHECK CIRCUITS 1003 (GY/YE) AND (640 (RD/YE) FOR A SHORT TO VOLTAGE 
    • Key in OFF position.
    • Disconnect: Instrument Cluster C220a
    • Disconnect: Instrument Cluster C220b
    • Measure the voltage between the instrument cluster C220a-5, circuit 1003 (GY/YE), harness side and ground; and between the instrument cluster C220b-16, circuit 640 (RD/YE), harness side and ground.
    • Fig 1: Checking Circuits 1003 (GY/YE) And 640 (RD/YE) For Short To Voltage
      GF0004472Courtesy of FORD MOTOR CO.
    • Is any voltage present? 
    1. YES  : Go to  Y2.
    2. NO  : REPAIR the circuit in question. CLEAR the DTCs. REPEAT the self-test.
  2. Y2 CHECK CIRCUIT 489 (PK/BK) FOR VOLTAGE 
    • Key in ON position.
    • Measure the voltage between the instrument cluster C220b-17, circuit 489 (PK/BK), harness side and ground.
    • Fig 2: Checking Circuit 489 (PK/BK) For Voltage
      GF0004473Courtesy of FORD MOTOR CO.
    • Is the voltage greater than 10 volts? 
    1. YES  : Go to  Y3.
    2. NO  : REPAIR the circuit. CLEAR the DTCs. REPEAT the self-test.
  3. Y3 CHECK FOR CORRECT INSTRUMENT CLUSTER OPERATION 
    • Disconnect all instrument cluster connectors.
    • Check for:
      • corrosion
      • damaged pins
      • pushed-out pins
    • Connect all instrument cluster connectors and make sure they seat correctly.
    • Operate the system and verify the concern is still present.
    • Is the concern still present? 
    1. YES  : INSTALL a new instrument cluster. REFER to Instrument Cluster (IC)  in this article. TEST the system for normal operation.
    2. NO  : The system is operating correctly at this time. The concern may have been caused by a loose or corroded connector. CLEAR the DTCs. REPEAT the self-test.