LEMON Manuals: Even more car manuals for everyone: 1960-2025
Home >> Ford >> 2002 >> Expedition 5.4 L, RWD >> Repair and Diagnosis >> External Pages >> Different car >> Section 249 (Front Drive Axle/Differential) >> Disassembly And Assembly >> Axle - Front Drive >> Assembly
April 5, 2026: LEMON Manuals is launched! Read the announcement.

Axle - Front Drive: Assembly

WARNING: This page is about a different car, the 2003 Lincoln Navigator and 2003 Ford Expedition. However, it is still accessible from the selected car via links, so may be relevant.
    CAUTION: Do not omit the pinion bearing oil baffle; bearing failure can result.
    Fig 1: Positioning Baffle On Special Tool
    G01561018Courtesy of FORD MOTOR CO.
  1. If removed, position the baffle on the special tool.
  2. Using the special tool, install the baffle.
    Fig 2: Installing Baffle
    G01561019Courtesy of FORD MOTOR CO.
  3. NOTE: Always install new pinion bearings when installing new pinion bearing cups.
  4. Lightly oil the new pinion bearing cups and pinion bearings with front axle lubricant.
  5. Using the special tool, install the bearing cups.
    Fig 3: Installing Bearing Cups
    G01561020Courtesy of FORD MOTOR CO.
  6. NOTE: You must use the pinion bearings assembled in this procedure step at final assembly.
  7. Assemble and position the special tools and the pinion bearings in the carrier housing.
    1. Position the screw Adapter.
    2. Position the aligning Adapter.
    3. Position the pinion bearing.
    4. Position the gauge disc Adapter.
    5. Position the gauge block Adapter.
    6. Position the pinion bearing.
    7. Thread on the handle Adapter.
      Fig 4: Assembling And Positioning Special Tools And Pinion Bearings In Carrier Housing
      G01561021Courtesy of FORD MOTOR CO.
  8. NOTE: This step duplicates final pinion bearing preload.
    Fig 5: Tightening Special Tool To Specification To Simulate Bearing Preload
    G01561022Courtesy of FORD MOTOR CO.
  9. Tighten the special tool to the specification to simulate bearing preload.
  10. NOTE: Offset the gauge block Adapter to obtain an accurate reading.
    Fig 6: Rotating Gauge Block Adapter Several Half-Turns
    G01561023Courtesy of FORD MOTOR CO.
  11. Rotate the gauge block Adapter several half-turns to make sure the pinion bearings seat correctly, and position the gauge block Adapter.
  12. Install the special tool.
    1. Position the special tool.
    2. Install the differential bearing caps.
    3. Install the bolts.
      Fig 7: Installing Special Tool
      G01561024Courtesy of FORD MOTOR CO.
  13. NOTE: Use only flat, clean drive pinion bearing adjustment shims.
    NOTE: Selection of too thick a shim results in a deep tooth contact at final assembly of integral axle assemblies. Do not attempt to force the shim between the gauge block Adapter and the gauge tube Adapter. A slight drag indicates correct shim selection.
  14. Use a drive pinion bearing adjustment shim as a gauge for shim selection.
    • Check the adjustment shim thickness between the gauge block Adapter and the gauge tube Adapter.
    • After determining the correct shim thickness, remove the special tools.
      Fig 8: Checking Adjustment Shim Thickness Between Gauge Block Adapter And Gauge Tube Adapter
      G01561025Courtesy of FORD MOTOR CO.
  15. NOTE: You must use the same pinion bearings from the previous steps.
  16. Install the pinion bearing.
    • Place the drive pinion bearing adjustment shim on the pinion gear.
    • Using a suitable press and the special tool, press the pinion bearing until it is firmly seated on the pinion gear.
      Fig 9: Installing Pinion Bearing
      G01561026Courtesy of FORD MOTOR CO.
  17. Place a new drive pinion collapsible spacer on the pinion stem.
    Fig 10: Placing New Drive Pinion Collapsible Spacer On Pinion Stem
    G01561027Courtesy of FORD MOTOR CO.
  18. Install the outer pinion bearing.
    Fig 11: Installing Outer Pinion Bearing
    G01561028Courtesy of FORD MOTOR CO.
  19. Install the slinger.
    Fig 12: Installing Slinger
    G01561029Courtesy of FORD MOTOR CO.
  20. NOTE: Coat the lips of the pinion seal with front axle lubricant.
    Fig 13: Placing Pinion Seal On Special Tool
    G01561030Courtesy of FORD MOTOR CO.
  21. Place the pinion seal on the special tool.
  22. Place the special tool and seal in the pinion seal bore and drive the seal into place.
    Fig 14: Placing Special Tool And Seal In Pinion Seal Bore And Drive Seal Into Place
    G01561031Courtesy of FORD MOTOR CO.
  23. Lightly lubricate the pinion gear splines with front axle lubricant.
  24. Position the drive pinion in the housing.
    Fig 15: Positioning Drive Pinion In Housing
    G01561032Courtesy of FORD MOTOR CO.
  25. CAUTION: Never install the drive pinion universal joint flange with a hammer or power tools.
    NOTE: Disregard the scribe marks if installing a new flange.
    Fig 16: Aligning Index-Marks And Positioning Universal Joint Flange On Drive Pinion
    G01561033Courtesy of FORD MOTOR CO.
  26. Align the index-marks and position the universal joint flange on the drive pinion.
  27. Using the special tool, install the drive pinion universal joint flange.
    Fig 17: Installing Drive Pinion Universal Joint Flange
    G01561034Courtesy of FORD MOTOR CO.
  28. Apply a small amount of lubricant to the washer side of the new pinion nut, and install the nut.
  29. CAUTION: Do not loosen the pinion nut to reduce preload under any circumstance. If it is necessary to reduce preload, install a new drive pinion collapsible spacer and pinion nut.
  30. Install the special tool, and tighten the pinion nut. Refer to the torque specifications in the Specifications portion of this section.
    • Rotate the pinion gear occasionally to make sure the pinion bearings are seating correctly. Take frequent pinion bearing torque preload readings by rotating the pinion gear with a Nm (inch-pound) torque wrench.
      Fig 18: Install Special Tool And Tightening Pinion Nut
      G01561035Courtesy of FORD MOTOR CO.
      Fig 19: Measuring Preload
      G01561036Courtesy of FORD MOTOR CO.
  31. CAUTION: Use extreme care not to damage the aluminum differential carrier housing while carrying out the following procedure steps.
    CAUTION: The special tools are marked LH and RH. Install them accordingly.
    Fig 20: Installing Special Tools
    G01561037Courtesy of FORD MOTOR CO.
  32. Install the special tools.
  33. Install the differential case with the Differential Bearings Gauge in the differential carrier housing.
    Fig 21: Installing Differential Case With Differential Bearings Gauge In Differential Carrier Housing
    G01561038Courtesy of FORD MOTOR CO.
  34. NOTE: Repeat this step until you obtain a consistent reading.
  35. Measure the total end play.
    1. Position the special tools.
    2. Position the indicator tip on the machined surface and adjust it to measure full travel.
    3. Push the differential case left and right (as far as possible).
    4. Measure the total end play and record the reading on the Differential Bearing Shim Selection Procedure Worksheet, Line A, in this procedure.
      Fig 22: Measuring Total End Play And Recording Reading On Differential Bearing Shim
      G01561039Courtesy of FORD MOTOR CO.
  36. Remove the special tools and the differential case.
    Fig 23: Removing Special Tools And Differential Case
    G01561040Courtesy of FORD MOTOR CO.
  37. Use a fine flat file to remove any burrs or nicks from the ring gear mounting surface.
    Fig 24: Removing Any Burrs Or Nicks From Ring Gear Mounting Surface
    G01561041Courtesy of FORD MOTOR CO.
  38. Install the ring gear.
    1. Position three bolts to align the holes in the ring gear and the differential case.
    2. Using a suitable press, install the ring gear.
      Fig 25: Installing Ring Gear
      G01561042Courtesy of FORD MOTOR CO.
  39. Install the remaining bolts.
    Fig 26: Installing Remaining Bolts
    G01561043Courtesy of FORD MOTOR CO.
  40. Remove three adjacent bolts.
    Fig 27: Removing Adjacent Bolts
    G01561044Courtesy of FORD MOTOR CO.
  41. CAUTION: Position the three empty bolt holes downward.
    Fig 28: Positioning Differential Case With Special Tools Into Differential Carrier Housing
    G01561045Courtesy of FORD MOTOR CO.
  42. Position the differential case with the special tools into the differential carrier housing.
  43. Position the special tools.
    Fig 29: Positioning Special Tools
    G01561046Courtesy of FORD MOTOR CO.
  44. Push and rock the ring gear into mesh with the pinion gear (zero backlash) and adjust the special tool to zero.
    Fig 30: Adjusting Special Tool To Zero
    G01561047Courtesy of FORD MOTOR CO.
  45. Move the ring gear away from the pinion gear as far as possible. Record the reading on the Differential Bearing Shim Selection Procedure Worksheet, Line B, in this procedure.
    Fig 31: Recording reading on Differential Bearing Shim Selection Procedure Worksheet
    G01561048Courtesy of FORD MOTOR CO.
  46. Remove the special tools.
    Fig 32: Removing Special Tools
    G01561049Courtesy of FORD MOTOR CO.
  47. Remove the differential case and the special tools.
    Fig 33: Removing Differential Case And Special Tools
    G01561050Courtesy of FORD MOTOR CO.
  48. NOTE: Measure both of the differential bearing stand heights prior to installing them on the differential case.
    NOTE: Mark the left and right differential bearings before measuring them.
    Fig 34: Measuring Differential Bearing Stand Heights Prior To Installing Them On Differential Case
    G01561051Courtesy of FORD MOTOR CO.
  49. Clamp the special tool base in a soft jawed vise with the bearing mounting surface above the surface of the vise.
  50. Position the differential bearing assembly in the special tool, and tighten the tool.
    Fig 35: Positioning Differential Bearing Assembly In Special Tool
    G01561052Courtesy of FORD MOTOR CO.
  51. Measure the differential bearing stand height.
    1. Invert the special tool and bearing assembly in the vise.
    2. Use a depth micrometer to measure and record the differential bearing stand height.
    • Repeat the procedure for the other bearing.
      Fig 36: Measuring Differential Bearing Stand Height
      G01561053Courtesy of FORD MOTOR CO.
  52. Select appropriate differential bearing shims.
    Fig 37: Identifying Differential Bearing Shim Selection Chart (1 Of 3)
    G01561054Courtesy of FORD MOTOR CO.
    Fig 38: Identifying Differential Bearing Shim Selection Chart (2 Of 3)
    G01561055Courtesy of FORD MOTOR CO.
    Fig 39: Identifying Differential Bearing Shim Selection Chart (3 Of 3)
    G01561056Courtesy of FORD MOTOR CO.
  53. Select the appropriate shim by the thickness or the stripe color.
    Fig 40: Identifying Differential Shim Size Chart (1 Of 2)
    G01561057Courtesy of FORD MOTOR CO.
    Fig 41: Identifying Differential Shim Size Chart (2 Of 2)
    G01561058Courtesy of FORD MOTOR CO.
  54. Install the three bolts.
    Fig 42: Installing Bolts
    G01561059Courtesy of FORD MOTOR CO.
  55. CAUTION: Press against the bearing inner core only.
  56. Using a suitable press and the special tool, install the differential bearings.
    1. Position the appropriate differential bearing (RH or LH).
    2. Using a suitable press and the special tool, install the differential bearing.
    • Repeat the procedure for the other differential bearing.
      Fig 43: Installing Differential Bearing
      G01561060Courtesy of FORD MOTOR CO.
  57. NOTE: Make sure the indicator needle is in the spreader adapter hole.
    Fig 44: Assuring Indicator Needle Is In Spreader Adapter Hole
    G01561061Courtesy of FORD MOTOR CO.
  58. Install the special tools.
  59. CAUTION: Overspreading can damage the axle housing.
  60. Spread the axle housing to the specification.
    • Remove the Dial Indicator.
      Fig 45: Spreading Axle Housing To Specification
      G01561062Courtesy of FORD MOTOR CO.
  61. CAUTION: Never attempt to drive the differential bearing shim in place. Permanent damage to the machined axle housing surfaces can occur.
  62. If removed, position the differential bearing shims.
    1. Apply a light coating of long life grease to one side of the differential bearing shims to help hold them in place.
    2. Position the differential bearing shims.
      Fig 46: Positioning Differential Bearing Shims
      G01561063Courtesy of FORD MOTOR CO.
  63. NOTE: Push the differential case downward to fully seat the differential bearing cups in the axle housing.
  64. Position the differential case assembly.
    1. Position the differential bearing cups on the differential bearings.
    2. Lower the differential case assembly in place between the differential bearing shims.
      Fig 47: Positioning Differential Case Assembly
      G01561064Courtesy of FORD MOTOR CO.
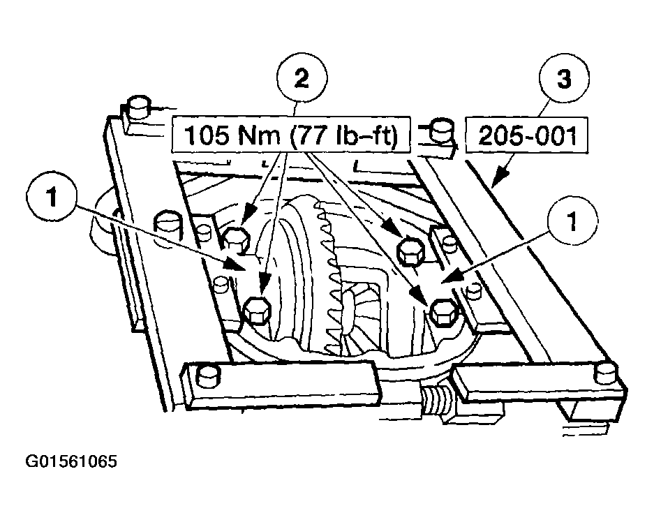
  65. Install the bearing caps in their original positions and tighten with the housing still spread.
    1. Position the bearing caps.
    2. Install the bolts.
    3. Remove the special tool.
      Fig 48: Installing Bearing Caps In Original Positions
      G01561065Courtesy of FORD MOTOR CO.
  66. Install the special tool.
    Fig 49: Installing Special Tool
    G01561066Courtesy of FORD MOTOR CO.
  67. Measure the ring gear backlash at four places to obtain a consistent reading.
    Fig 50: Measuring Ring Gear Backlash At Four Places
    G01561067Courtesy of FORD MOTOR CO.
  68. NOTE: If the backlash is not within the specifications, correct it by increasing the thickness of one differential bearing shim and decreasing the thickness on the other differential bearing shim by the same amount.
    Fig 51: Identifying Increased Backlash
    G01561068Courtesy of FORD MOTOR CO.
  69. To increase the backlash, install a thicker differential bearing shim and a thinner differential bearing shim as shown.
  70. To decrease the backlash, install a thicker differential bearing shim and a thinner differential bearing shim as shown.
    Fig 52: Identifying Decreased Backlash
    G01561069Courtesy of FORD MOTOR CO.
  71. CAUTION: Remove all of the old liquid gasket, and make sure the machined surfaces are free of oil before applying the new silicone rubber.
    CAUTION: Install the axle housing tube within 15 minutes of applying the silicone or it will be necessary to remove and reapply new sealant. If possible, allow one hour before filling with lubricant to make sure the silicone sealant has cured.
    CAUTION: Do not allow any silicone rubber to squeeze inside during assembly.
  72. Assemble the axle housing tube.
    • Align the bolt holes and position the axle tube.
    • Position the axle identification tag.
    • Install the bolts.
      Fig 53: Assembling Axle Housing Tube
      G01561070Courtesy of FORD MOTOR CO.
  73. Examine the axle shaft seal and bearing surface for damage. If necessary, polish the bearing surface with fine crocus cloth.
    Fig 54: Examining Axle Shaft Seal And Bearing Surface For Damage
    G01561071Courtesy of FORD MOTOR CO.
  74. Insert the axle shafts and engage them with the side gears.
    Fig 55: Inserting Axle Shafts And Engage Them With Side Gears
    G01561072Courtesy of FORD MOTOR CO.
  75. NOTE: Do not reuse the old snap rings.
    Fig 56: Installing New Snap Rings
    G01561073Courtesy of FORD MOTOR CO.
  76. Push in on the axle shafts and install new snap rings.
  77. Remove the axle assembly from the Holding Fixture and place it on the bench.
  78. CAUTION: Remove all of the old liquid gasket, and make sure the machined surfaces are free of oil before applying the new silicone rubber.
    CAUTION: Install the differential housing cover within 15 minutes of applying the silicone, or it will be necessary to remove and reapply new sealant. If possible, allow one hour before filling with lubricant to make sure the silicone sealant has cured.
    Fig 57: Filling Sealing Groove On Differential Housing Cover With Silicone Gasket And Sealant
    G01561074Courtesy of FORD MOTOR CO.
  79. Fill the sealing groove on the differential housing cover with silicone gasket and sealant.
  80. Install the differential housing cover.
    1. Position the differential housing cover.
    2. Install the bolts.
      Fig 58: Installing Differential Housing Cover
      G01561075Courtesy of FORD MOTOR CO.
  81. Fill the differential carrier housing, and install the fill plug.
    • Use front axle lubricant.
    • Be sure to tighten both the drain and fill plugs.
      Fig 59: Filling Differential Carrier Housing, And Installing Fill Plug
      G01561076Courtesy of FORD MOTOR CO.
  82. Install the front drive axle assembly. For additional information, refer to AXLE ASSEMBLY - FRONT DRIVE .