LEMON Manuals: Even more car manuals for everyone: 1960-2025
Home >> Ford >> 2002 >> Expedition 5.4 L, RWD >> Repair and Diagnosis >> Transmission >> Automatic Trans >> Automatic Transmission >> Assembly >> Transmission >> Assembly Procedure
April 5, 2026: LEMON Manuals is launched! Read the announcement.

Assembly Procedure

NOTE: Soak all friction clutch plates in clean automatic transmission fluid.
NOTE: Prior to installation, lightly lubricate all O-ring seals with clean automatic transmission fluid.
NOTE: Lightly lubricate all thrust washers with petroleum jelly to hold them in place during assembly.
  1. Mount the transmission case into suitable stand.
  2. If removed, use the special tool to install the short fluid inlet tube.
    Fig 1: Installing Short Fluid Inlet Tube
    G03443929Courtesy of FORD MOTOR CO.
  3. CAUTION: If equipped, use care not to mislaying the reverse clutch piston in the case bore.
    NOTE: Coat the reverse clutch piston seals with petroleum jelly.
    Fig 2: Installing Reverse Clutch Piston In Case
    G03443930Courtesy of FORD MOTOR CO.
  4. Install the reverse clutch piston in the case until it is fully seated in the case.
  5. CAUTION: The low/reverse clutch inner race is vehicle-dependent. Refer to parts catalog for the correct parts.
    NOTE: Clock position is viewed looking into the converter housing with the top of the transmission in the 12 o'clock position.
    Fig 3: Installing Reverse Clutch Return Spring Assembly
    G03443931Courtesy of FORD MOTOR CO.
  6. Install the reverse clutch return spring assembly.
    1. Install the reverse clutch return spring assembly.
    2. Install the low/reverse one-way clutch inner race.
    3. Make sure that the lubrication hole on the face is in the 5 o'clock position.
  7. Install two 5/16-24 x 3 inch bolts with nuts in to the low/reverse one-way clutch inner race.
    1. Hold the nut.
    2. Turn the bolt to compress the low/reverse piston return spring.
    Fig 4: Installing Two Bolts Into Low/Reverse One-Way Clutch Inner Race
    G03443932Courtesy of FORD MOTOR CO.
  8. Install three of the one-way clutch inner race bolts and remove the two 5/16-24 x 3 bolts.
    Fig 5: Installing Three One-Way Clutch Inner Race Bolts
    G03443933Courtesy of FORD MOTOR CO.
  9. NOTE: Alternate tightening bolts from one side to the other (not in a circle).
    Fig 6: Installing Remaining Bolts Retaining Low/Reverse One-Way Clutch Inner Race To Case
    G03443934Courtesy of FORD MOTOR CO.
  10. Install the remaining bolts retaining the low/reverse one-way clutch inner race to the case.
  11. CAUTION: The low/reverse clutch, one-way clutch is vehicle-dependent. Refer to parts catalog for the correct parts.
    NOTE: When the reverse clutch and the low one-way clutch are installed, the reverse clutch should rotate clockwise. The one-way clutch will hold and not let the clutch hub rotate counterclockwise.
    Fig 7: Installing Reverse Clutch Hub & Low One-Way Clutch Assembly
    G03443935Courtesy of FORD MOTOR CO.
  12. Install the reverse clutch hub and the low one-way clutch assembly over the low/reverse one-way clutch inner race by pressing the hub inward and rotating it clockwise to seat fully.
  13. CAUTION: The number of plates is vehicle-dependent.
    NOTE: No stack-up clearance measurement is required.
    NOTE: Clock position is viewed looking into the converter housing with the top of the transmission in the 12 o'clock position.
    Fig 8: Installing Reverse Clutch Pack Assembly
    G03443936Courtesy of FORD MOTOR CO.
  14. Install the reverse clutch pack assembly.
    1. Install the cushion spring.
    2. Install the reverse clutch plates starting with an external spline steel plate and alternating with internal splined friction plates.
    3. Install the reverse clutch pressure plate.
    4. Install the reverse clutch pressure plate retainer snap ring with the ring opening between the 12 o'clock and 3 o'clock positions.
  15. NOTE: Apply petroleum jelly to the No. 13 parking gear bearing to hold it in place.
    Fig 9: Installing No. 13 Parking Gear Bearing
    G03443937Courtesy of FORD MOTOR CO.
  16. Install the No. 13 parking gear bearing.
  17. CAUTION: Use care not to damage the output shaft drive sprocket speed sensor wheel. This will cause an incorrect reading at the output shaft speed (OSS) sensor, which will cause a repeat repair.
    Fig 10: Installing Output Shaft
    G03443938Courtesy of FORD MOTOR CO.
  18. Install the output shaft.
  19. NOTE: Lubricate the thrust bearing with petroleum jelly to hold it in place during assembly.
    Fig 11: Installing No. 12 Thrust Bearing Onto Rear Surface Of Hub Assembly
    G03443939Courtesy of FORD MOTOR CO.
  20. Install the No. 12 thrust bearing onto the rear surface of the hub assembly.
  21. Install the output shaft ring gear assembly.
    Fig 12: Installing Output Shaft Ring Gear Assembly
    G03443940Courtesy of FORD MOTOR CO.
  22. WARNING: Do not overextend the output shaft retaining ring during installation. Make sure the output shaft retaining ring is securely seated in the groove. Failure to follow these instructions may result in personal injury.
    Fig 13: Installing Output Shaft Retaining Ring Onto Output Shaft
    G03443941Courtesy of FORD MOTOR CO.
  23. Install the new output shaft retaining ring onto the output shaft.
  24. Install the reverse planet assembly.
    1. Install the No. 11 thrust washer.
    2. Install the reverse planet.
    3. Install the No. 10B thrust washer.
    Fig 14: Installing Reverse Planet Assembly
    G03443942Courtesy of FORD MOTOR CO.
  25. Install the reverse planet retaining ring into the reverse clutch hub, making sure the retaining ring is fully seated.
    Fig 15: Installing Reverse Planet Retaining Ring Into Reverse Clutch Hub
    G03443943Courtesy of FORD MOTOR CO.
  26. NOTE: The large outer diameter radius of the needle bearing must be installed facing inward.
    NOTE: Lightly lubricate the needle bearing with petroleum jelly to hold it in place during assembly.
    Fig 16: Installing No. 8B Forward Clutch Needle Bearing
    G03443944Courtesy of FORD MOTOR CO.
  27. Verify the No. 8B forward clutch needle bearing is installed.
  28. Install the forward clutch cylinder assembly onto the intermediate brake drum by rotating it until fully seated.
    Fig 17: Installing Forward Clutch Cylinder Assembly Onto Intermediate Brake Drum
    G03443945Courtesy of FORD MOTOR CO.
  29. NOTE: Lightly lubricate the thrust bearing with petroleum jelly to hold it in place during assembly.
    Fig 18: Installing No. 9A Forward Clutch Thrust Bearing
    G03443946Courtesy of FORD MOTOR CO.
  30. Verify the No. 9A forward clutch thrust bearing is installed (black side facing up).
  31. NOTE: Lightly lubricate the thrust washer with petroleum jelly to hold it in place during assembly.
    Fig 19: Placing No. 8C Forward Clutch Hub Thrust Washer Onto Forward Hub And Ring Gear Assembly
    G03443947Courtesy of FORD MOTOR CO.
  32. Place the No. 8C forward clutch hub thrust washer onto the forward hub and ring gear assembly.
  33. Place the forward hub and ring gear assembly into the intermediate brake drum and forward clutch cylinder assemblies.
    Fig 20: Placing Forward Hub & Ring Gear Assembly Into Intermediate Brake Drum
    G03443948Courtesy of FORD MOTOR CO.
  34. NOTE: Lightly lubricate the thrust bearing with petroleum jelly to hold it in place during assembly.
    Fig 21: Installing No. 10A Forward Planet Assembly Thrust Bearing
    G03443949Courtesy of FORD MOTOR CO.
  35. Verify the No. 10A forward planet assembly thrust bearing is installed.
  36. Place the forward planet assembly into the forward hub and ring gear assembly.
    Fig 22: Placing Forward Planet Assembly Into Forward Hub & Ring Gear Assembly
    G03443950Courtesy of FORD MOTOR CO.
  37. NOTE: The thrust bearing notched inner race must face outward and the large outer diameter radius must face inward.
    Fig 23: Installing No. 9B Forward Clutch Thrust Bearing
    G03443951Courtesy of FORD MOTOR CO.
  38. Verify the No. 9B forward clutch thrust bearing is installed.
  39. Align the notches with the lugs and position the input shell onto the intermediate brake drum. Rotate the input shell until fully seated.
    Fig 24: Aligning Notches With Lugs & Positioning Input Shell Onto Intermediate Brake Drum
    G03443952Courtesy of FORD MOTOR CO.
  40. NOTE: When installing the special tool, each leg of the tool must be rotated separately to engage notches on the input shell, prior to tightening the top cross bar.
    Fig 25: Lowering Direct Clutch, Forward Clutch & Input Shell Into Case
    G03443953Courtesy of FORD MOTOR CO.
  41. Using the special tool, lower the direct clutch, forward clutch and input shell as an assembly into the case.
  42. Install the intermediate band with the ear resting on the anchor pin.
    Fig 26: Installing Intermediate Band With Ear Resting On Anchor Pin
    G03443954Courtesy of FORD MOTOR CO.
  43. NOTE: Prior to installation, lightly lubricate the piston seal with clean automatic transmission fluid.
    Fig 27: Pressing Intermediate Band Servo Assembly Piston Into Case Bore
    G03443955Courtesy of FORD MOTOR CO.
  44. Gently press the intermediate band servo assembly piston into the case bore.
  45. NOTE: Clock position is viewed looking into the converter housing with the top of the transmission in the 12 o'clock position.
    Fig 28: Installing Intermediate Clutch Pack
    G03443956Courtesy of FORD MOTOR CO.
  46. Install the intermediate clutch pack.
    1. Install the intermediate clutch pressure plate.
    2. Install the intermediate clutch pack starting with an internal spline plate and alternating with external spline plates.
    3. Install the intermediate clutch pressure apply plate with blank area (no teeth) in the 6 o'clock and 12 o'clock positions.
  47. NOTE: The following stack-up check measurement indicates not only the amount of space existing between the center support assembly and the intermediate brake drum, it also will indicate if the unit has been correctly built to this point.
    Fig 29: Measuring Stack Up
    G03443957Courtesy of FORD MOTOR CO.
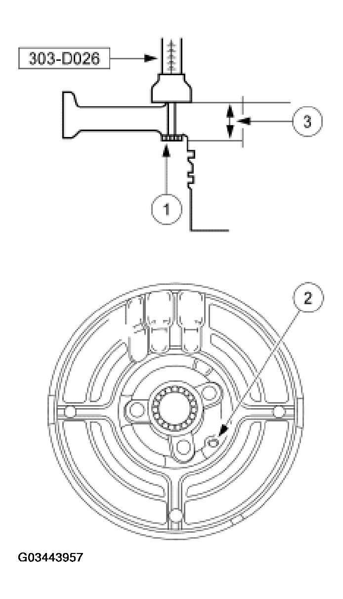
  48. Measure the stack up.
    1. Hold the thrust washer against the center support assembly.
    2. Extend the probe of the special tool into the hole until flush with the No. 6 center support thrust washer surface.
    3. Record this as reading 1.
  49. CAUTION: Do not mislaying the center support in the case bore. This can cause case bore damage.
    NOTE: Make sure the No. 6 center support thrust washer is on the center support prior to installation.
    Fig 30: Installing Center Support Assembly With Feed Holes Aligning Case
    G03443958Courtesy of FORD MOTOR CO.
  50. Install the center support assembly with the feed holes aligned in the case.
  51. Make a second measurement after installation of the center support.
    1. Extend the probe of the special tool into the hole in the center support assembly until flush with the No. 6 center support thrust washer.
    2. Record this as reading 2.
    Fig 31: Making Second Measurement
    G03443959Courtesy of FORD MOTOR CO.
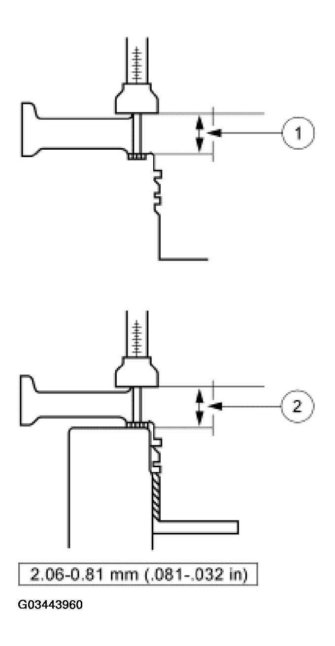
  52. Subtract reading 1 from reading 2. Record this as reading 3. If the final dimension is outside specified limits, this indicates that the transmission has been assembled incorrectly.
    Fig 32: Identifying Specified Limits Of Dimension
    G03443960Courtesy of FORD MOTOR CO.
  53. CAUTION: Do not tighten the bolts at this time. This could cause transmission failure.
    Fig 33: Installing Feedbolts
    G03443961Courtesy of FORD MOTOR CO.
  54. Loosely install two new feedbolts.
  55. NOTE: Clock position is viewed looking into the converter housing with the top of the transmission in the 12 o'clock position.
    Fig 34: Installing Intermediate Clutch Return Spring
    G03443962Courtesy of FORD MOTOR CO.
  56. Install the intermediate clutch return spring with the dished surface inward and one spring leg in the 6 o'clock position.
  57. CAUTION: Do not mislaying the intermediate/overdrive cylinder assembly. This can damage the case bore.
    Fig 35: Installing Intermediate/Overdrive Cylinder Assembly
    G03443963Courtesy of FORD MOTOR CO.
  58. Install the intermediate/overdrive cylinder assembly with the feed holes aligned with the holes in the case.
  59. NOTE: Clock position is viewed looking into the converter housing with the top of the transmission in the 12 o'clock position.
    Fig 36: Installing Intermediate/Overdrive Cylinder Retaining Ring
    G03443964Courtesy of FORD MOTOR CO.
  60. Install the intermediate/overdrive cylinder retaining ring over the intermediate/overdrive cylinder with the ring opening in the 6 o'clock position to allow for the correct fluid drainback.
  61. Install the special tool.
    1. Rotate the special tool clockwise to lock in place.
    2. Tighten the handle.
    Fig 37: Installing Special Tool (307-S223)
    G03443965Courtesy of FORD MOTOR CO.
  62. CAUTION: Make sure the snap ring is fully seated into the case. Transmission failure could occur.
    NOTE: Clock position is viewed looking into the converter housing with the top of the transmission in the 12 o'clock position.
    Fig 38: Seating Intermediate/Overdrive Cylinder Retaining Ring Into Case Ring Groove
    G03443966Courtesy of FORD MOTOR CO.
  63. Seat the intermediate/overdrive cylinder retaining ring into the case ring groove with the ring opening in the 6 o'clock position.
  64. CAUTION: Do not tighten the bolts at this time. Transmission failure could occur.
    Fig 39: Installing Intermediate/Overdrive Cylinder Feedbolt
    G03443967Courtesy of FORD MOTOR CO.
  65. Loosely install a new intermediate/overdrive cylinder feedbolt.
  66. Loosen the center bolt and remove the special tool.
    Fig 40: Removing Special Tool (307-S223)
    G03443968Courtesy of FORD MOTOR CO.
  67. NOTE: The special tool must be used to install the coast clutch assembly or damage to the overdrive one-way clutch may occur.
    NOTE: Use petroleum jelly to hold the No. 5 thrust bearing on the center shaft during assembly.
    Fig 41: Installing Coast Clutch & No. 5 Thrust Bearing Assembly
    G03443969Courtesy of FORD MOTOR CO.
  68. Using the special tool, install the coast clutch and No. 5 thrust bearing assembly.
    1. Install the No. 5 thrust bearing.
    2. Install the coast clutch assembly.
  69. NOTE: The number of plates in the clutch pack is vehicle-dependent.
    NOTE: Clock position is viewed looking into the converter housing with the top of the transmission in the 12 o'clock position.
    Fig 42: Installing Overdrive Clutch Pack
    G03443970Courtesy of FORD MOTOR CO.
  70. Install the overdrive clutch pack.
    1. Install the overdrive clutch pack starting with a steel plate and alternating with friction plates.
    2. Install the overdrive clutch pressure plate with the dot facing outward and in the 12 o'clock position.
  71. NOTE: Clock position is viewed looking into the converter housing with the top of the transmission in the 12 o'clock position.
    Fig 43: Installing Overdrive Clutch Pressure Plate Retainer Snap Ring
    G03443971Courtesy of FORD MOTOR CO.
  72. Install the overdrive clutch pressure plate retainer snap ring with the ring opening in the 6 o'clock position.
  73. Check the stack-up clearance.
    • Using a feeler gauge, check the stack-up clearance in 3 places, 120 degrees apart.
    • If the clearance is not to specification, install the correct selective overdrive clutch pressure plate retainer snap ring and recheck the clearance. Refer to the CLUTCH PLATE USAGE AND CLEARANCE SPECIFICATION CHART  for selective snap ring thicknesses and part numbers.
    Fig 44: Checking Stack-Up Clearance
    G03443972Courtesy of FORD MOTOR CO.
  74. NOTE: Lightly lubricate the gasket with petroleum jelly to hold it in place during assembly.
    Fig 45: Installing Pump Gasket
    G03443973Courtesy of FORD MOTOR CO.
  75. Install the new pump gasket. Aligning the holes in the gasket with the holes in the case.
  76. Install the input shaft with long splined end first and install the special tool.
    Fig 46: Installing Input Shaft & Special Tool
    G03443974Courtesy of FORD MOTOR CO.
  77. NOTE: Lightly lubricate the thrust washer and bearing with petroleum jelly to hold it in place during assembly.
    Fig 47: Installing No. 1 Pump Thrust Washer & No. 2A Overdrive Sun Gear Thrust Bearing
    G03443975Courtesy of FORD MOTOR CO.
  78. Install the No. 1 pump thrust washer and the No. 2A overdrive sun gear thrust bearing.
  79. CAUTION: Pump assemblies are vehicle-dependent. Using the wrong pump will cause transmission failure.
    CAUTION: Fully seat the front pump assembly using hand pressure only. Do not use bolts to draw the front pump assembly into the case.
    CAUTION: Tighten the bolts alternately to avoid possible damage.
    NOTE: Clock position is viewed looking into the converter housing with the top of the transmission in the 12 o'clock position.
    Fig 48: Removing Special Tool (307-222)
    G03443976Courtesy of FORD MOTOR CO.
  80. Install the front pump assembly with the filter inlet tube bore in the 6 o'clock position. Fully seat the front pump assembly using hand pressure only. When the pump is fully seated, remove the special tool.
  81. CAUTION: Discard the old washers.
    Fig 49: Installing Bolts With Rubber-Coated Washers
    G03443977Courtesy of FORD MOTOR CO.
  82. Install the bolts with new rubber-coated washers. Tighten the bolts alternately in a crisscross pattern.
  83. CAUTION: Remove the input shaft prior to rotating the transmission.
    Fig 50: Removing Input Shaft
    G03443978Courtesy of FORD MOTOR CO.
  84. Remove the input shaft.
  85. Using the special tool, install the manual control lever seal.
    Fig 51: Installing Manual Control Lever Seal
    G03443979Courtesy of FORD MOTOR CO.
  86. Install the manual control lever shaft assembly.
    1. Install the manual control lever shaft assembly.
    2. Install and seat the manual lever shaft retaining pin below the case surface.
    3. NOTE: Use a crescent wrench on the manual control lever or outer flats of the manual control lever shaft assembly when installing the inner manual valve detent lever nut.
    4. Install the parking pawl actuating rod, the inner manual valve detent lever and the nut onto the manual control lever shaft assembly.
    5. NOTE: The manual control valve detent lever spring must be on the inner manual valve detent lever and the detent lever pin must align with the manual shift valve.
      Fig 52: Installing Manual Control Lever Shaft Assembly
      G03443980Courtesy of FORD MOTOR CO.
    6. Install the manual control valve detent lever spring and the bolt.
  87. Install the park pawl.
    1. Install the parking pawl shaft.
    2. Install the parking pawl.
    3. Install the parking pawl return spring.
    Fig 53: Installing Park Pawl, Shaft & Return Spring
    G03443981Courtesy of FORD MOTOR CO.
  88. CAUTION: The Torx® screw has a thread-locking compound. If the screw is removed, it must be discarded and a new one installed.
    Fig 54: Installing Parking Pawl Abutment With Torx® Screw
    G03443982Courtesy of FORD MOTOR CO.
  89. If removed, install the parking pawl abutment with a new Torx® screw.
  90. NOTE: Make sure the dimple on the parking guide support plate is facing inward and the parking pawl actuating rod is in the parking rod support plate slot.
    Fig 55: Installing Parking Rod Guide Plate & Bolts
    G03443983Courtesy of FORD MOTOR CO.
  91. Install the parking rod guide plate.
    1. Install the parking rod guide plate.
    2. Install the bolts.
  92. Install a new orifice lube plug in the rear of the case. Using a 12 mm (0.48 in) socket, tap the orifice lube plug into the back of the transmission.
    Fig 56: Installing Orifice Lube Plug In Rear Of Case
    G03443984Courtesy of FORD MOTOR CO.
  93. Check to make sure that the orifice lube plug is fully seated into the back of the transmission.
    Fig 57: Ensuring Orifice Lube Plug Is Fully Seated Into Back Of Transmission
    G03443985Courtesy of FORD MOTOR CO.
  94. CAUTION: The extension must have a shoulder or a boss cast in it to hold the orifice lube plug in the back of the case. If the wrong extension housing is used the plug will fall out and cause transmission failure.
    Fig 58: Inspecting Extension Housing For Correct Application
    G03443986Courtesy of FORD MOTOR CO.
  95. Inspect the extension housing for the correct application.
  96. CAUTION: The extension must have a shoulder or a boss cast in it to hold the orifice lube plug in the back of the case. If the wrong extension housing is used the plug may become loose and/or fall out and cause transmission damage.
    NOTE: Lightly lubricate the gasket with petroleum jelly to hold it in place during assembly.
    Fig 59: Installing Extension Housing Gasket
    G03443987Courtesy of FORD MOTOR CO.
  97. Install the new extension housing gasket.
    1. Verify that the extension has a shoulder cast in it.
    2. Install the new extension housing gasket.
  98. Install the extension housing, the eight bolts, and the stud.
    Fig 60: Installing Extension Housing, Bolts & Stud
    G03443988Courtesy of FORD MOTOR CO.
  99. CAUTION: Prior to installing the extension housing bushing, inspect the extension housing counter bore for burrs. If necessary, remove the burrs with an oil stone. Damage to the new bushing may occur.
    NOTE: Extension housing bushing is vehicle-dependent. Refer to the parts catalog for correct part.
    Fig 61: Aligning Extension Housing Bushing In Extension Housing
    G03443989Courtesy of FORD MOTOR CO.
  100. Align the extension housing bushing in the extension housing so that the slots are in the 2 o'clock and 7 o'clock position.
  101. Using the special tool, install the extension housing bushing.
    Fig 62: Installing Extension Housing Bushing
    G03443990Courtesy of FORD MOTOR CO.
  102. NOTE: Extension seal is vehicle-dependent. Refer to the parts catalog for correct part.
    Fig 63: Installing Extension Housing Seal
    G03443991Courtesy of FORD MOTOR CO.
  103. Using the special tool, install a new extension housing seal.
  104. Tighten the center support assembly, and the intermediate/overdrive cylinder assembly feedbolts.
    Fig 64: Tightening Center Support Assembly & Intermediate/Overdrive Cylinder Assembly Feedbolts
    G03443992Courtesy of FORD MOTOR CO.
  105. NOTE: The steel EPC check ball has a 6.35 mm (0.25 in) diameter and is smaller than the other check balls.
    Fig 65: Installing Spring & Steel EPC Check Ball
    G03443993Courtesy of FORD MOTOR CO.
  106. Install the spring and the steel EPC check ball.
  107. CAUTION: Use care not to damage the rubber check balls.
    Fig 66: Installing Rubber Check Balls
    G03443994Courtesy of FORD MOTOR CO.
  108. Install the rubber check balls.
  109. CAUTION: Refer to the parts catalog for correct gasket. Using the incorrect gasket will cause damage to transmission.
    Fig 67: Installing Separating Plate-To-Case Gasket On Separating Plate
    G03443995Courtesy of FORD MOTOR CO.
  110. Install a new separating plate-to-case gasket on the separating plate.
  111. NOTE: Check the placement of the steel EPC check ball under separator plate.
    Fig 68: Installing Valve Body Separator Plate
    G03443996Courtesy of FORD MOTOR CO.
  112. Install the valve body separator plate.
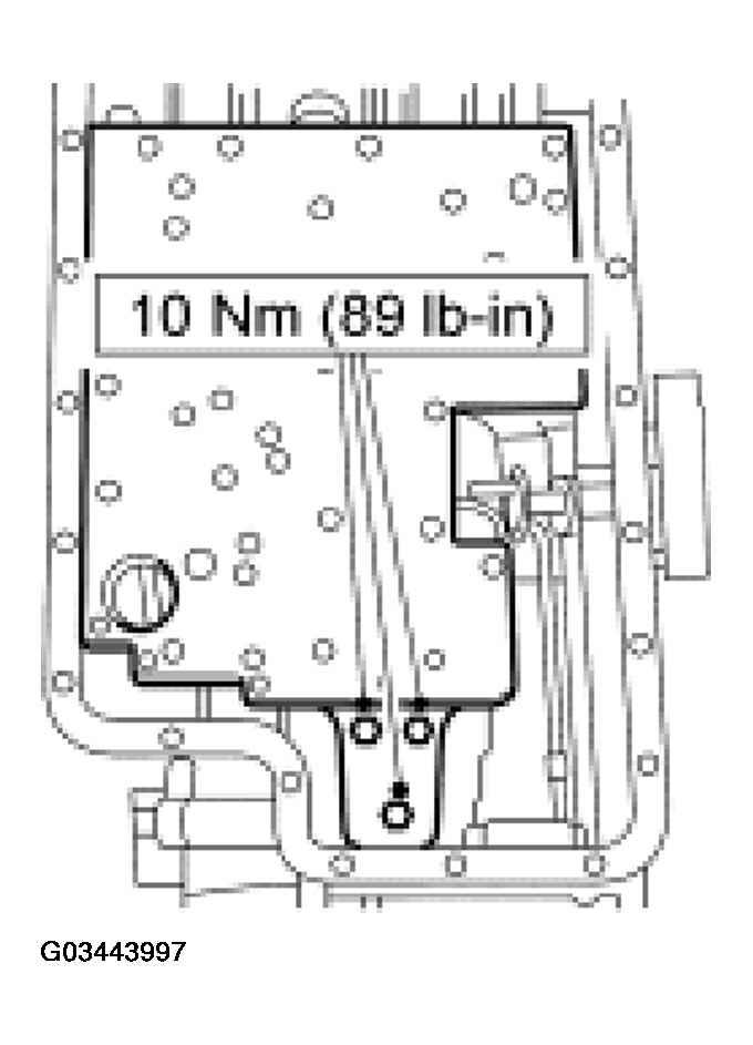
  113. Install the separating plate reinforcing plate, with the stamped word UP visible, and install the bolts.
    Fig 69: Installing Separating Plate Reinforcing Plate & Bolts
    G03443997Courtesy of FORD MOTOR CO.
  114. CAUTION: Refer to the parts catalog for the correct gasket. Using the incorrect gasket will cause damage to the transmission.
    Fig 70: Installing Main Control-To-Separating Plate Gasket
    G03443998Courtesy of FORD MOTOR CO.
  115. Install a new main control-to-separating plate gasket.
  116. Install the solenoid screen assembly by pushing it in and rotating it to lock.
    Fig 71: Installing Solenoid Screen Assembly
    G03443999Courtesy of FORD MOTOR CO.
  117. NOTE: Prior to installing the solenoid body assembly, coat the case connector bore with petroleum jelly or equivalent.
    Fig 72: Installing Solenoid Body Assembly With Nut & Torx® Bolts
    G03444000Courtesy of FORD MOTOR CO.
  118. Install the solenoid body assembly with the nut and the Torx® bolts finger-tight.
  119. Install the main control valve body, aligning the manual shift valve with the inner manual valve detent lever. Install the nuts and the bolts finger-tight.
    Fig 73: Installing Main Control Valve Body
    G03444001Courtesy of FORD MOTOR CO.
  120. Install the accumulator body with the nuts and the bolts finger-tight.
    Fig 74: Installing Accumulator Body With Nuts & Bolts
    G03444002Courtesy of FORD MOTOR CO.
  121. Tighten all accumulator body, upper and lower control body and solenoid body nuts and bolts.
    Fig 75: Tightening Accumulator Body, Upper & Lower Control Body & Solenoid Body Nuts & Bolts
    G03444003Courtesy of FORD MOTOR CO.
  122. CAUTION: Mixing the 4x2-style and 4x4-style transmission fluid filters and transmission pan assembly components can cause transmission damage.
    Fig 76: Selecting Filter Assembly & Transmission Pan
    G03444004Courtesy of FORD MOTOR CO.
  123. Select the appropriate 4x2-style or 4x4-style filter assembly and transmission pan.
    1. 4x2 filter and pan application.
    2. 4x4 filter and pan application.
  124. CAUTION: Make sure the pump bore is clean and the oil filter seal has been removed. Damage to new filter and seal can occur.
    NOTE: Prior to installation, lightly lubricate the seal with clean automatic transmission fluid.
    Fig 77: Installing Fluid Filter & Seal Assembly Into Pump Bore
    G03444005Courtesy of FORD MOTOR CO.
  125. Install a new fluid filter and seal assembly into the pump bore until seated.
  126. NOTE: Do not discard the gasket unless damaged. This is a reusable gasket.
    Fig 78: Positioning Gasket & Magnet
    G03444006Courtesy of FORD MOTOR CO.
  127. Position the gasket onto the clean fluid pan. Make sure the magnet is positioned over the dimple in the fluid pan.
  128. CAUTION: Mixing the 4x2-style and 4x4-style transmission fluid filters and transmission pan assembly components can cause transmission damage.
    Fig 79: Installing Pan With Gasket & Bolts
    G03444007Courtesy of FORD MOTOR CO.
  129. Install the correct pan with gasket for this application. Alternately tighten the bolts.
  130. With the transmission in NEUTRAL, install and adjust the digital transmission range (TR) sensor.
    1. Install the digital TR sensor.
    2. Loosely install the bolts.
    Fig 80: Installing Digital TR Sensor & Bolts
    G03444008Courtesy of FORD MOTOR CO.
  131. Using the special tool, align the TR sensor.
    Fig 81: Aligning TR Sensor
    G03444009Courtesy of FORD MOTOR CO.
  132. Tighten the bolts and remove the special tool.
    Fig 82: Tightening Bolts & Removing Special Tool
    G03444010Courtesy of FORD MOTOR CO.
  133. Make sure that the cooler bypass valve (CBV) has been cleaned and flushed. For additional information, refer to COOLER BYPASS VALVE ASSEMBLY  in this article.
  134. CAUTION: Failure to correctly install the new rubber-coated sealing washers will result in transmission fluid leaks.
    Fig 83: Installing Rubber-Coated Sealing Washers & Cooler Line Case Fittings
    G03444011Courtesy of FORD MOTOR CO.
  135. Install the new rubber-coated sealing washers and the new cooler line case fittings.
    1. Install one rubber-coated sealing washers on each cooler line case fittings.
    2. Install new cooler line case fittings into their respective ends of the CBV assembly.
    3. Install one rubber-coated sealing washers on each cooler line case fittings.
  136. CAUTION: Do not over-tighten. Damage to the sealing washers can occur.
    Fig 84: Installing CBV With Front (Inlet) & Rear (Outlet) Cooler Line Case Fitting
    G03444012Courtesy of FORD MOTOR CO.
  137. Install the CBV with the front (inlet) and the rear (outlet) cooler line case fitting.
  138. CAUTION: Use care when installing the sensor, damage to the O-ring could result in a leak.
    Fig 85: Installing Output Shaft Speed (OSS) Sensor & Bolt
    G03444013Courtesy of FORD MOTOR CO.
  139. Install the output shaft speed (OSS) sensor.
    1. Lubricate O-ring and install the OSS.
    2. Install the bolt.
  140. CAUTION: Use care when installing the sensor, damage to the O-ring could result in a leak.
    Fig 86: Installing Turbine Shaft Speed (TSS) Sensor & Bolt
    G03444014Courtesy of FORD MOTOR CO.
  141. If removed, install the turbine shaft speed (TSS) sensor.
    1. Lubricate O-ring and install the TSS.
    2. Install the bolt.
  142. NOTE: The input shaft is vehicle-dependent. Refer to the parts catalog for correct part.
    Fig 87: Installing Input Shaft
    G03444015Courtesy of FORD MOTOR CO.
  143. With the fluid pan facing down, install the input shaft with the long splined end first.
  144. CAUTION: Do not damage the fluid pump gear O-ring when installing torque converter.
    CAUTION: Make sure the converter hub is fully engaged in the front pump support and gear and rotates freely. Do not damage the hub seal.
    CAUTION: If the torque converter slides out, the hub seal may be damaged.
    Fig 88: Lubricating Converter Hub
    G03444016Courtesy of FORD MOTOR CO.
  145. Lubricate the converter hub with clean automatic transmission fluid.
  146. CAUTION: Use care when installing the torque converter to avoid damage to the front pump stator support seal.
    NOTE: Check the converter crankshaft pilot for nicks or damaged surfaces that can cause interference when installing the transmission to the engine. Check the converter impeller hub for nicks or sharp edges that can damage the pump seal.
    NOTE: Carry the torque converter with the Torque Converter Handles held in the 6 o'clock and 12 o'clock positions.
    Fig 89: Installing Torque Converter
    G03444017Courtesy of FORD MOTOR CO.
  147. Using the special tools, install the torque converter. Push and rotate the converter onto the front pump assembly until it bottoms out.
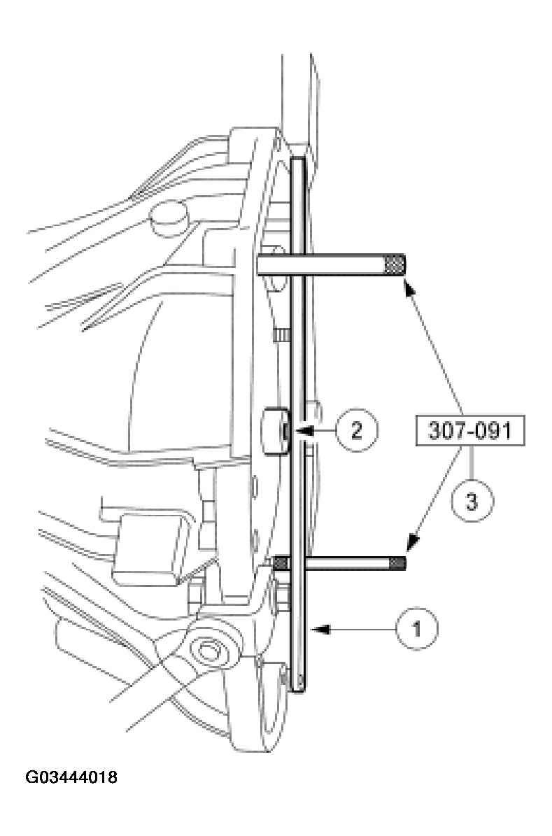
  148. Check the seating of the torque converter.
    1. Place the straightedge across the converter housing.
    2. Make sure there is a gap between the converter pilot face and the straightedge.
    3. Remove the special tools.
    Fig 90: Checking Seating Of Torque Converter
    G03444018Courtesy of FORD MOTOR CO.