LEMON Manuals: Even more car manuals for everyone: 1960-2025
Home >> Ford >> 2002 >> F 150 2WD Pickup V8-4.6L >> Repair and Diagnosis >> Powertrain Management >> Computers and Control Systems >> Transmission Position Sensor/Switch >> Service and Repair >> 4R70W
April 5, 2026: LEMON Manuals is launched! Read the announcement.

4R70W

Digital Transmission Range (TR) Sensor

Special Tools:





Special Tool(s)

1. Disconnect the battery ground cable.
2. Raise and support the vehicle.





3. Disconnect the digital TR electrical connector.





4. CAUTION: Do not pry on the swivel tube to disconnect the transmission shift linkage.

Disconnect the manual lever shift control cable.





5. CAUTION: Discard outer manual control lever shaft nut Do not reuse. The old nut will not retain torque specification.

Remove the manual control lever.
1 Remove the nut.
2 Remove the lever.





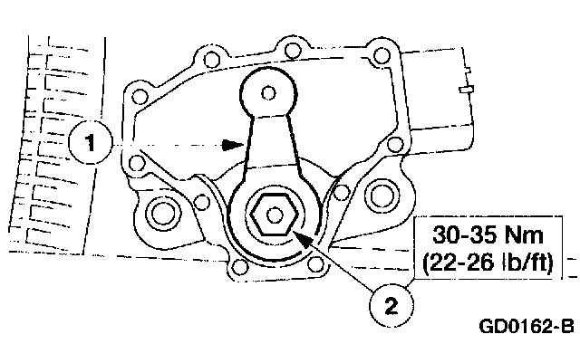
6. Loosen the digital TR sensor bolts.





7. NOTE: Manual shift lever must be in the neutral position.

Using the special tool, align the digital TR sensor slots. The tool is designed to fit snag.





8. Tighten the bolts.





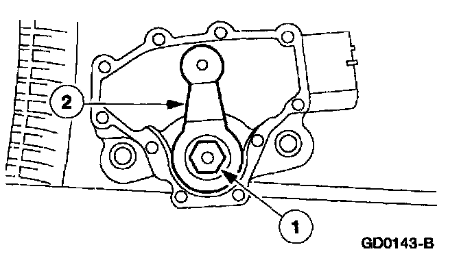
9. Install the manual control lever.
1 Position the manila] control lever.
2 Install a new manual lever shaft outer nut.





10. With the manual lever in overdrive connect the shift lever control cable.





11. Install the digital TR sensor electrical connector.
12. Lower the vehicle.

13. NOTE: When the battery is disconnect and reconnected, some abnormal drive symptoms may occur while the vehicle relearns its adaptive strategy. The vehicle may need to be driven 16 km (10 miles) or more to relearn the strategy.

Connect the battery ground cable.