LEMON Manuals: Even more car manuals for everyone: 1960-2025
Home >> Ford >> 2002 >> Focus S2 >> Repair and Diagnosis >> Transmission >> Automatic Trans >> Automatic Transmission >> Disassembly And Assembly Of Subassemblies >> Forward Clutch >> Assembly
April 5, 2026: LEMON Manuals is launched! Read the announcement.

Forward Clutch: Assembly

  1. Soak the internal spline clutch plates in clean automatic transmission fluid for 15 minutes before assembly.
  2. Inspect the forward clutch piston bore surfaces for nicks or scratches. Install a new balance piston if necessary.
  3. Lubricate and install the forward clutch piston assembly.
    Fig 1: Installing Forward Clutch Piston Assembly
    G03433376Courtesy of FORD MOTOR CO.
  4. Install the forward piston return spring.
    Fig 2: Installing Forward Piston Return Spring
    G03433377Courtesy of FORD MOTOR CO.
  5. Lubricate and install the forward clutch balance piston.
    Fig 3: Installing Forward Clutch Balance Piston
    G03433378Courtesy of FORD MOTOR CO.
  6. Using the special tool, install the forward clutch assembly in a suitable press.
    Fig 4: Installing Forward Clutch Assembly
    G03433379Courtesy of FORD MOTOR CO.
  7. Using the special tool, install the forward clutch balance piston snap ring.
    Fig 5: Installing Forward Clutch Balance Piston Snap Ring
    G03433380Courtesy of FORD MOTOR CO.
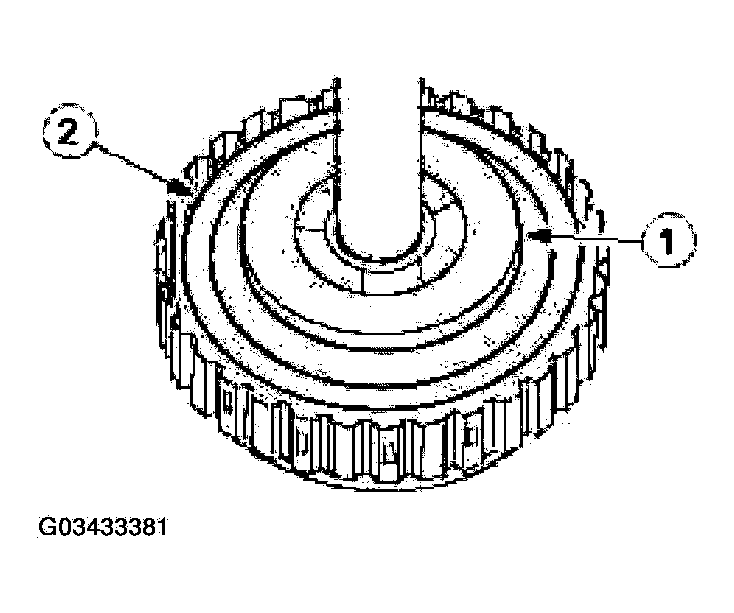
  8. Install the forward clutch pressure, friction and steel plates.
    1. Install the plates.
    2. Install the retaining ring.
      • Check the clearance. For additional information, refer to SPECIFICATIONS .
        Fig 6: Installing Forward Clutch Pressure, Friction And Steel Plates
        G03433381Courtesy of FORD MOTOR CO.