LEMON Manuals: Even more car manuals for everyone: 1960-2025
Home >> Ford >> 2002 >> Focus ZTW, Automatic >> Repair and Diagnosis >> External Pages >> Different car >> Section 1362 (Cruise Control System) >> Diagnosis And Testing >> Speed Control >> Pinpoint Tests >> Pinpoint Test A: The Speed Control is Inoperative >> Pinpoint Test A: The Speed Control Is Inoperative
April 5, 2026: LEMON Manuals is launched! Read the announcement.

Pinpoint Test A: The Speed Control Is Inoperative

WARNING: This page is about a different car, the 2006 Mercury Grand Marquis and 2006 Ford Crown Victoria. However, it is still accessible from the selected car via links, so may be relevant.
  1. A1 RETRIEVE THE RECORDED PCM DTCs FROM BOTH THE CONTINUOUS AND ON-DEMAND SELF-TESTS 
    • Check for recorded PCM DTCs from the continuous and on-demand self-tests.
    • Are any PCM DTCs recorded? 

    Yes  : REFER to the POWERTRAIN CONTROL MODULE (PCM) DIAGNOSTIC TROUBLE CODE (DTC) INDEX .

    No  : GO to A2.

  2. A2 CHECK THE OPERATION OF THE STOPLAMPS 
    • Key in ON position.
    • Operate the stoplamps.
    • Do the stoplamps operate correctly? 

    Yes  : GO to A3.

    No  : REFER to EXTERIOR LIGHTING to continue diagnosis of the stoplamps.

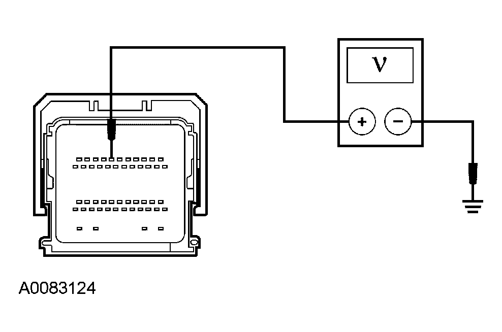
  3. A3 CHECK THE SPEED CONTROL DEACTIVATOR SWITCH FOR CORRECT OPERATION 
    • Key in OFF position.
    • Disconnect: PCM C175b.
    • While firmly applying and releasing the brake pedal, measure the voltage between the PCM C175b-7, circuit 636 (OG), harness side and ground.
      Fig 1: Measuring Voltage Between PCM C175B-7, Circuit 636 (OG), Harness Side And Ground
      G04584962Courtesy of FORD MOTOR CO.
    • Is the voltage greater than 10 volts with the brake pedal released and 0 volts with the brake pedal firmly applied? 

    Yes  : GO to A4.

    No  : GO to PINPOINT TEST B .

  4. A4 CHECK THE SPEED CONTROL SWITCHES 
    • Key in OFF position.
    • Disconnect: PCM C175b.
    • Measure the resistance between the PCM C175b-19, circuit 151 (LB/BK), harness side and the PCM C175b-30, circuit 848 (DG/OG), harness side while pressing the speed control buttons as follows:
      SPEED CONTROL SWITCH RESISTANCE SPECIFICATIONS

      Speed Control Switch Resistance Value
      OFF Less than 5 ohms
      COAST 276 - 324 ohms
      SET/ACCEL 552 - 648 ohms
      RESUME 1,021 - 1,199 ohms
      ON 1,941 - 2,278 ohms
      No switch pressed 3,965 - 4,655 ohms
      Fig 2: Measuring Resistance Between PCM C175b-19, Circuit 151 (LB/BK) And PCM C175b-30, Circuit 848 (DG/OG)
      G04584963Courtesy of FORD MOTOR CO.
    • Are the speed control switch resistance values OK? 

    Yes  : GO to A5.

    No  : INSTALL a new speed control switch. REFER to SPEED CONTROL SWITCH . TEST the system for normal operation.

  5. A5 CHECK THE DIGITAL TR SENSOR 
    • Connect: PCM C175b.
    • Key in ON position.
    • Enter the following diagnostic mode on the scan tool: PID Data Monitor and Record.
    • Monitor the TR sensor PID.
    • Select DRIVE.
    • Does the PID value agree with the transmission range selector lever position? 

    Yes  : GO to A6.

    No  : REFER to AUTOMATIC TRANSAXLE/TRANSMISSION to continue diagnosis of the digital TR sensor.

  6. A6 CHECK THE VEHICLE SPEED 
    NOTE: This step may require an assistant.
    • Enter the following diagnostic mode on the scan tool: Anti-Lock Brake System (ABS) Wheel Speed PID.
    • Monitor and record the ABS module wheel speed PID while driving the vehicle at 48 km/h (30 mph) as indicated on the speedometer.
    • Enter the following diagnostic mode on the scan tool: PCM Vehicle Speed PID.
    • Monitor and record the PCM vehicle speed PID while driving the vehicle at 48 km/h (30 mph).
    • Does the speed indicated by the ABS module wheel speed PID match the PCM vehicle speed PID? 

    Yes  : GO to A7.

    No  : REFER to the INTRODUCTION - GASOLINE article to diagnose the output shaft sensor (OSS) signal.

  7. A7 CHECK FOR CORRECT PCM OPERATION 
    • Disconnect all the PCM connectors.
    • Check for:
      • corrosion
      • pushed-out pins
    • Connect all the PCM connectors and make sure they seat correctly.
    • Operate the system and verify the concern is still present.
    • Is the concern still present? 

    Yes  : INSTALL a new PCM. REFER to ELECTRONIC ENGINE CONTROLS . TEST the system for normal operation.

    No  : The system is operating correctly at this time. The concern may have been caused by a loose or corroded connector.