LEMON Manuals: Even more car manuals for everyone: 1960-2025
Home >> Ford >> 2002 >> Ranger 2WD L4-2.3L VIN D >> Repair and Diagnosis >> Powertrain Management >> Computers and Control Systems >> Information Bus >> Service and Repair
April 5, 2026: LEMON Manuals is launched! Read the announcement.

Information Bus: Service and Repair

Communication Circuit Wiring Repair


Heat Gun:






SPECIAL TOOL(S)

1. Disconnect the battery ground cable.







2. Strip the wires.







3. Solder the wires.
1 Install the heat shrink tube.
2 Twist the wires together.
3 Solder the wires together.

NOTE: Use Rosin Core Mildly Activated (RMA) solder, not acid core solder.







4. Bend the wires back in a straight line.

NOTE: Wait for the solder to cool before moving the wires.







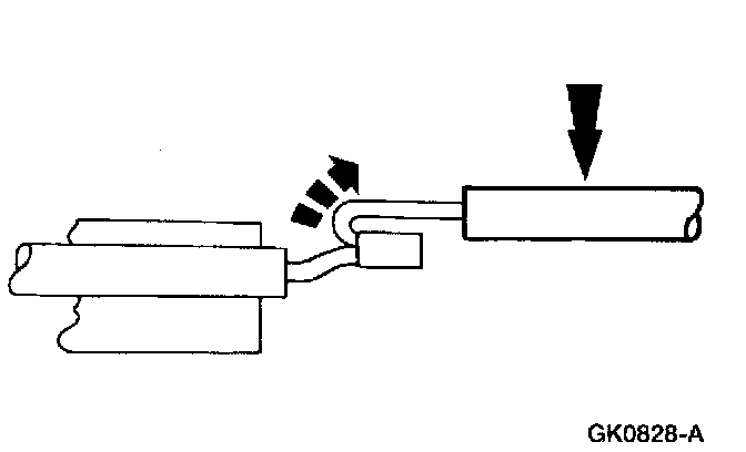
5. Position the (A) heat shrink tube over the (B) wire repair.
^ Overlap the heat shrink tube on both wires.







6. Use the heat gun to heat the repaired area until adhesive flows out both ends of the heat shrink tube.
7. Reconnect the battery ground cable.