LEMON Manuals: Even more car manuals for everyone: 1960-2025
Home >> Ford >> 2002 >> Taurus SES, 3.0 2, AX4S >> Repair and Diagnosis (Single Page) >> External Pages >> Different car >> Section 1541 (Module Communications Network System) >> General Procedures >> Communication Circuit Wiring Repair >> Special Tool(s)
April 5, 2026: LEMON Manuals is launched! Read the announcement.

Special Tool(s)

WARNING: This page is about a different car, the 2005 Lincoln Town Car. However, it is still accessible from the selected car via links, so may be relevant.
SPECIAL TOOL

G03890770
Heat Gun 107-R0300 or equivalent
  1. Disconnect the battery ground cable. For additional information, Refer to BATTERY, MOUNTING AND CABLES .
  2. Strip the wires.
    Fig 1: Stripping Wires
    G04003643Courtesy of FORD MOTOR CO.
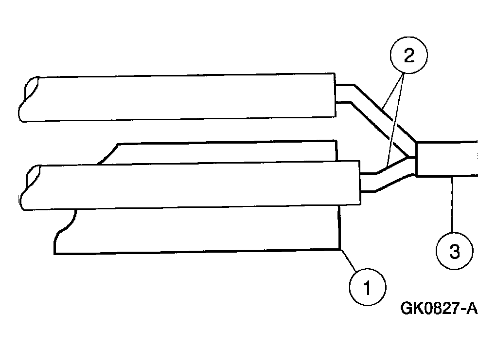
  3. NOTE: Use rosin core mildly activated (RMA) solder, not acid core solder.
    Fig 2: Soldering Wires
    G04003644Courtesy of FORD MOTOR CO.
  4. Solder the wires.
    1. Install the heat shrink tube.
    2. Twist the wires together.
    3. Solder the wires together.
  5. NOTE: Wait for the solder to cool before moving the wires.
    Fig 3: Bending Wires Back In Straight Line
    G04003645Courtesy of FORD MOTOR CO.
  6. Bend the wires back in a straight line.
  7. Position the (A) heat shrink tube over the (B) wire repair.
    • Overlap the heat shrink tube on both wires.
    Fig 4: Positioning Heat Shrink Tube Over Wire Repair
    G04003646Courtesy of FORD MOTOR CO.
  8. Use the heat gun to heat the repaired area until adhesive flows out both ends of the heat shrink tube.
  9. Reconnect the battery ground cable.
Fig 5: Locating Heat Shrink Tube
G04003647Courtesy of FORD MOTOR CO.