LEMON Manuals: Even more car manuals for everyone: 1960-2025
Home >> Ford >> 2002 >> Windstar Base >> Repair and Diagnosis >> Electrical >> Starter >> Starting System >> Component Tests >> Starter Interrupt Relay
April 5, 2026: LEMON Manuals is launched! Read the announcement.

Starter Interrupt Relay

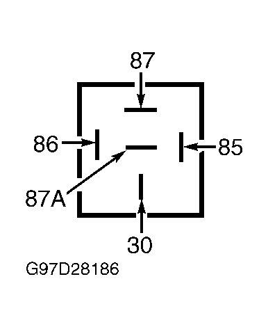
  1. Remove the starter interrupt relay from battery junction box. Check relay continuity. Continuity should exist between relay terminals No. 85 and 86, and between relay terminals No. 30 and 87a. See Fig 1. Continuity should not exist between relay terminals No. 30 and 87. If continuity is as specified, go to next step. If continuity is not as specified, replace relay.
  2. Using a jumper wire, apply battery voltage to relay terminal No. 85. Using a second jumper wire, ground relay terminal No. 86. Continuity should now exist between relay terminals No. 30 and 87. If continuity is not as specified, replace relay. If continuity is as specified, relay is okay at this time.
Fig 1: Identifying Starter Interrupt Relay Terminals
G97D28186Courtesy of FORD MOTOR CO.