LEMON Manuals: Even more car manuals for everyone: 1960-2025
Home >> Ford >> 2002 >> Windstar Base >> Repair and Diagnosis >> Engine Mechanical >> Mechanical >> Engine - 3.8L >> Assembly >> Engine >> Material
April 5, 2026: LEMON Manuals is launched! Read the announcement.

Engine - 3.8L: Assembly: Engine: Material

MATERIAL SPECIFICATION CHART

Item Specification
Super Premium
SAE 5W-20 Motor Oil
WSS-M2C153-H
Metal Surface Cleaner
F4AZ-19A536-RA
WSE-M5B392-A
Silicone Gasket and Sealant
F7AZ-19554-EA
WSE-M4G323-A4
CAUTION: The moving components must be lubricated with engine oil before assembly.
CAUTION: The components with oil holes must be correctly aligned with the oil feed holes.
  1. If necessary, install the following:
    1. The cylinder block dowels.
    2. The oil gallery plugs.
    3. The water jacket plugs.
      Fig 1: Installing Oil Gallery Plugs
      G03425188Courtesy of FORD MOTOR CO.
  2. If equipped, install the engine coolant heater.
  3. Install the engine dynamic balance shaft bearings.
    Fig 2: Installing Engine Dynamic Balance Shaft Bearings
    G03425189Courtesy of FORD MOTOR CO.
  4. Install the camshaft bearings.
    • Use special tool 303-017.
      Fig 3: Installing Camshaft Bearings
      G03425190Courtesy of FORD MOTOR CO.
  5. Install the following:
    1. The engine dynamic balance shaft bearing cover.
    2. The camshaft bearing cover.
      Fig 4: Installing Camshaft Bearing Cover
      G03425191Courtesy of FORD MOTOR CO.
  6. Install the (A) camshaft and the (B) camshaft spacer.
    Fig 5: Installing Camshaft And Camshaft Spacer
    G03425192Courtesy of FORD MOTOR CO.
  7. Install the camshaft thrust plate.
    1. Position the camshaft thrust plate.
    2. Install the bolts.
      Fig 6: Installing Camshaft Thrust Plate
      G03425193Courtesy of FORD MOTOR CO.
  8. Turn the camshaft so that the timing mark is at 12 o'clock and install the engine dynamic balance shaft assembly into the cylinder block. Turn the engine balance shaft driven gear so that the timing mark lines up with the timing mark on the engine balance shaft drive gear.
    Fig 7: Turning Engine Balance Shaft Driven Gear
    G03425194Courtesy of FORD MOTOR CO.
  9. NOTE: If correctly aligned, the engine dynamic balance shaft keyway will be at 12 o'clock and the camshaft keyway will be at 6 o'clock on the camshaft.
    Fig 8: Tightening Bolts With Torque Specification
    G03425195Courtesy of FORD MOTOR CO.
  10. Install the bolts.
  11. CAUTION: Make sure the components are installed in the correct location.
    NOTE: Lubricate the crankshaft main bearings prior to installation.
    Fig 9: Installing Upper Crankshaft Main Bearings
    G03425196Courtesy of FORD MOTOR CO.
  12. Install the upper crankshaft main bearings and the upper crankshaft thrust main bearing.
  13. CAUTION: The crankshaft journals must be protected from damage when installing the crankshaft.
    Fig 10: Positioning Crankshaft
    G03425197Courtesy of FORD MOTOR CO.
    CAUTION: The main bearings are precision selective fit. Inspect the bearing clearance. Refer to ENGINE SYSTEM-GENERAL INFORMATION .
  14. Position the crankshaft.
  15. NOTE: If the rear main bearing cap is not installed within four minutes, remove the sealant and reapply.
  16. Clean the rear main bearing cap sealing area thoroughly and apply sealant to the (A) rear main bearing cap to cylinder block parting line.
    • Use metal surface cleaner.
      Fig 11: Identifying Dimension Of Main Bearing Cap
      G03425198Courtesy of FORD MOTOR CO.
  17. Install the main bearing caps. Tighten the bolts in two stages.
    • Stage 1: Tighten to 55 N.m (41 lb-ft.).
    • Stage 2: Rotate an additional 90 degrees.
      Fig 12: Installing Main Bearing Caps
      G03425199Courtesy of FORD MOTOR CO.
  18. NOTE: Lubricate the crankshaft rear seal lips with clean engine oil prior to installation.
    Fig 13: Assembling Special Tools And Crankshaft Rear Seal
    G03425200Courtesy of FORD MOTOR CO.
  19. Assemble the special tools and the crankshaft rear seal.
  20. Install the special tools on the rear of the crankshaft.
    Fig 14: Installing Special Tools On Rear Of Crankshaft
    G03425201Courtesy of FORD MOTOR CO.
  21. Install the crankshaft rear seal. Tighten the center jack screw (303-S560) until the spacer (303-561) contacts the engine block.
    Fig 15: Installing Crankshaft Rear Seal
    G03425202Courtesy of FORD MOTOR CO.
  22. Use a piston ring compressor to compress the piston ring.
    Fig 16: Compressing Piston Ring
    G03425203Courtesy of FORD MOTOR CO.
  23. CAUTION: Inspect the piston clearance. Refer to ENGINE SYSTEM-GENERAL INFORMATION .
    CAUTION: Do not damage the cylinder wall with the sharp edges of the connecting rod.
    Fig 17: Installing Piston With Arrow On Piston Face Pointing Toward Front Of Engine
    G03425204Courtesy of FORD MOTOR CO.
  24. Install the piston with the arrow on the piston face pointing toward the front of the engine.
  25. CAUTION: Inspect the connecting rod bearing clearance. Refer to ENGINE SYSTEM-GENERAL INFORMATION .
    CAUTION: The connecting rod cap will fit only one way.
    Fig 18: Position Lower Connecting Rod Bearing And Rod Cap
    G03425205Courtesy of FORD MOTOR CO.
  26. Position the (A) lower connecting rod bearing and the (B) connecting rod cap on the connecting rod and the crankshaft journal.
  27. Install the rod caps. Tighten the rod cap bolts in three stages.
    • Stage 1: Tighten to 25 N.m (18 lb-ft.).
    • Stage 2: Tighten to 45 N.m (33 lb-ft.).
    • Stage 3: Tighten an additional 90-120 degrees.
      Fig 19: Tightening Rod Cap Bolts
      G03425206Courtesy of FORD MOTOR CO.
  28. Install the remaining pistons and the connecting rods.
  29. Install the oil pan baffle.
    • Install the nuts.
      Fig 20: Installing Oil Pan Baffle
      G03425207Courtesy of FORD MOTOR CO.
  30. Install the oil pump screen cover and tube.
    • Install the new gasket.
    • Position the oil pump screen cover and tube.
    • Install the bolts.
    • Install the nut.
      Fig 21: Installing Oil Pump Screen Cover And Tube
      G03425208Courtesy of FORD MOTOR CO.
  31. Install the timing chain tensioner.
    1. Position the timing chain tensioner.
    2. Install the bolts.
      Fig 22: Installing Timing Chain Tensioner
      G03425209Courtesy of FORD MOTOR CO.
  32. Retract the tensioner pad retracting mechanism.
    1. Compress the tensioner pad retracting mechanism.
    2. Insert a retaining pin.
      Fig 23: Compressing Tensioner Pad Retracting Mechanism
      G03425210Courtesy of FORD MOTOR CO.
  33. Rotate the crankshaft so the number one piston is at top dead center (TDC) and the key is at the 12 o'clock position.
    Fig 24: Rotating Crankshaft
    G03425211Courtesy of FORD MOTOR CO.
  34. Turn the balance shaft drive gear so that the key is on the bottom of the camshaft.
    Fig 25: Turning Balance Shaft Drive Gear
    G03425212Courtesy of FORD MOTOR CO.
  35. Install the timing chain, the camshaft sprocket and the crankshaft sprocket as an assembly.
    Fig 26: Installing Timing Chain
    G03425213Courtesy of FORD MOTOR CO.
  36. CAUTION: All timing marks must be aligned with the No. 1 cylinder set on top dead center (TDC) of the compression stroke or the synchronizer assembly will not be installed correctly.
    NOTE: The crankshaft must not be turned until the camshaft synchronizer is installed.
    Fig 27: Aligning Timing Marks And Keyways
    G03425214Courtesy of FORD MOTOR CO.
  37. Make sure the timing marks and the keyways are aligned.
  38. Install the camshaft position sensor drive gear.
    • Position the camshaft position sensor drive gear.
    • Install the bolt.
      Fig 28: Installing Camshaft Position Sensor Drive Gear
      G03425215Courtesy of FORD MOTOR CO.
  39. Remove the retaining pin.
    Fig 29: Removing Retaining Pin
    G03425216Courtesy of FORD MOTOR CO.
    CAUTION: The components removed should be marked for location. Make sure the used parts are installed in the correct location.
  40. Install a new RH and LH head gasket on the cylinder block with the small hole to the front of the engine and position the RH and LH cylinder head.
    Fig 30: Installing A New RH And LH Head Gasket On Cylinder Block And Positioning Cylinder Head
    G03425217Courtesy of FORD MOTOR CO.
  41. CAUTION: Always use new bolts.
    NOTE: Lubricate the bolts with clean engine oil prior to installation. Make sure the bolts are installed in the correct location.
  42. Install the new bolts.
    1. Install new long bolts.
    2. Install new short bolts.
      Fig 31: Installing New Bolts
      G03425218Courtesy of FORD MOTOR CO.
  43. Tighten the bolts in the sequence shown in three stages.
    • Stage 1: Tighten to 20 N.m (14 lb-ft.).
    • Stage 2: Tighten to 40 N.m (29 lb-ft.).
    • Stage 3: Tighten to 50 N.m (36 lb-ft.).
      Fig 32: Cylinder Head Bolt Torque Sequence
      G03425219Courtesy of FORD MOTOR CO.
  44. CAUTION: Do not loosen all of the bolts at one time. Each bolt must be loosened and tightened prior to working on the next bolt in the sequence.
  45. Tighten the bolts in sequence in four stages: short bolts numbered 2, 4, 6 and 8:
    • Stage 1: Tighten to 25 N.m (18 lb-ft.).
    • Stage 2: Tighten an additional 175-185 degrees.

      Long bolts numbered 1, 3, 5 and 7:

    • Stage 3: Tighten to 45 N.m (33 lb-ft.).
    • Stage 4: Tighten an additional 175-185 degrees.
      Fig 33: Cylinder Head Bolt Torque Sequence
      G03425220Courtesy of FORD MOTOR CO.
  46. NOTE: Lubricate the valve tappets with clean engine oil prior to installing.
  47. Install the valve tappets.
    • Install the valve tappets.
    • Install the tappet guide plates and retainers.
    • Install the bolts.
      Fig 34: Installing Tappet Guide Plates And Retainers
      G03425221Courtesy of FORD MOTOR CO.
  48. NOTE: Lubricate the push rods with clean engine oil prior to installation.
    Fig 35: Installing Push Rods
    G03425222Courtesy of FORD MOTOR CO.
  49. Install the 12 push rods.
  50. Install the 12 rocker arms. Refer to ROCKER ARM .
  51. NOTE: Use pipe sealer on studs No. 4 and 6, and bolt No. 12.
  52. Install the engine front cover and engine front cover gasket.
    • Position a new engine front cover gasket and the engine front cover on the dowels.
    • Install a 135.5 mm (5.42 in) stud at location No. 5 and tighten to 7 N.m (62 lb-in).
    • Install a 137 mm (5.48 in) stud at locations No. 4, 6, 7 and 10, and tighten to 7 N.m (62 lb-in).
    • Install the water pump with a new gasket.
    • Tighten bolt No. 12 to 10 N.m (89 lb-in). All other nuts and bolts are to be tightened to 28 N.m (21 lb-ft.).
    • Tighten the nuts and bolts in the sequence shown.
      Fig 36: Engine Front Cover Tightening Sequence
      G03425223Courtesy of FORD MOTOR CO.
  53. NOTE: Lubricate the parts with clean engine oil before assembly.
    Fig 37: Installing Front Crankshaft Oil Seal
    G03425224Courtesy of FORD MOTOR CO.
  54. Using the special tool, install the front crankshaft oil seal.
  55. Install the crankshaft position sensor.
    Fig 38: Installing Crankshaft Position Sensor
    G03425225Courtesy of FORD MOTOR CO.
  56. Apply a bead of sealant to the keyway in the crankshaft damper and use the special tool to position and install the crankshaft damper.
    Fig 39: Installing Crankshaft Damper
    G03425226Courtesy of FORD MOTOR CO.
  57. Install the crankshaft pulley bolt.
    Fig 40: Installing Crankshaft Pulley Bolt
    G03425227Courtesy of FORD MOTOR CO.
  58. CAUTION: After installation, do not loosen the synchronizer bolt and rotate the synchronizer assembly. The synchronizer assembly is not adjustable. Do not loosen the synchronizer bolt after the alignment tool has been removed in order to align the CMP electrical connector for any reason. If the electrical connector is not in the correct position, the synchronizer assembly must be removed, the alignment tool and the assembly reinstalled if the engine has not been rotated from top dead center (TDC) of the compression stroke on the No. 1 cylinder.
    CAUTION: A Synchronizer Alignment Gauge must be used during the installation of the synchronizer assembly. Failure to follow this procedure will result in the fuel system being out of time with the engine, possibly causing engine damage.
    Fig 41: Installing Special Tool On Camshaft Synchronizer
    G03425228Courtesy of FORD MOTOR CO.
  59. Install the special tool on the camshaft synchronizer by rotating the tool until it engages the notch in the camshaft synchronizer housing.
  60. NOTE: Always coat the synchronizer drive gear with clean engine oil prior to installation.
    NOTE: During installation, the arrow on the Synchronizer Alignment Gauge will rotate clockwise as the gears engage.
    Fig 42: Installing Camshaft Synchronizer Housing Assembly
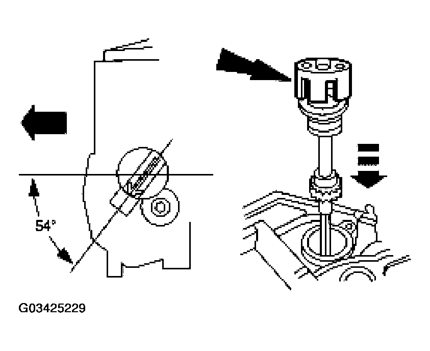
    G03425229Courtesy of FORD MOTOR CO.
  61. Install the camshaft synchronizer housing assembly so the arrow on the synchronizer alignment tool is 54 degrees from the centerline of the engine.
  62. Install the camshaft synchronizer retaining bolt.
    Fig 43: Installing Camshaft Synchronizer Retaining Bolt
    G03425230Courtesy of FORD MOTOR CO.
  63. Install the camshaft position (CMP) sensor.
    Fig 44: Installing Camshaft Position (CMP) Sensor
    G03425231Courtesy of FORD MOTOR CO.
  64. Install the water pump pulley.
    • Install the bolts.
      Fig 45: Installing Water Pump Pulley
      G03425232Courtesy of FORD MOTOR CO.
  65. NOTE: If the oil pan is not installed within four minutes, remove the sealer and reapply.
  66. Clean and apply the sealant to the oil pan sealing areas indicated and install the oil pan rear seal.
    1. Apply the sealer to the rear main bearing cap.
    2. Install the oil pan rear seal.
    3. Apply the sealer to the oil pan mating surface.
      • Use metal surface cleaner.
        Fig 46: Installing Oil Pan Rear Seal
        G03425233Courtesy of FORD MOTOR CO.
  67. Tighten the oil pan bolts in the sequence indicated.
    Fig 47: Tightening Oil Pan Bolts In Sequence
    G03425234Courtesy of FORD MOTOR CO.
  68. Install the oil pressure sensor.
    Fig 48: Installing Oil Pressure Sensor
    G03425235Courtesy of FORD MOTOR CO.
  69. Install a new oil bypass filter.
    • Tighten to one-half turn after the gasket contacts the sealing surface.
      Fig 49: Installing A New Oil Bypass Filter
      G03425236Courtesy of FORD MOTOR CO.
  70. NOTE: Inspect the valve cover gaskets for damage. Install a new gasket, if necessary.
  71. Install the valve covers.
    1. Position the valve covers.
    2. Install the bolts.
    3. Install the stud bolts.
      Fig 50: Installing Valve Covers
      G03425237Courtesy of FORD MOTOR CO.
  72. Install the lower exhaust manifold studs on both cylinder heads.
    Fig 51: Installing Lower Exhaust Manifold Studs On Both Cylinder Heads
    G03425238Courtesy of FORD MOTOR CO.
  73. Install a new RH exhaust manifold gasket (9448) and position the RH exhaust manifold (9430). Loosely install the RH nuts.
    Fig 52: Installing A New RH Exhaust Manifold Gasket
    G03425239Courtesy of FORD MOTOR CO.
  74. Tighten the bolts in the sequence indicated.
    Fig 53: Tightening Exhaust Manifold Bolts In Sequence
    G03425240Courtesy of FORD MOTOR CO.
  75. Install a new LH exhaust manifold gasket and position the LH exhaust manifold. Loosely install the LH nuts.
    Fig 54: Installing A New LH Exhaust Manifold Gasket
    G03425241Courtesy of FORD MOTOR CO.
  76. Tighten the bolts in the sequence indicated.
    Fig 55: Tightening Exhaust Manifold Bolts In Sequence
    G03425242Courtesy of FORD MOTOR CO.
  77. NOTE: Install a new oil level indicator tube O-ring seal.
  78. Install the oil level indicator tube.
    • Install the bolt.
      Fig 56: Installing Oil Level Indicator Tube
      G03425243Courtesy of FORD MOTOR CO.
  79. Refer to the illustration for intake manifold sealing components.
    Fig 57: Identifying Intake Manifold Sealing Components
    G03425244Courtesy of FORD MOTOR CO.
  80. Install the lower intake manifold front and rear end seals.
    1. Apply a bead of sealant to the intake manifold front and rear end seal mounting points as indicated.
    2. Install the lower intake manifold front and rear end seals.
      Fig 58: Installing Lower Intake Manifold Front And Rear End Seals
      G03425245Courtesy of FORD MOTOR CO.
  81. Position the intake manifold gaskets.
    Fig 59: Identifying Position Intake Manifold Gaskets
    G03425246Courtesy of FORD MOTOR CO.
  82. NOTE: The lower intake manifold must be installed within four minutes of applying the sealant.
  83. Position the lower intake manifold.
    1. Apply a bead of sealant to the lower intake manifold mounting at the points indicated.
    2. Position the lower intake manifold.
      Fig 60: Identifying Position Lower Intake Manifold
      G03425247Courtesy of FORD MOTOR CO.
  84. NOTE: Make sure the bolts are installed in the correct locations.
    Fig 61: Installing Long Bolts
    G03425248Courtesy of FORD MOTOR CO.
  85. Install the six long bolts.
  86. Install the eight short bolts.
    Fig 62: Installing Short Bolts
    G03425249Courtesy of FORD MOTOR CO.
  87. Tighten the lower intake manifold bolts in two stages, following the sequence shown.
    • Stage 1: Tighten to 5 N.m (44 lb-in).
    • Stage 2: Tighten to 10 N.m (89 lb-in).
      Fig 63: Tightening Bolts With Torque Specification
      G03425250Courtesy of FORD MOTOR CO.
  88. Connect the water bypass tube.
    • Install the bolts.
      Fig 64: Connecting Water Bypass Tube
      G03425251Courtesy of FORD MOTOR CO.
  89. Install the EGR valve to exhaust manifold tube.
    Fig 65: Installing EGR Valve Tube To Exhaust Manifold
    G03425252Courtesy of FORD MOTOR CO.
  90. Install the EGR valve to exhaust manifold tube upper fitting.
    Fig 66: Installing EGR Valve To Exhaust Manifold Tube Upper Fitting
    G03425253Courtesy of FORD MOTOR CO.
  91. Install the ignition coil.
    Fig 67: Installing Ignition Coil
    G03425254Courtesy of FORD MOTOR CO.
  92. Connect the spark plug wires.
    • Correctly route the spark plug wires.
    • Connect the spark plug wires.
      Fig 68: Connecting Spark Plug Wires
      G03425255Courtesy of FORD MOTOR CO.
  93. Install the PCV tube.
    Fig 69: Installing PCV Tube
    G03425256Courtesy of FORD MOTOR CO.
  94. Install the PCV tube and the PCV valve.
    Fig 70: Installing PCV Tube And PCV Valve
    G03425257Courtesy of FORD MOTOR CO.
  95. Install the fuel injectors and the fuel rail assembly.
    • Install the fuel rail.
    • Install the four bolts.
      Fig 71: Installing Fuel Injectors And Fuel Rail Assembly
      G03425258Courtesy of FORD MOTOR CO.
  96. Position the vacuum harness.
  97. Connect the EGR valve vacuum hose.
    Fig 72: Connecting EGR Valve Vacuum Hose
    G03425259Courtesy of FORD MOTOR CO.
  98. Position the engine wiring harness.
  99. Connect the ignition coil electrical connectors.
    Fig 73: Connecting Ignition Coil Electrical Connectors
    G03425260Courtesy of FORD MOTOR CO.
  100. Connect the crankshaft position (CKP) sensor electrical connectors.
    Fig 74: Connecting Crankshaft Position (CKP) Sensor Electrical Connectors
    G03425261Courtesy of FORD MOTOR CO.
  101. Connect the engine coolant temperature (ECT) sensor electrical connector.
    Fig 75: Connecting Engine Coolant Temperature (ECT) Sensor Electrical Connector
    G03425262Courtesy of FORD MOTOR CO.
  102. Connect the camshaft position (CMP) sensor electrical connectors.
    Fig 76: Connecting Camshaft Position (CMP) Sensor Electrical Connectors
    G03425263Courtesy of FORD MOTOR CO.
  103. Connect the oil pressure sensor electrical connector.
    Fig 77: Connecting Oil Pressure Sensor Electrical Connector
    G03425264Courtesy of FORD MOTOR CO.
  104. Connect the intake manifold runner control (IMRC) electrical connector.
    Fig 78: Connecting Intake Manifold Runner Control (IMRC) Electrical Connector
    G03425265Courtesy of FORD MOTOR CO.
  105. Install the upper intake manifold spacer.
    • Install the bolts in the sequence shown.
      Fig 79: Installing Upper Intake Manifold Spacer
      G03425266Courtesy of FORD MOTOR CO.
  106. Connect the vacuum hose.
    Fig 80: Connecting Vacuum Hose
    G03425267Courtesy of FORD MOTOR CO.
  107. Connect the EVR.
    • Connect the vacuum hoses.
    • Connect the wiring harness.
      Fig 81: Connecting EVR
      G03425268Courtesy of FORD MOTOR CO.
  108. Connect the vacuum tube.
    Fig 82: Connecting Vacuum Tube
    G03425269Courtesy of FORD MOTOR CO.
  109. Install the upper intake manifold.
    • Install the bolts in the sequence shown.
      Fig 83: Installing Upper Intake Manifold
      G03425270Courtesy of FORD MOTOR CO.
  110. Position the wiring harness.
    Fig 84: Positioning Wiring Harness
    G03425271Courtesy of FORD MOTOR CO.
  111. Position the spark plug wires.
    Fig 85: Identifying Position Spark Plug Wires
    G03425272Courtesy of FORD MOTOR CO.
  112. Connect the throttle body.
    • Connect the throttle position (TP) sensor.
    • Connect the IAC valve.
      Fig 86: Connecting IAC Valve
      G03425273Courtesy of FORD MOTOR CO.
  113. Connect the differential feedback EGR PFE.
    • Connect the vacuum hoses.
    • Connect the electrical connector.
      Fig 87: Connecting Differential Feedback EGR PFE
      G03425274Courtesy of FORD MOTOR CO.
  114. Install the power steering pump bracket.
    • Position the bracket.
    • Install the bolts.
      Fig 88: Installing Power Steering Pump Bracket
      G03425275Courtesy of FORD MOTOR CO.
  115. Install the bolt.
    Fig 89: Installing Bolt
    G03425276Courtesy of FORD MOTOR CO.
  116. Install the belt tensioner.
    • Position the tensioner and install the bolts.
      Fig 90: Installing Belt Tensioner
      G03425277Courtesy of FORD MOTOR CO.
  117. Install the A/C compressor and bracket. Refer to COMPRESSOR .
  118. Install the water pump extension tube and bracket.
    • Install the bracket.
    • Install the tube.
    • Install the bolts.
      Fig 91: Installing Water Pump Extension Tube And Bracket
      G03425278Courtesy of FORD MOTOR CO.
  119. Install the generator. Refer to GENERATOR .
  120. Install the water pump pulley. Refer to WATER PUMP .
  121. Install the power steering pump. Refer to PUMP - CIII .