LEMON Manuals: Even more car manuals for everyone: 1960-2025
Home >> Ford >> 2002 >> Windstar Base >> Repair and Diagnosis >> External Pages >> Different car >> Section 1672 (Manual Transaxle) >> Disassembly And Assembly Of Subassemblies >> Differential >> Disassembly
April 5, 2026: LEMON Manuals is launched! Read the announcement.

Disassembly And Assembly Of Subassemblies: Differential: Disassembly

WARNING: This page is about a different car, the 2010 Mercury Milan and 2010 Ford Fusion. However, it is still accessible from the selected car via links, so may be relevant.
  1. Inspect the differential for wear or damage.
    • Inspect for damaged or worn gears.
    • Inspect for worn or damaged differential bearings.
    • Install new components as necessary.
  2. Remove the differential side gears and thrust washers.
    • Rotate the differential side gears to remove.
    Fig 1: Locating Differential Side Gears
    G06276006Courtesy of FORD MOTOR CO.
  3. Remove and discard the differential pinion shaft lock pin.
    Fig 2: Locating Differential Pinion Shaft Lock Pin
    G06276007Courtesy of FORD MOTOR CO.
  4. Remove the differential pinion shaft, the differential pinon gears and the thrust washers.
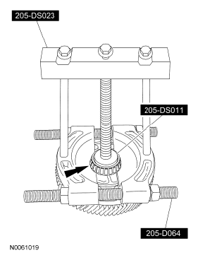
  5. Using the Step Plate Adapter Set, Bearing Puller and the Push/Puller Set, remove the differential bearing.
    • Always install new bearings and cups as a set.
    Fig 3: Identifying Step Plate Adapter Set, Bearing Puller And Push/Puller Set
    G06276008Courtesy of FORD MOTOR CO.
  6. Remove the speedometer drive gear.
    Fig 4: Locating Speedometer Drive Gear
    G06276009Courtesy of FORD MOTOR CO.
  7. Rotate the differential assembly. Using the Step Plate Adapter Set, Bearing Puller and the Push/Puller Set, remove the other differential bearing.
    • Always install new bearings and cups as a set.
    Fig 5: Identifying Step Plate Adapter Set, Bearing Puller And Push/Puller Set
    G06276010Courtesy of FORD MOTOR CO.