LEMON Manuals: Even more car manuals for everyone: 1960-2025
Home >> Ford >> 2002 >> ZX2 Automatic >> Repair and Diagnosis >> Brakes >> Traction Control >> Anti-Lock Control System >> Removal And Installation >> Module - Anti-Lock Brake Control >> Removal
April 5, 2026: LEMON Manuals is launched! Read the announcement.

Module - Anti-Lock Brake Control: Removal

  1. Disconnect the battery ground cable (14301).
    Fig 1: Disconnecting Battery Ground Cable
    G02206622Courtesy of FORD MOTOR CO.
  2. CAUTION: Electronic modules are sensitive to static electrical charges. If exposed to the charges, damage may result. Be sure to ground your body when handling electronic components.
    NOTE: The anti-lock brake control module is located under the passenger seat.
  3. Disconnect the anti-lock brake control module electrical connector.
    1. Loosen the bolt.
      Fig 2: Disconnecting Anti-Lock Brake Control Module Electrical Connector
      G02206623Courtesy of FORD MOTOR CO.
    2. Remove the electrical connector.
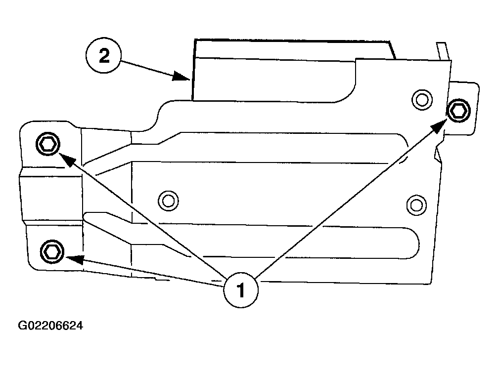
  4. Remove the anti-lock brake control module.
    1. Remove the bolts.
      Fig 3: Removing Anti-Lock Brake Control Module
      G02206624Courtesy of FORD MOTOR CO.
    2. Remove the anti-lock brake control module.