LEMON Manuals: Even more car manuals for everyone: 1960-2025
Home >> Ford >> 2002 >> ZX2 Automatic >> Repair and Diagnosis >> External Pages >> Different car >> Section 1153 (Engine) >> Disassembly >> Engine >> Disassembly
April 5, 2026: LEMON Manuals is launched! Read the announcement.

Section 1153 (Engine): Disassembly: Engine: Disassembly

WARNING: This page is about a different car, the 2005 Mercury Montego, 2005 Ford Freestyle, and 2005 Ford Five Hundred. However, it is still accessible from the selected car via links, so may be relevant.

    All vehicles 

    CAUTION: During engine repair procedures, cleanliness is extremely important. Any foreign material, including any material created while cleaning gasket surfaces, that enters the oil passages, coolant passages or the oil pan, can cause engine failure.
    NOTE: For additional information, refer to the exploded view under Assembly .
    Fig 1: Removing Bolts And Flexplate
    G03990295Courtesy of FORD MOTOR CO.
  1. Remove the 8 bolts and the flexplate.
  2. Using the special tools, remove and discard the crankshaft rear oil seal.
    Fig 2: Removing Crankshaft Rear Oil Seal
    G03898286Courtesy of FORD MOTOR CO.
  3. Mount the engine on a suitable stand.
  4. Freestyle only 

  5. If equipped, remove the 3 retainers and the A/C compressor pulley shield.
    Fig 3: Removing Retainers And A/C Compressor Pulley Shield
    G03990297Courtesy of FORD MOTOR CO.
  6. All vehicles 

  7. Rotate the tensioner counterclockwise and remove the accessory drive belt.
    Fig 4: Rotating Tensioner Counterclockwise
    G03990298Courtesy of FORD MOTOR CO.
  8. Disconnect the A/C compressor electrical connector.
    Fig 5: Disconnecting A/C Compressor Electrical Connector
    G03990299Courtesy of FORD MOTOR CO.
  9. Disconnect the LH catalyst monitor sensor electrical connector and detach the wiring retainer.
    Fig 6: Disconnecting LH Catalyst Monitor Sensor Electrical Connector
    G03990300Courtesy of FORD MOTOR CO.
  10. Freestyle only 

  11. If equipped, remove the 2 nuts, the bolt and the A/C compressor shield.
    Fig 7: Removing Nuts, Bolt And A/C Compressor Shield
    G03990301Courtesy of FORD MOTOR CO.
  12. If equipped, remove the bolt and the A/C compressor.
    Fig 8: Removing Bolt And A/C Compressor
    G03990302Courtesy of FORD MOTOR CO.
  13. All vehicles 

  14. Remove the 2 bolts, 2 nuts and the A/C compressor.
    Fig 9: Removing Bolts, 2 Nuts And A/C Compressor
    G03990303Courtesy of FORD MOTOR CO.
  15. Remove the 5 bolts and the A/C compressor bracket.
    Fig 10: Removing Bolts And A/C Compressor Bracket
    G03990304Courtesy of FORD MOTOR CO.
  16. Disconnect the LH heated oxygen sensor (HO2S) electrical connector and detach the wiring retainer.
    Fig 11: Disconnecting LH Heated Oxygen Sensor (HO2S) Electrical Connector
    G03990305Courtesy of FORD MOTOR CO.
  17. Disconnect the oil pressure sensor electrical connector.
    Fig 12: Disconnecting Oil Pressure Sensor Electrical Connector
    G03990306Courtesy of FORD MOTOR CO.
  18. Remove the 2 nuts, disconnect the camshaft position sensor (CMP) and detach the retainers.
    Fig 13: Removing Nuts & Disconnecting Camshaft Position Sensor (CMP)
    G03990307Courtesy of FORD MOTOR CO.
  19. Loosen the fittings and remove the exhaust gas recirculation (EGR) system module tube.
    Fig 14: Removing Exhaust Gas Recirculation (EGR) System Module Tube
    G03990308Courtesy of FORD MOTOR CO.
  20. Disconnect the EGR system module electrical connector.
    Fig 15: Disconnecting EGR System Module Electrical Connector
    G03990309Courtesy of FORD MOTOR CO.
  21. Disconnect the throttle body electrical connector.
    Fig 16: Disconnecting Throttle Body Electrical Connector
    G03990310Courtesy of FORD MOTOR CO.
  22. Disconnect the throttle body coolant hose.
    Fig 17: Disconnecting Throttle Body Coolant Hose
    G03990311Courtesy of FORD MOTOR CO.
  23. Disconnect and remove the positive crankcase ventilation (PCV) tube.
    Fig 18: Removing Positive Crankcase Ventilation (PCV) Tube
    G03990312Courtesy of FORD MOTOR CO.
  24. Disconnect the fuel rail pressure and temperature sensor vacuum tube and electrical connector.
    Fig 19: Disconnecting Fuel Rail Pressure And Temperature Sensor Vacuum Tube And Electrical Connector
    G03990313Courtesy of FORD MOTOR CO.
  25. Disconnect the fuel charging wiring harness electrical connector.
    Fig 20: Disconnecting Fuel Charging Wiring Harness Electrical Connector
    G03990314Courtesy of FORD MOTOR CO.
  26. Disconnect the RH HO2S and detach the retainer.
    Fig 21: Disconnecting RH Ho2S And Retainer
    G03990315Courtesy of FORD MOTOR CO.
  27. Remove the bolt and detach the power steering tube bracket.
    Fig 22: Removing Bolt And Power Steering Tube Bracket
    G03990316Courtesy of FORD MOTOR CO.
  28. Remove the bolt and detach the power steering tube bracket.
    Fig 23: Detaching Power Steering Tube Bracket
    G03990317Courtesy of FORD MOTOR CO.
  29. Remove the 2 nuts and detach the power steering fluid reservoir.
    Fig 24: Removing Nuts And Power Steering Fluid Reservoir
    G03990318Courtesy of FORD MOTOR CO.
  30. Remove the power steering fluid reservoir bracket nut.
    Fig 25: Removing Power Steering Fluid Reservoir Bracket Nut
    G03990319Courtesy of FORD MOTOR CO.
  31. Remove the 3 nuts and the power steering pump, reservoir and tubes.
    Fig 26: Removing Nuts And Power Steering Pump, Reservoir And Tubes
    G03990320Courtesy of FORD MOTOR CO.
  32. Remove the 8 bolts and the upper and lower intake manifold.
    • Remove and discard the gaskets.
      Fig 27: Removing Gaskets
      G03990321Courtesy of FORD MOTOR CO.
  33. Remove the nut and position the wiring conduit aside.
    Fig 28: Removing Nut And Position Wiring Conduit Aside
    G03990322Courtesy of FORD MOTOR CO.
  34. Disconnect the RH ignition coil electrical connectors and detach the wiring retainers.
    Fig 29: Disconnecting RH Ignition Coil Electrical Connectors
    G03990323Courtesy of FORD MOTOR CO.
  35. Remove the nut and disconnect the generator wiring.
    • Detach the wiring retainer.
      Fig 30: Detaching Wiring Retainer
      G03990324Courtesy of FORD MOTOR CO.
  36. Remove the nut and detach the ground wire.
    Fig 31: Removing Nut And Ground Wire
    G03990325Courtesy of FORD MOTOR CO.
  37. Disconnect the crankshaft position sensor (CKP) electrical connector and detach the wiring retainer.
    Fig 32: Disconnecting Crankshaft Position Sensor (CKP) Electrical Connector
    G03990326Courtesy of FORD MOTOR CO.
  38. Disconnect the LH ignition coil electrical connectors and detach the wiring retainers.
    Fig 33: Disconnecting LH Ignition Coil Electrical Connectors
    G03990327Courtesy of FORD MOTOR CO.
  39. Disconnect the engine coolant temperature (ECT) sensor and the radio interference capacitor electrical connectors.
    Fig 34: Disconnecting Engine Coolant Temperature (ECT) Sensor
    G03990328Courtesy of FORD MOTOR CO.
  40. Disconnect the bypass and the coolant pump hoses.
    Fig 35: Disconnecting Bypass And Coolant Pump Hoses
    G03990329Courtesy of FORD MOTOR CO.
  41. Remove the engine wiring harness.
  42. Remove the stud bolt and the oil level indicator tube.
    • Remove and discard the O-ring seal.
      Fig 36: Removing O-Ring Seal
      G03990330Courtesy of FORD MOTOR CO.
  43. Remove and discard the oil filter.
    Fig 37: Removing Oil Filter
    G03990331Courtesy of FORD MOTOR CO.
  44. Remove the 4 bolts and the oil filter adapter.
    • Remove and discard the O-ring seal from the M22 bolt.
      Fig 38: Removing O-Ring Seal From M22 Bolt
      G03990332Courtesy of FORD MOTOR CO.
  45. Remove the 2 nuts, bolt and the generator.
    Fig 39: Removing Nuts, Bolt And Generator
    G03990333Courtesy of FORD MOTOR CO.
  46. Remove the 4 bolts and the RH engine insulator bracket.
    Fig 40: Removing Bolts And RH Engine Insulator Bracket
    G03990334Courtesy of FORD MOTOR CO.
  47. Remove and discard the 6 RH exhaust manifold nuts.
    Fig 41: Removing RH Exhaust Manifold Nuts
    G03990179Courtesy of FORD MOTOR CO.
  48. Remove the RH exhaust manifold.
    • Remove and discard the gasket.
  49. Remove and discard the 6 RH exhaust manifold studs.
    Fig 42: Locating Exhaust Manifold Studs
    G03898429Courtesy of FORD MOTOR CO.
  50. Remove and discard the 6 LH exhaust manifold nuts.
    Fig 43: Removing LH Exhaust Manifold Nuts
    G03990337Courtesy of FORD MOTOR CO.
  51. Remove the LH exhaust manifold.
    • Remove and discard the gasket.
  52. Remove and discard the 6 LH exhaust manifold studs.
    Fig 44: Locating Exhaust Manifold Studs
    G03898429Courtesy of FORD MOTOR CO.
  53. Remove the 6 bolts and the RH and LH ignition coils.
    Fig 45: Removing Bolts And RH And LH Ignition Coils
    G03990339Courtesy of FORD MOTOR CO.
  54. Remove the 6 bolts, 8 stud bolts and the LH valve cover.
    • Remove and discard the gasket.
      Fig 46: Removing Gasket
      G03990340Courtesy of FORD MOTOR CO.
  55. Remove the 9 bolts, 5 stud bolts and the RH valve cover.
    • Remove and discard the gasket.
      Fig 47: Discarding Gasket
      G03990341Courtesy of FORD MOTOR CO.
  56. Remove the 2 bolts and the thermostat housing.
    • Remove and discard the O-ring seal.
      Fig 48: Removing O-Ring Seal
      G03990342Courtesy of FORD MOTOR CO.
  57. Remove the 4 bolts and the coolant pump.
    Fig 49: Removing Bolts And Coolant Pump
    G03990343Courtesy of FORD MOTOR CO.
  58. Remove the 2 bolts and the coolant bypass tube.
    Fig 50: Removing Bolts And Coolant Bypass Tube
    G03990344Courtesy of FORD MOTOR CO.
  59. Remove the bolt and the radio interference capacitor.
    Fig 51: Removing Bolt And Radio Interference Capacitor
    G03990345Courtesy of FORD MOTOR CO.
  60. Remove the 15 bolts and the oil pan.
    • Remove and discard the gasket.
      Fig 52: Removing Gasket
      G03990346Courtesy of FORD MOTOR CO.
  61. Remove the 2 bolts and the oil pump screen and pickup tube.
    • Remove and discard the O-ring seal.
      Fig 53: Removing O-Ring Seal
      G03990347Courtesy of FORD MOTOR CO.
  62. Remove the 8 nuts and the oil pan baffle.
    Fig 54: Removing Nuts And Oil Pan Baffle
    G03990348Courtesy of FORD MOTOR CO.
  63. Remove the oil pressure sender.
    Fig 55: Removing Oil Pressure Sender
    G03990349Courtesy of FORD MOTOR CO.
  64. If equipped, remove the block heater.
    Fig 56: Removing Block Heater
    G03990350Courtesy of FORD MOTOR CO.
  65. Use the special tool to hold the crankshaft damper and remove the bolt.
    Fig 57: Removing Bolt
    G03990102Courtesy of FORD MOTOR CO.
  66. Using the special tool, remove the crankshaft damper.
    Fig 58: Removing Crankshaft Damper
    G03990099Courtesy of FORD MOTOR CO.
  67. Using the special tool, remove and discard the crankshaft front seal from the engine front cover.
    Fig 59: Removing Crankshaft Front Seal
    G03990106Courtesy of FORD MOTOR CO.
  68. Remove the bolt and the belt tensioner.
    Fig 60: Removing Bolt And Belt Tensioner
    G03990354Courtesy of FORD MOTOR CO.
  69. CAUTION: Do not use metal scrapers, wire brushes, power abrasive discs or other abrasive means to clean the sealing surface. These tools cause scratches and gouges, which make leak paths. Use a plastic scraping tool to remove all traces of sealant.
  70. Remove the stud bolt, 14 bolts and the front cover.
    • Remove and discard the gaskets.
      Fig 61: Removing Gaskets
      G03990355Courtesy of FORD MOTOR CO.
  71. CAUTION: This pulse wheel is used in several different engines. Install the pulse wheel with the keyway in the slot stamped "30" or "30 RFF" only (orange in color).
    Fig 62: Removing Ignition Pulse Wheel
    G03990356Courtesy of FORD MOTOR CO.
  72. Remove the ignition pulse wheel.
  73. Install the damper bolt.
    Fig 63: Installing Damper Bolt
    G03898296Courtesy of FORD MOTOR CO.
  74. NOTE: LH shown, RH similar.
    Fig 64: Removing LH And RH Spark Plugs
    G03990358Courtesy of FORD MOTOR CO.
  75. Remove the LH and RH spark plugs.
  76. Rotate the crankshaft clockwise to position the crankshaft keyway in the 11 o'clock position and position the camshafts in the correct position. This will position the No. 1 cylinder at top dead center (TDC).
    • Verify that the camshafts are correctly located. If not, rotate the crankshaft one additional turn and recheck.
      Fig 65: Rotating Crankshaft One Additional Turn And Recheck
      G03898298Courtesy of FORD MOTOR CO.
  77. Rotate the crankshaft clockwise 120 degrees to the 3 o'clock position to locate the RH camshafts in the neutral position.
    Fig 66: Identifying Crankshaft Keyway
    G03898299Courtesy of FORD MOTOR CO.
  78. Verify that the RH camshafts are in the neutral position.
    Fig 67: Aligning Camshafts
    G03898496Courtesy of FORD MOTOR CO.
  79. Remove the RH timing chain tensioner arm.
    1. Remove the 2 bolts.
    2. Remove the tensioner.
    3. Remove the tensioner arm.
      Fig 68: Removing RH Timing Chain Tensioner Arm
      G03898301Courtesy of FORD MOTOR CO.
  80. Remove the 2 bolts, RH timing chain guide and the timing chain.
    Fig 69: Removing Bolts, RH Timing Chain Guide And Timing Chain
    G03898302Courtesy of FORD MOTOR CO.
  81. Rotate the crankcase clockwise 600 degrees (1-2/3 turns) to position the crankcase keyway in the 11 o'clock position. This will position the LH camshafts in the neutral position.
    Fig 70: Rotating Crankcase Clockwise
    G03990364Courtesy of FORD MOTOR CO.
  82. Verify the LH camshafts are in the neutral position.
    Fig 71: Aligning Camshafts
    G03955709Courtesy of FORD MOTOR CO.
  83. Remove the LH timing chain and tensioner arm.
    1. Remove the 2 bolts.
    2. Remove the tensioner.
    3. Remove the tensioner arm.
      Fig 72: Removing LH Timing Chain & Tensioner Arm
      G03898305Courtesy of FORD MOTOR CO.
  84. Remove the LH timing chain and timing chain guide.
    Fig 73: Removing LH Timing Chain And Timing Chain Guide
    G03898306Courtesy of FORD MOTOR CO.
  85. Remove the damper bolt and the crankshaft sprockets.
    Fig 74: Removing Damper Bolt And Crankshaft Sprockets
    G03898307Courtesy of FORD MOTOR CO.
  86. Remove the 3 bolts and camshaft oil seal retainer.
    • Remove and discard the press-in-place gasket.
      Fig 75: Removing Press-In-Place Gasket
      G03990369Courtesy of FORD MOTOR CO.
  87. Using a suitable press, remove the camshaft oil seal.
    Fig 76: Removing Camshaft Oil Seal
    G03990370Courtesy of FORD MOTOR CO.
  88. CAUTION: Cylinder head camshaft journal caps and cylinder heads are numbered to verify that they are assembled in their original positions.
    NOTE: RH shown, LH similar.
    NOTE: The camshaft caps have alignment dowels.
  89. Loosen the LH and RH camshaft cap bolts in the indicated sequence and remove the camshaft caps.
    • Tap the caps lightly with a soft-faced mallet to loosen the camshaft caps.
      Fig 77: Loosening Camshaft Caps
      G03898507Courtesy of FORD MOTOR CO.
  90. Remove the LH and RH camshafts.
  91. CAUTION: The camshaft roller followers must be installed in their original positions.
    NOTE: RH shown, LH similar.
  92. Remove the LH and RH camshaft roller followers.
    • Mark the location of the roller followers using a permanent-type marker.
      Fig 78: Removing LH And RH Camshaft Roller
      G03990372Courtesy of FORD MOTOR CO.
  93. NOTE: RH shown, LH similar.
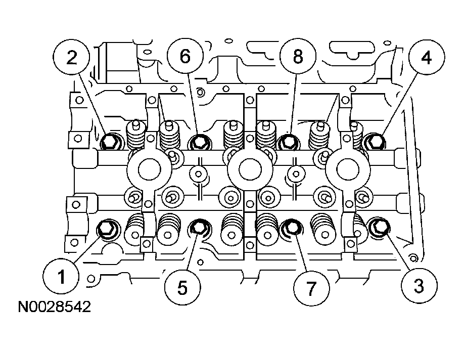
  94. Loosen the bolts in the indicated sequence and remove the LH and RH cylinder heads.
    • Remove and discard the gaskets and the bolts.
      Fig 79: Removing Gaskets And Bolts
      G03898509Courtesy of FORD MOTOR CO.
  95. CAUTION: Do not use metal scrapers, wire brushes, power abrasive discs or other abrasive means to clean the sealing surfaces. These tools cause scratches and gouges that make leak paths. Use a plastic scraping tool to remove all traces of the head gasket.
    CAUTION: Observe all warnings or cautions and follow all application directions contained on the packaging of the silicone gasket remover and the metal surface prep.
    NOTE: If there is no residual gasket material present, metal surface prep can be used to clean and prepare the surfaces.
  96. Clean the cylinder head-to-cylinder block mating surface of both the cylinder head and the cylinder block.
    1. Remove any large deposits of silicone or gasket material with a plastic scraper.
    2. Apply silicone gasket remover, following package directions, and allow to set for several minutes.
    3. Remove the silicone gasket remover with a plastic scraper. A second application of silicone gasket remover may be required if residual traces of silicone or gasket material remain.
    4. Apply metal surface prep, following package directions, to remove any traces of oil or coolant, and to prepare the surfaces to bond with the new gasket. Do not attempt to make the metal shiny. Some staining of the metal surfaces is normal.
  97. Support the cylinder head on a bench with the head gasket side up.
  98. NOTE: The straightedge used must be flat within 0.0051 mm (0.0002 in) per foot of tool length.
  99. Inspect all areas of the deck face with a straightedge and feeler gauge. The cylinder head must not have depressions deeper than 0.0254 mm (0.001 in) across a 38.1 mm (1.5 in) square area, or scratches more than 0.0254 mm (0.001 in).
  100. Remove the 3 bolts and the power steering pump bracket.
    Fig 80: Removing Bolts And Power Steering Pump Bracket
    G03990374Courtesy of FORD MOTOR CO.
  101. Remove the 2 bolts and the oil separator cover.
    • Remove and discard the gasket.
      Fig 81: Removing Gasket
      G03898510Courtesy of FORD MOTOR CO.
  102. Remove the crankshaft key.
    Fig 82: Removing Crankshaft Key
    G03898511Courtesy of FORD MOTOR CO.