LEMON Manuals: Even more car manuals for everyone: 1960-2025
Home >> Ford >> 2002 >> ZX2 Automatic >> Repair and Diagnosis >> Transmission >> Automatic Trans >> Automatic Transmission - Overhaul >> Disassembly And Assembly Of Subassemblies >> Output Gear >> Assembly
April 5, 2026: LEMON Manuals is launched! Read the announcement.

Output Gear: Assembly

  1. Clean the components with a suitable solvent and use compressed air to dry all parts. Perform the following before assembly:
    • Inspect the output gear for damaged or excessively worn teeth.
    • Inspect the output gear splines for damage or wear.
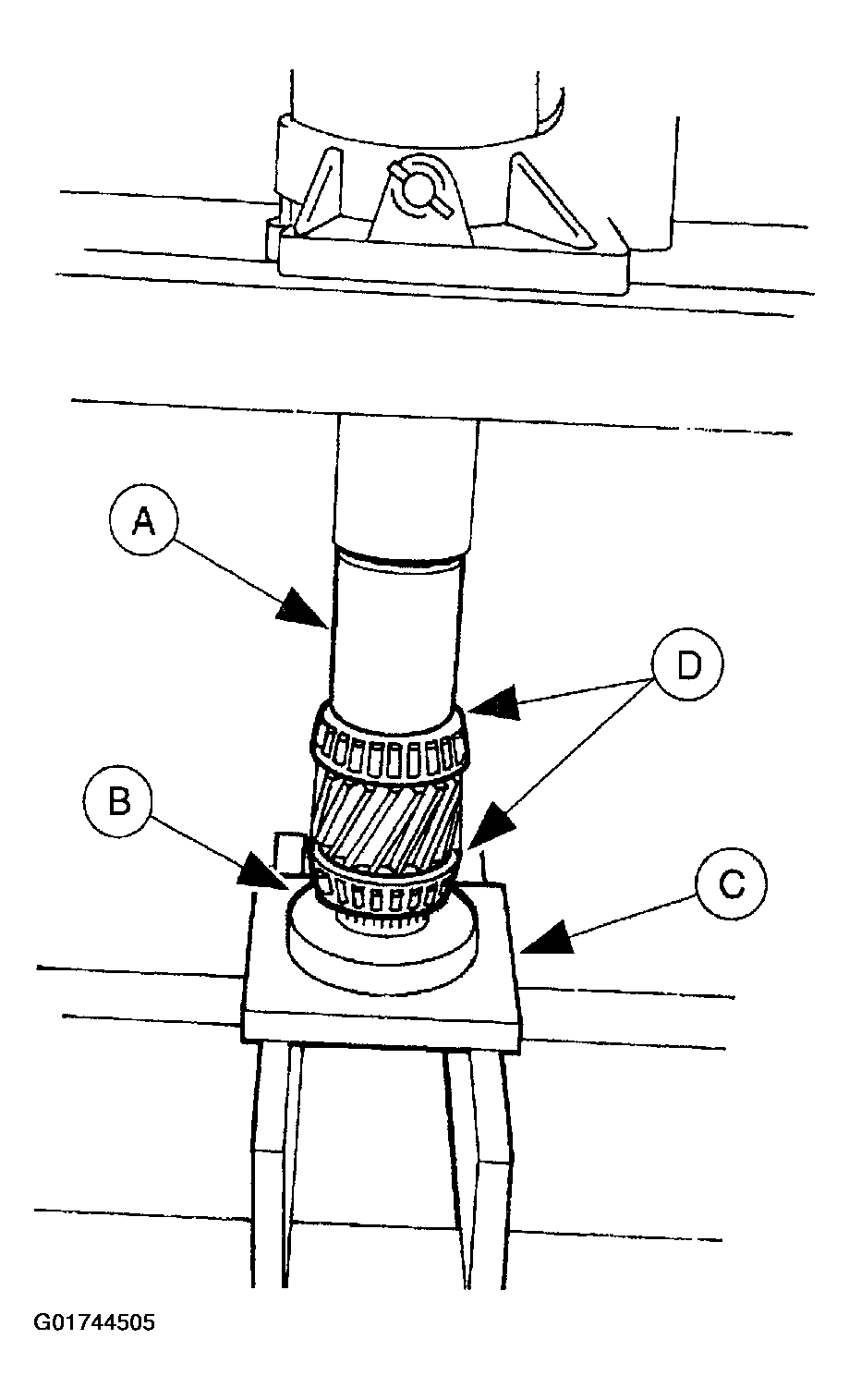
  2. Use (A) Dust Boot Replacer, (B) Bearing Cone Replacer, and (C) Axle Bearing/Seal Plate to press the (D) output gear bearings onto the output gear.
  3. Fig 1: Pressing Output Gear Bearings Onto Output Gear
    G01744505Courtesy of FORD MOTOR CO.
  4. Apply Motorcraft MERCON® Multi-Purpose Automatic Transmission Fluid XT-2-QDX or equivalent meeting Ford specification MERCON to the new seal rings and install them on the output gear.
    • Seal ring inner diameter: 27.6 mm (1.087 in).
Fig 2: Installing New Seal Ring On Output Gear
G01744506Courtesy of FORD MOTOR CO.