LEMON Manuals: Even more car manuals for everyone: 1960-2025
Home >> Ford >> 2002 >> ZX2 Automatic >> Repair and Diagnosis >> Transmission >> Automatic Trans >> Automatic Transmission - Overhaul >> Disassembly And Assembly Of Subassemblies >> Torque Converter Stator Support >> Assembly
April 5, 2026: LEMON Manuals is launched! Read the announcement.

Torque Converter Stator Support: Assembly

  1. Clean the components with a suitable solvent and use compressed air to dry all parts. Perform the following before assembly:
    • Inspect the torque converter stator support for damage or wear.
  2. Use Pinion Bearing Cup Replacer to press the bearing outer race into the torque converter stator support.
  3. Fig 1: Pressing Bearing Outer Race Into Torque Converter Stator Support
    G01744513Courtesy of FORD MOTOR CO.
  4. Apply Motorcraft MERCON® Multi-Purpose Automatic Transmission Fluid XT-2-QDX or equivalent meeting Ford specification MERCON to the new stator support O-ring and install it on the torque converter stator support.
    • Stator support O-ring inner diameter: 82.9 mm (3.264 in).
  5. Fig 2: Installing New Stator Support O-Ring
    G01744514Courtesy of FORD MOTOR CO.
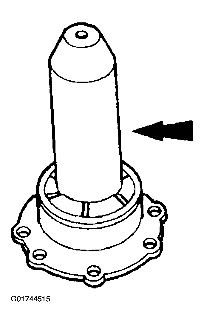
  6. Use Converter Seal Replacer to install the new converter impeller hub seal.
Fig 3: Installing New Converter Impeller Hub Seal
G01744515Courtesy of FORD MOTOR CO.