LEMON Manuals: Even more car manuals for everyone: 1960-2025
Home >> Ford >> 2002 >> ZX2 Standard >> Repair and Diagnosis >> Engine Mechanical >> Mechanical >> Engine - 2.0L >> Disassembly >> Engine
April 5, 2026: LEMON Manuals is launched! Read the announcement.

Engine - 2.0L: Disassembly: Engine

Fig 1: Identifying Special Tools (1 Of 2)
G02207232Courtesy of FORD MOTOR CO.
Fig 2: Identifying Special Tools (2 Of 2)
G02207233Courtesy of FORD MOTOR CO.
  1. Install the engine on the Engine Stand or equivalent using the Heavy Duty Floor Crane.
  2. Loosen the bolts retaining the water pump pulley.
  3. Remove the drive belt (8620). For additional information, refer to SPECIFICATIONS & DRIVE BELT ROUTING .
  4. Remove the water pump pulley.
  5. Disconnect the fuel charging wiring (9D930) from the oil control solenoid.
    • On early production vehicles, remove the connector cover from the engine appearance cover.
    • Disconnect the oil control solenoid.
  6. On early production vehicles, remove the engine appearance cover.
    Fig 3: Removing Engine Appearance Cover
    G02207234Courtesy of FORD MOTOR CO.
  7. Remove the ignition wires.
    Fig 4: Removing Ignition Wires
    G02207235Courtesy of FORD MOTOR CO.
  8. Remove the A/C compressor (19703). For additional information, refer to COMPRESSOR .
  9. Remove the battery ground cable (14301).
  10. Remove the generator (GEN) (10300). For additional information, refer to GENERATOR .
  11. Remove the generator mounting bracket (10153). For additional information, refer to GENERATOR .
  12. Disconnect the fuel charging wiring from the fuel temperature sensor and fuel pressure sensor.
  13. Remove the exhaust manifold heat shield.
    Fig 5: Removing Exhaust Manifold Heat Shield
    G02207236Courtesy of FORD MOTOR CO.
  14. Remove the exhaust manifold (9430).
    • Remove the nine nuts in the sequence shown.
    • Remove the exhaust manifold.
    • Remove the exhaust manifold gasket (9448).
    Fig 6: Removing Exhaust Manifold
    G02207237Courtesy of FORD MOTOR CO.
  15. Remove the throttle body. For additional information, refer to FUEL SYSTEMS .
  16. Remove the fuel injection supply manifold (9F792). For additional information, refer to FUEL SYSTEMS .
  17. Remove the intake manifold.
    • Remove the two nuts and seven bolts in the sequence shown.
    • Remove the intake manifold (9424).
    Fig 7: Removing Intake Manifold
    G02207238Courtesy of FORD MOTOR CO.
  18. Remove the water thermostat housing. For additional information, refer to ENGINE COOLING .
  19. Remove the crankcase ventilation tube (6758).
  20. Remove the water bypass tube.
    Fig 8: Removing Water Bypass Tube
    G02207239Courtesy of FORD MOTOR CO.
  21. Remove the oil separator.
    • Remove the bolts.
    • Remove the oil separator.
    • Remove the oil separator to cylinder block gasket (6B752) and discard.
    Fig 9: Removing Oil Separator
    G02207240Courtesy of FORD MOTOR CO.
  22. Remove the oil level indicator tube.
    Fig 10: Removing Oil Level Indicator Tube
    G02207241Courtesy of FORD MOTOR CO.
  23. Remove the fuel charging wiring.
  24. Remove the lower radiator hose (8286).
  25. Remove the ignition coil (12029), the radio ignition interference capacitor (18801) and the bracket.
  26. Remove the steering pump and brackets. For additional information, refer to POWER STEERING .
    Fig 11: Removing Steering Pump And Brackets
    G02207242Courtesy of FORD MOTOR CO.
  27. Remove the upper timing belt cover.
    Fig 12: Removing Upper Timing Belt Cover
    G02207243Courtesy of FORD MOTOR CO.
  28. Remove the valve cover (6582).
    • Remove the bolts and grommets.
    • Remove the spacers.
    • Remove the O-rings.
    • Remove the valve cover.
    • Remove the valve cover gasket (6584).
    Fig 13: Removing Valve Cover
    G02207244Courtesy of FORD MOTOR CO.
  29. NOTE: Identify spark plug location if new spark plugs are not going to be installed. Original spark plugs must be installed in their original locations.
    Fig 14: Removing Spark Plugs
    G02207245Courtesy of FORD MOTOR CO.
  30. Remove the spark plugs (12405).
  31. Remove the camshaft position sensor (CMP sensor) (6B288).
    Fig 15: Removing Camshaft Position Sensor
    G02207246Courtesy of FORD MOTOR CO.
  32. Remove the knock sensor.
    Fig 16: Removing Knock Sensor
    G02207247Courtesy of FORD MOTOR CO.
  33. Remove the center timing belt cover.
    Fig 17: Removing Center Timing Belt Cover
    G02207248Courtesy of FORD MOTOR CO.
  34. NOTE: Hold the camshaft (6250) with a wrench to prevent camshaft rotation.
    Fig 18: Removing Oil Plug On Variable Camshaft Timing Assembly
    G02207249Courtesy of FORD MOTOR CO.
  35. Remove the oil plug on the variable camshaft timing assembly.
  36. Remove the bolt then remove the crankshaft pulley (6312).
    Fig 19: Removing Crankshaft Pulley
    G02207250Courtesy of FORD MOTOR CO.
  37. Remove the lower timing belt cover.
    Fig 20: Removing Lower Timing Belt Cover
    G02207251Courtesy of FORD MOTOR CO.
  38. Remove the timing belt tensioner.
    Fig 21: Removing Timing Belt Tensioner
    G02207252Courtesy of FORD MOTOR CO.
  39. Remove the timing belt.
  40. NOTE: Hold the camshafts with a wrench to prevent camshaft rotation.
    Fig 22: Removing Camshaft Sprockets
    G02207253Courtesy of FORD MOTOR CO.
    Fig 23: Removing Idler Pulley (1 Of 2)
    G02207254Courtesy of FORD MOTOR CO.
  41. Remove the camshaft sprockets (6256).
  42. Remove the idler pulley.
    Fig 24: Removing Idler Pulley (2 Of 2)
    G02207255Courtesy of FORD MOTOR CO.
  43. Remove the crankshaft sprocket (6306) and timing belt guide.
    Fig 25: Removing Crankshaft Sprocket And Timing Belt Guide
    G02207256Courtesy of FORD MOTOR CO.
  44. Remove the camshaft timing belt guide pulleys.
  45. Remove the timing cover back plate.
    Fig 26: Removing Timing Cover Back Plate
    G02207257Courtesy of FORD MOTOR CO.
  46. Remove the water pump housing.
    Fig 27: Removing Water Pump Housing
    G02207258Courtesy of FORD MOTOR CO.
  47. Remove the bolts.
    Fig 28: Removing Bolts
    G02207259Courtesy of FORD MOTOR CO.
  48. Rotate the oil control solenoid assembly 90 degrees.
    Fig 29: Rotating Oil Control Solenoid Assembly
    G02207260Courtesy of FORD MOTOR CO.
  49. Remove the camshaft journal caps.
    • Loosen the bolts in several two-turn steps in the sequence shown.
    • Remove the bolts.
    Fig 30: Removing Camshaft Journal Caps
    G02207261Courtesy of FORD MOTOR CO.
  50. Remove camshaft front oil seals.
  51. NOTE: The oil control solenoid assembly and exhaust camshafts are removed as an assembly.
    Fig 31: Removing Camshafts
    G02207262Courtesy of FORD MOTOR CO.
  52. Remove the camshafts.
  53. NOTE: If valve tappets (6500) are being reused the valve tappet must be installed in its original position or engine damage may occur.
    Fig 32: Removing Valve Tappets
    G02207263Courtesy of FORD MOTOR CO.
  54. Remove valve tappets.
  55. CAUTION: The bolts are torque-to-yield, new bolts must be installed or possible engine damage may occur.
    Fig 33: Removing Cylinder Head And Head Gasket
    G02207264Courtesy of FORD MOTOR CO.
  56. Remove the cylinder head (6049) and the head gasket (6051).
  57. If the cylinder head is to be repaired. For additional information, refer to CYLINDER HEAD .
  58. Turn the engine upside down on the engine stand.
  59. Remove the crankshaft position sensor (CKP sensor) (6C315) and the bushing.
    Fig 34: Removing Crankshaft Position Sensor And Bushing
    G02207265Courtesy of FORD MOTOR CO.
  60. Remove the oil pan (6675).
    • Remove the bolts.
    • Remove the oil pan.
    • Clean sealing surfaces with a non-abrasive cleaner.
    Fig 35: Removing Oil Pan
    G02207266Courtesy of FORD MOTOR CO.
  61. Remove the oil pump cover and screen.
    • Remove the bolts.
    • Remove the oil pump cover and screen.
    • Remove and discard the oil pump inlet tube gasket (6626).
    Fig 36: Removing Oil Pump Cover And Screen
    G02207267Courtesy of FORD MOTOR CO.
  62. Remove the cylinder block cradle (6010) shims, if equipped.
  63. Remove the cylinder block cradle and the gasket.
    Fig 37: Removing Cylinder Block Cradle And Gasket
    G02207268Courtesy of FORD MOTOR CO.
  64. Remove the crankshaft front seal (6700). For additional information, refer to CRANKSHAFT FRONT OIL SEAL .
  65. Remove the oil pump (6600).
    • Remove the bolts.
    • Remove the oil pump.
    • Remove the oil pump to cylinder block gasket (6659).
    Fig 38: Removing Oil Pump
    G02207269Courtesy of FORD MOTOR CO.
  66. Remove the rear main oil seal retainer assembly and discard the gasket.
    Fig 39: Removing Rear Main Oil Seal Retainer Assembly
    G02207270Courtesy of FORD MOTOR CO.
  67. CAUTION: The connecting rods and connecting rod caps must be correctly oriented, the interlocking tangs on the same side of the connecting rod or possible engine damage may occur.
    CAUTION: The connecting rod bolts are torque-to-yield. Discard the connecting rod bolts.
    Fig 40: Removing Connecting Rod Caps
    G02207271Courtesy of FORD MOTOR CO.
  68. Remove the four connecting rod caps.
  69. If the connecting rod bearings are to be revised, each one must be identified so that it can be installed in its original location. Remove the four upper and four lower connecting rod bearings (6211).
    Fig 41: Removing Upper And Lower Connecting Rod Bearings
    G02207272Courtesy of FORD MOTOR CO.
  70. Remove the four piston and connecting rod assemblies.
    Fig 42: Removing Piston And Connecting Rod Assemblies
    G02207273Courtesy of FORD MOTOR CO.
  71. CAUTION: Make sure the main bearing caps are installed in their original position or possible engine damage may occur.
    • Remove the bolts.
    • Remove the crankshaft main bearing caps.
    • Remove the lower crankshaft main bearings (6333).
    Fig 43: Removing Crankshaft Main Bearing Caps
    G02207274Courtesy of FORD MOTOR CO.
  72. Remove the crankshaft (6303).
    Fig 44: Removing Crankshaft
    G02207275Courtesy of FORD MOTOR CO.
  73. Remove the upper crankshaft main bearing.
    Fig 45: Removing Upper Crankshaft Main Bearing
    G02207276Courtesy of FORD MOTOR CO.
  74. Remove the upper crankshaft main bearing and the upper crankshaft thrust main bearing (6337).
  75. Remove the crankshaft key.
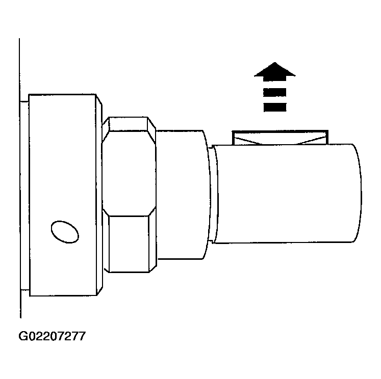
    Fig 46: Removing Crankshaft Key
    G02207277Courtesy of FORD MOTOR CO.
  76. If required, remove all the pipe plugs and alignment dowels.