LEMON Manuals: Even more car manuals for everyone: 1960-2025
Home >> Ford >> 2002 >> ZX2 Standard >> Repair and Diagnosis >> External Pages >> Different car >> Section 2126 (Module Communications Network System) >> Description And Operation >> Communications Network >> Notes
April 5, 2026: LEMON Manuals is launched! Read the announcement.

Communications Network: Notes

WARNING: This page is about a different car, the 2008 Mercury Mariner and 2008 Ford Escape. However, it is still accessible from the selected car via links, so may be relevant.

Vehicle communication utilizes both International Standards Organization (ISO) 9141 and controller area network (CAN) communications. ISO 9141 is used for diagnostic use only while CAN allows many modules to communicate with each other on a common network. CAN in-vehicle networking is a method for transferring data among distributed electronic modules via a serial data bus.

Without serial networking, intermodule communication requires dedicated, point to point wiring resulting in bulky, expensive, complex, and difficult to install wiring harnesses. Applying a serial data network reduces the number of wires, combining the signals on a single network. Information is sent to the individual control modules that control each function.

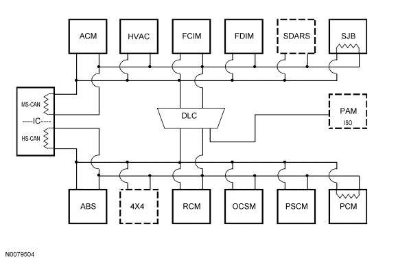
The vehicle has 3 module communication networks:

All 3 networks are connected to the data link connector (DLC). This makes diagnosis and testing of these systems easier by allowing one scan tool to be able to diagnose and control any module on the 3 networks from one connector. The DLC can be found under the instrument panel between the steering column and the audio control module (ACM).

Fig 1: Network Topology
GF0042736Courtesy of FORD MOTOR CO.
Module Name Network Type Termination Module
Audio control module (ACM) MS-CAN No
ABS module HS-CAN No
Heating ventilation air conditioning (HVAC) module MS-CAN No
Front controls interface module (FCIM) (if equipped) MS-CAN No
Front display interface module (FDIM) MS-CAN No
Instrument cluster (IC) (gateway module) HS-CAN
MS-CAN
Yes
Yes
Occupant classification system module (OCSM) HS-CAN No
Parking aid module (PAM) (if equipped) ISO 9141 N/A
PCM HS-CAN Yes
Power steering control module (PSCM) HS-CAN No
Restraints control module (RCM) HS-CAN No
Satellite digital audio receiver system (SDARS) module MS-CAN No
Smart junction box (SJB) MS-CAN Yes
4X4 control module (if equipped) HS-CAN No