LEMON Manuals: Even more car manuals for everyone: 1960-2025
Home >> Ford >> 2002 >> ZX2 Standard >> Repair and Diagnosis >> External Pages >> Different car >> Section 811 (Component Testing) >> Component Testing >> Mini ISO >> Notes
April 5, 2026: LEMON Manuals is launched! Read the announcement.

Mini ISO: Notes

WARNING: This page is about a different car, the 2003 Ford Focus. However, it is still accessible from the selected car via links, so may be relevant.
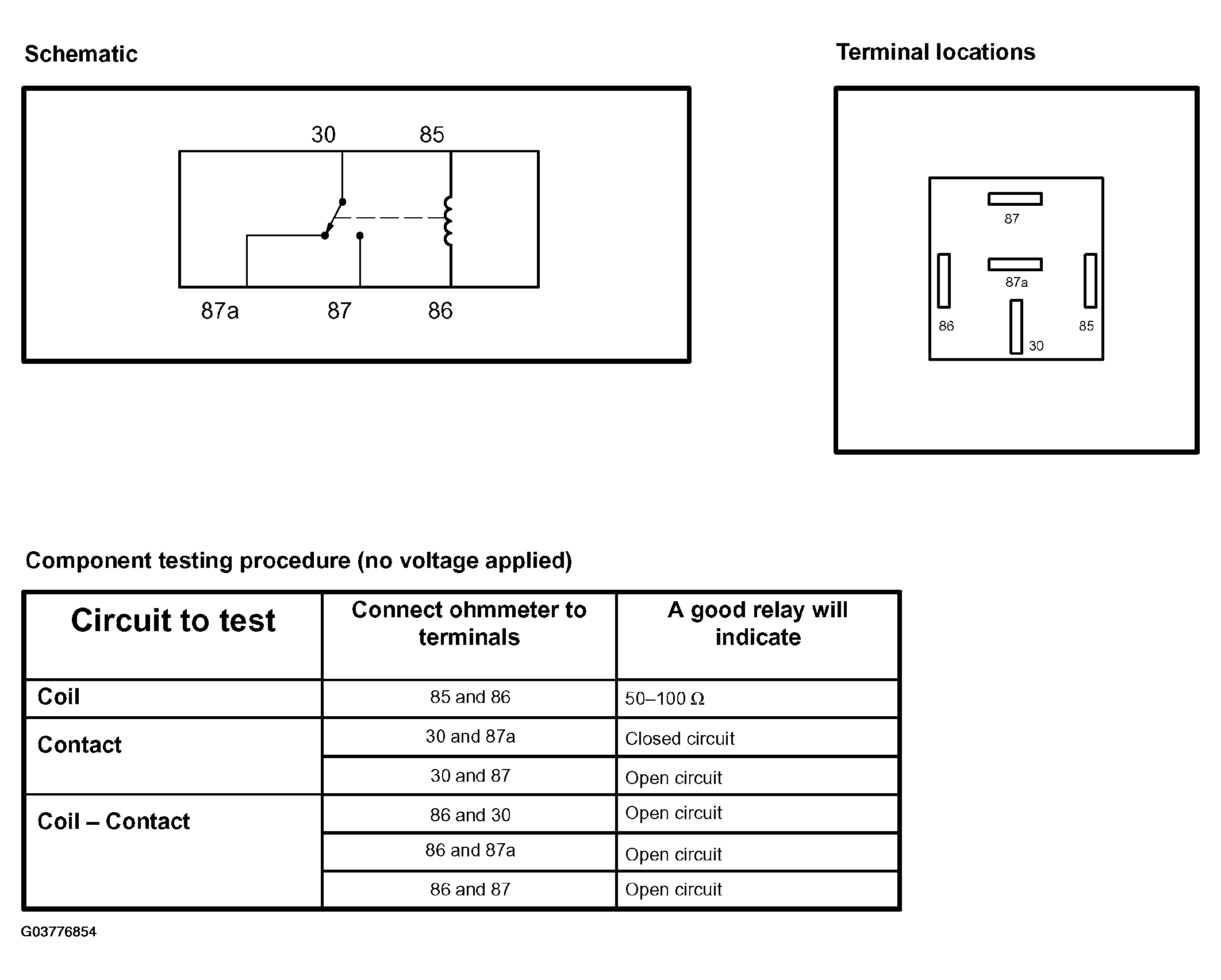
Fig 1: Testing Mini ISO
G03776854Courtesy of FORD MOTOR CO.