LEMON Manuals: Even more car manuals for everyone: 1960-2025
Home >> Ford >> 2003 >> Escape 2.0 B >> Repair and Diagnosis (Single Page) >> Accessories & Equipment >> Warning Systems >> Parking Aid System >> General Procedures >> Azimuth System Check >> Maximum Detectable Object Locations
April 5, 2026: LEMON Manuals is launched! Read the announcement.

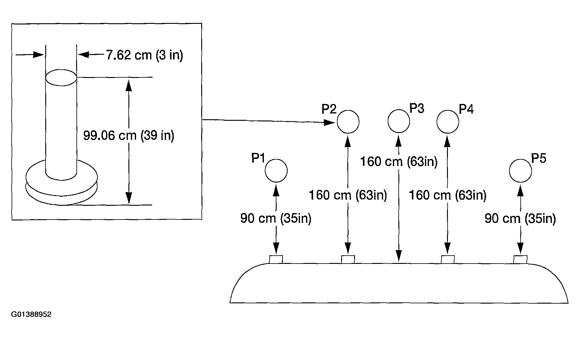
Maximum Detectable Object Locations

Fig 1: Identifying Maximum Detectable Object Locations
G01388952Courtesy of FORD MOTOR CO.
    NOTE: The object used in this system check can be fabricated from 7.62 cm (3 in) diameter pipe 99.06 cm (39 in) length.
    NOTE: The following system check should be carried out with the vehicle on a level surface.
    NOTE: The parking aid system will default to on when the ignition key is cycled from off to on.
  1. Turn the ignition to the ON position, engine off.
  2. Set the parking brake on.
  3. Place the gear shift in REVERSE.
  4. Verify that the parking aid system detects the specified object when placed in the five specified locations (P1, P2, P3, P4, P5).