LEMON Manuals: Even more car manuals for everyone: 1960-2025
Home >> Ford >> 2003 >> Escape 2.0 B >> Repair and Diagnosis >> Engine Performance >> Fuel Delivery >> Fuel System - General Information >> General Procedures >> Quick Release Coupling - Push Connect >> Disconnect
April 5, 2026: LEMON Manuals is launched! Read the announcement.

Quick Release Coupling - Push Connect: Disconnect

    WARNING: Do not smoke or carry lighted tobacco or open flame of any type when working on or near any fuel-related component. Highly flammable mixtures are always present and may be ignited. Failure to follow these instructions may result in personal injury.
    WARNING: Fuel in the fuel system remains under high pressure even when the engine is not running. Before repairing or disconnecting any of the fuel lines or fuel system components, the fuel pressure must be relieved to prevent accidental spraying of fuel, causing personal injury or a fire hazard. Failure to follow these instructions may result in personal injury.
  1. Relieve the fuel pressure. For additional information, refer to FUEL SYSTEM PRESSURE RELEASE-2.0L ZETEC  or FUEL SYSTEM PRESSURE RELEASE-3.0L (4V) .
  2. Disconnect the battery ground cable. For additional information, refer to BATTERY, MOUNTING AND CABLES .
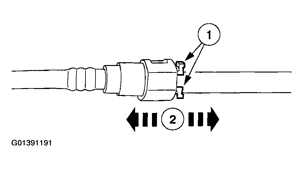
  3. Separate the coupling.
    1. Depress the tabs
    2. Separate the coupling.
      Fig 1: Separating Coupling
      G01391191Courtesy of FORD MOTOR CO.