LEMON Manuals: Even more car manuals for everyone: 1960-2025
Home >> Ford >> 2003 >> Escape 3.0 1, 4WD >> Repair and Diagnosis >> External Pages >> Different car >> Section 249 (Engine - 4.2L) >> Assembly >> Engine >> Assembly
April 5, 2026: LEMON Manuals is launched! Read the announcement.

Section 249 (Engine - 4.2L): Assembly: Engine: Assembly

WARNING: This page is about a different car, the 2003 Ford Econoline. However, it is still accessible from the selected car via links, so may be relevant.
  1. Install the upper crankshaft main bearings (6333) in the cylinder block (6010).
    • The third bearing from the front of the engine (6007) is the thrust bearing.
    Fig 1: Installing Upper Crankshaft Main Bearings
    G01536049Courtesy of FORD MOTOR CO.
  2. Install the lower crankshaft main bearings in the bearing caps.
    • The third bearing from the front of the engine is the thrust bearing.
    Fig 2: Installing Lower Crankshaft Main Bearings In Bearing Caps
    G01536050Courtesy of FORD MOTOR CO.
  3. NOTE: Make sure the Woodruff key is installed in the end of the crankshaft (6303).
    Fig 3: Installing Crankshaft
    G01536051Courtesy of FORD MOTOR CO.
  4. Install the crankshaft.
    • Lubricate the main bearings and crankshaft journals with clean engine oil.
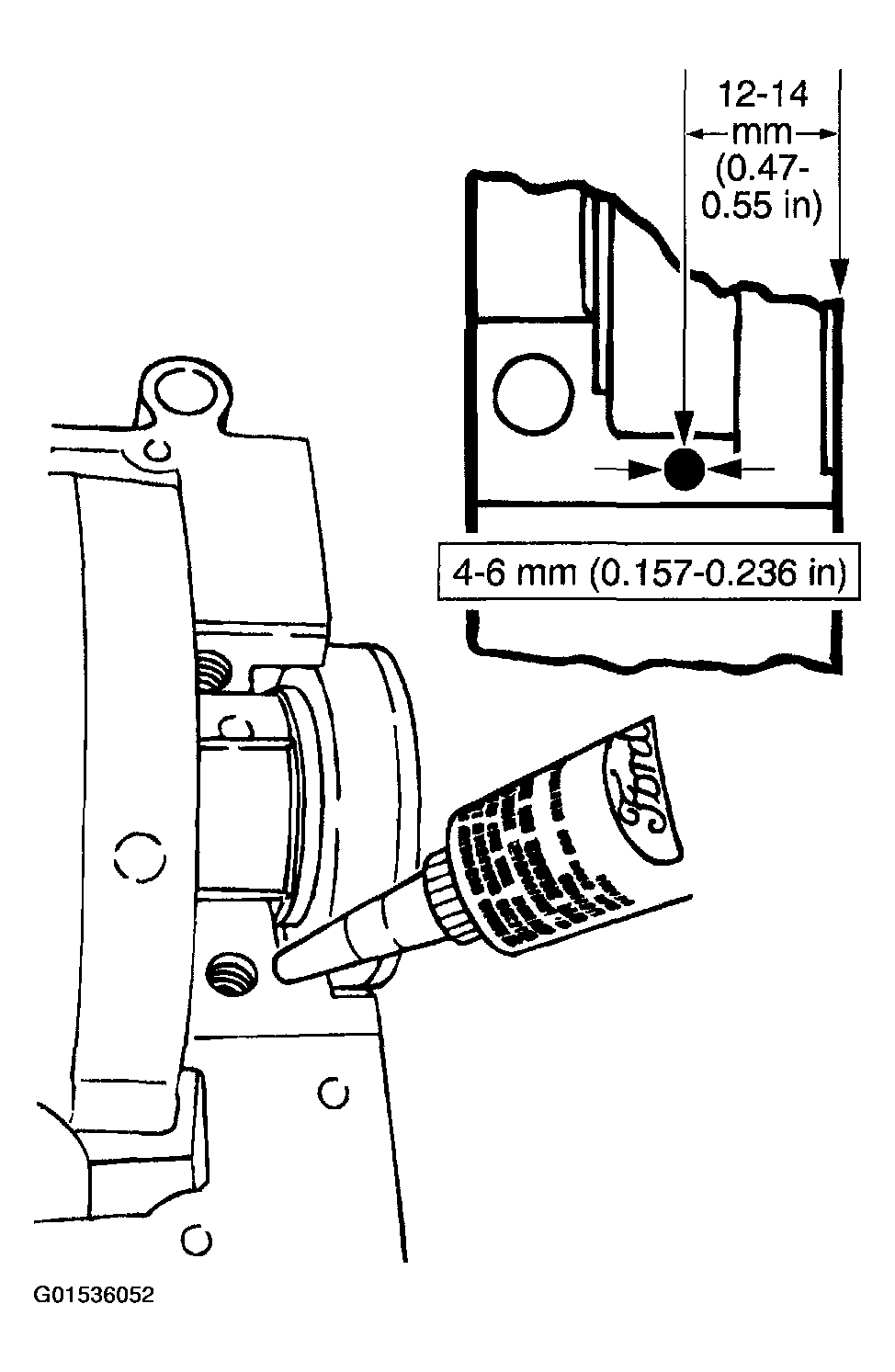
  5. NOTE: If not secured within four minutes, sealant must be removed and the sealing area cleaned with solvent. Allow to dry until there is no sign of wetness, or four minutes, whichever is longer. Failure to follow this procedure can cause future oil leakage.
    Fig 4: Applying Small Amount Of Sealant
    G01536052Courtesy of FORD MOTOR CO.
  6. Clean the mating surfaces on the rear main bearing cap and the cylinder block using metal surface cleaner.
    • Apply a small amount of sealant in the location shown in the illustration.
  7. Install the main bearing caps.
    • Arrows on the bearing caps indicate installation direction and location.
    • Tighten the two bolts and six stud bolts in two stages.
    • Stage 1: 50 Nm (37 lb-ft).
    • Stage 2: 115-125 degrees.
    Fig 5: Installing Main Bearing Caps
    G01536053Courtesy of FORD MOTOR CO.
  8. Install the camshaft (6250).
    • Lubricate the camshaft bearings (6261), lobes and journals with clean engine oil.
    Fig 6: Lubricating Camshaft Bearings, Lobes And Journals
    G01536054Courtesy of FORD MOTOR CO.
  9. Install the engine dynamic balance shaft (6A311).
    • Lubricate the balance shaft bearings with clean engine oil.
    Fig 7: Installing Engine Dynamic Balance Shaft
    G01536055Courtesy of FORD MOTOR CO.
  10. Install the timing chain vibration damper (6284).
    Fig 8: Installing Timing Chain Vibration Damper
    G01536056Courtesy of FORD MOTOR CO.
  11. Install the balance shaft drive gear.
    • Timing marks on the balance shaft drive gear and driven gear must align.
    Fig 9: Installing Balance Shaft Drive Gear
    G01536057Courtesy of FORD MOTOR CO.
  12. Install the crankshaft sprocket (6306), camshaft sprocket (6256) and timing chain as an assembly.
    1. Timing marks on gears and keyways on shafts must align.
    Fig 10: Aligning Timing Marks On Gears And Keyways On Shafts
    G01536058Courtesy of FORD MOTOR CO.
  13. Install the synchronizer drive gear.
    Fig 11: Installing Synchronizer Drive Gear
    G01536059Courtesy of FORD MOTOR CO.
  14. Install the bearings in the piston connecting rod and rod cap.
    • Lubricate the connecting rod bearings (6211) and crankshaft journals with clean engine oil.
    • Lubricate the cylinder walls with clean engine oil and install the pistons. The arrow on the top of the piston must face the front of the engine and the notches in the bearing shells must align.
    Fig 12: Installing Bearings In Piston Connecting Rod And Rod Cap
    G01536060Courtesy of FORD MOTOR CO.
  15. NOTE: All timing marks must be aligned with the number one piston at TDC.
    Fig 13: Aligning Timing Marks
    G01536061Courtesy of FORD MOTOR CO.
  16. Turn the crankshaft to position the number one piston at top dead center (TDC). Crankshaft must not be turned until camshaft synchronizer is installed.
  17. Position a new engine front cover gasket and install the engine front cover.
    • Tighten the bolts in the sequence shown in three stages.
    • Stage 1: Tighten bolts 1-11 and 13 to 25 Nm (16 lb-ft).
    • Stage 2: Tighten bolt 10 to 12 Nm (89 lb-in).
    • Stage 3: Tighten bolts 1-11 and 13 an additional 90 degrees.
  18. Position the oil baffle assembly and install the five bolts.
    Fig 14: Installing Oil Baffle Assembly
    G01536062Courtesy of FORD MOTOR CO.
  19. Install the oil pump screen cover and tube (6622).
    • Use a new gasket.
    Fig 15: Installing Oil Pump Screen Cover And Tube
    G01536063Courtesy of FORD MOTOR CO.
  20. NOTE: If not secured within four minutes, sealant must be removed and the sealing area cleaned with solvent. Allow to dry until there is no sign of wetness, or four minutes, whichever is longer. Failure to follow this procedure can cause future oil leakage.
    Fig 16: Applying Bead Of Sealant
    G01536064Courtesy of FORD MOTOR CO.
  21. Clean mating surfaces on the oil pan (6675) and the cylinder head (6049) using metal surface cleaner.
    • Apply a bead of sealant as shown in the illustration.
  22. Install the rear seal and oil pan.
    • Tighten the bolts in two stages in the sequence shown.
    • Stage 1: 4-5 Nm (36-44 lb-in).
    • Stage 2: 9-12 Nm (80-106 lb-in).
    Fig 17: Tightening Bolts In Sequence
    G01536065Courtesy of FORD MOTOR CO.
  23. Install the camshaft synchronizer. For additional information, refer to CAMSHAFT SYNCHRONIZER (4.2L) .
  24. Install the water bypass hose (8597).
    • Use a new O-ring seal.
    Fig 18: Installing Water Bypass Hose
    G01536066Courtesy of FORD MOTOR CO.
  25. Install the valve tappets (6500) and tappet guides.
    • Lubricate the tappet bore and tappet roller with clean engine oil.
    Fig 19: Installing Valve Tappets And Tappet Guides
    G01536067Courtesy of FORD MOTOR CO.
  26. Install the cylinder heads.
    • Use new gaskets and bolts.
    • Tighten the bolts in three stages in the sequence shown:
    • Stage 1: 20 Nm (14 lb-ft).
    • Stage 2: 40 Nm (29 lb-ft).
    • Stage 3: 50 Nm (36 lb-ft).
    Fig 20: Tightening Bolts In Sequence
    G01536068Courtesy of FORD MOTOR CO.
  27. CAUTION: Do not loosen all of the bolts at one time. Each bolt must be loosened and the final tightening completed prior to working on the next bolt in the sequence.
    Fig 21: Tightening Bolts In Sequence
    G01536069Courtesy of FORD MOTOR CO.
  28. In the sequence shown, loosen the bolt three turns, then tighten the (A) short bolt or (B) long bolt to the specification indicated, and then further tighten the bolt to the (C) degrees indicated.
  29. NOTE: Lubricate the ends of the push rods and rocker arm seats with clean engine oil.
    Fig 22: Installing Rocker Arms, Rocker Arm Seats And Push Rods
    G01536070Courtesy of FORD MOTOR CO.
  30. Install the rocker arms (6564), rocker arm seats and push rods in the following positions:
    • Number 1 - intake and exhaust
    • Number 2 - exhaust
    • Number 3 - intake
    • Number 4 - exhaust
    • Number 6 - intake
  31. Rotate the crankshaft 180 degrees.
    Fig 23: Rotating Crankshaft 180 Degrees
    G01536071Courtesy of FORD MOTOR CO.
  32. Install the remaining push rods (6565), rocker arms and rocker arm seats (6A528).
    Fig 24: Installing Remaining Push Rods, Rocker Arms And Rocker Arm Seats
    G01536072Courtesy of FORD MOTOR CO.
  33. Install the valve covers (6582).
    Fig 25: Installing Valve Covers
    G01536073Courtesy of FORD MOTOR CO.
  34. Install the exhaust manifolds (9430).
    • Use a new gasket.
    Fig 26: Installing Exhaust Manifolds
    G01536074Courtesy of FORD MOTOR CO.
  35. Install the oil level indicator tube (6754).
    • Use a new O-ring seal.
    Fig 27: Installing Oil Level Indicator Tube
    G01536075Courtesy of FORD MOTOR CO.
  36. Install the engine lifting eyes (left side shown; right side similar).
    Fig 28: Installing Engine Lifting Eyes
    G01536076Courtesy of FORD MOTOR CO.
  37. Install the crankshaft front seal (6700).
    • A seal installer will be needed.
    Fig 29: Installing Crankshaft Front Seal
    G01536077Courtesy of FORD MOTOR CO.
  38. Using the special tool, install the crankshaft damper.
    Fig 30: Installing Crankshaft Damper
    G01536078Courtesy of FORD MOTOR CO.
  39. Install the crankshaft damper bolt.
    Fig 31: Installing Crankshaft Damper Bolt
    G01536079Courtesy of FORD MOTOR CO.
  40. Install the water pump pulley (8509).
    Fig 32: Installing Water Pump Pulley
    G01536080Courtesy of FORD MOTOR CO.
  41. Install the A/C compressor mounting and support brackets.
    Fig 33: Installing A/C Compressor Mounting And Support Brackets
    G01536081Courtesy of FORD MOTOR CO.
  42. Install the generator mounting bracket and belt idler pulley (8678).
    Fig 34: Installing Generator Mounting Bracket
    G01536082Courtesy of FORD MOTOR CO.
  43. Install the oil bypass filter (6714) and engine oil cooler (6A642) (if so equipped).
    Fig 35: Installing Oil Bypass Filter
    G01536083Courtesy of FORD MOTOR CO.
  44. Install the heated oxygen sensors (HO2S) (9F472).
    Fig 36: Installing Heated Oxygen Sensors
    G01536084Courtesy of FORD MOTOR CO.
  45. Install the engine mounts.
    Fig 37: Installing Engine Mounts
    G01536085Courtesy of FORD MOTOR CO.
  46. Install the special tool.
    Fig 38: Installing Special Tool
    G01536086Courtesy of FORD MOTOR CO.
  47. Remove the engine from the stand.
  48. NOTE: Lubricate the crankshaft rear seal lips with clean engine oil prior to installation.
    Fig 39: Assembling Special Tools And Crankshaft Rear Seal
    G01536087Courtesy of FORD MOTOR CO.
  49. Assemble the special tools and the crankshaft rear seal.
  50. Install the special tools on the rear of the crankshaft.
    Fig 40: Installing Special Tools On Rear Of Crankshaft
    G01536088Courtesy of FORD MOTOR CO.
  51. Install the crankshaft rear seal. Tighten the center jack screw (303-S560) until the spacer (303-561) contacts the engine block.
    Fig 41: Installing Crankshaft Rear Seal
    G01536089Courtesy of FORD MOTOR CO.
  52. Install the rear cover plate and flywheel (6375).
    Fig 42: Installing Rear Cover Plate And Flywheel
    G01536090Courtesy of FORD MOTOR CO.