LEMON Manuals: Even more car manuals for everyone: 1960-2025
Home >> Ford >> 2003 >> Excursion 6.0 P, 4WD >> Repair and Diagnosis >> External Pages >> Different car >> Section 397 (Steering System) >> Disassembly And Assembly >> Steering Column >> Item 19 And 20: Steering Column Bearing Disassembly Note
April 5, 2026: LEMON Manuals is launched! Read the announcement.

Item 19 And 20: Steering Column Bearing Disassembly Note

WARNING: This page is about a different car, the 2004 Mercury Monterey and 2004 Ford Freestar. However, it is still accessible from the selected car via links, so may be relevant.
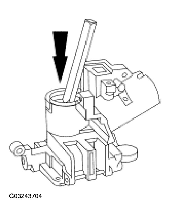
  1. Use a suitable tool to remove the steering column lower bearing from the steering column lock cylinder housing.
    Fig 1: Removing Steering Column Lower Bearing
    G03243704Courtesy of FORD MOTOR CO.