LEMON Manuals: Even more car manuals for everyone: 1960-2025
Home >> Ford >> 2003 >> Excursion 6.0 P, 4WD >> Repair and Diagnosis >> External Pages >> Different car >> Section 64 (Engine Controls - Self-Diagnostics) >> System Tests >> Test B: Pcm Relay >> Testing
April 5, 2026: LEMON Manuals is launched! Read the announcement.

Test B: Pcm Relay: Testing

WARNING: This page is about a different car, the 2002 Mercury Villager. However, it is still accessible from the selected car via links, so may be relevant.

  1. 1) Check VPWR To PCM

    Turn ignition off. Disconnect PCM harness connector. Inspect connector for damaged pins and repair if necessary. Connect jumper wire between PCMR and GND circuits at PCM harness connector. See Figure and Figure . Turn ignition on. Using DVOM, measure voltage between GND and VPWR circuits at PCM harness connector terminals. See PCM TERMINAL CIRCUIT IDENTIFICATION  table. If any voltage is 10 volts or less, go to next step. If all voltages are more than 10 volts, go to step  7).
  2. 2) Check VPWR Circuit From PCM Relay To PCM

    Turn ignition off. Remove PCM relay located behind right side of dash panel, behind glove box. Using DVOM, measure resistance of VPWR circuit (Black/White wire) between PCM harness connector and PCM relay harness connector. See Figure and Figure . If resistance is less than 5 ohms, go to next step. If resistance is 5 ohms or more, repair open in VPWR circuit. See WIRING DIAGRAMS article.
  3. 3) Check PWR Circuits To PCM Relay

    Turn ignition on. Using DVOM, measure voltage between PWR circuits (Red wires) at PCM relay harness connector and battery negative terminal. If voltages are more than 10 volts, go to next step. If any voltage is 10 volts or less, check fuse No. 6 (10-amp) in battery junction box. If fuse is blown, replace fuse. If fuse is okay, repair open in PWR circuit. See WIRING DIAGRAMS article.
  4. 4) Check Ground To PCM Relay

    Turn ignition off. Reconnect PCM connector. Ensure PCM relay is disconnected. Turn ignition on. Using DVOM, measure voltage between PWR terminal (Red wire) and PCMR terminal (White/Green wire) at PCM relay harness connector. See Figure and Figure . If voltage is more than 10 volts, go to step  6). If voltage is 10 volts or less, go to next step.
  5. 5) Check Continuity Of PCM Relay Circuit

    Turn ignition off. Ensure PCM relay is removed. Disconnect PCM harness connector. Inspect connector for damaged pins and repair if necessary. Using DVOM, measure resistance of PCMR circuit (White/Green wire) between PCM harness connector and PCM relay harness connector. If resistance is less than 5 ohms, replace PCM. If resistance is 5 ohms or more, repair open in White/Green wire. See WIRING DIAGRAMS article.
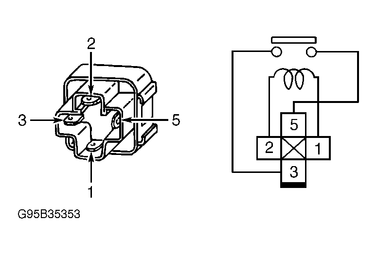
  6. 6) Check PCM Relay

    Ensure ignition is off. Connect jumper wire between battery power and PCM relay terminal No. 1 (PWR circuit). Connect another jumper wire between negative battery terminal and PCM relay terminal No. 2 (GND circuit). See Figure. Check for continuity between relay terminals No. 3 and 5. If continuity is present, go to next step. If continuity is not present, replace relay.
  7. 7) Check Ground Circuits At PCM

    Leave ignition off. Disconnected PCM harness connector. Using DVOM, measure resistance of GND circuits between negative battery terminal and PCM harness connector terminals. See PCM TERMINAL CIRCUIT IDENTIFICATION  table. See Figure and Figure . If all resistances are less than 5 ohms, ground circuits are okay. Replace PCM. If any resistance is 5 ohms or more, repair open in affected ground circuit. See WIRING DIAGRAMS article.