LEMON Manuals: Even more car manuals for everyone: 1960-2025
Home >> Ford >> 2003 >> Excursion 7.3 F, RWD >> Repair and Diagnosis >> External Pages >> Different car >> Section 2302 (Electrical Compass - Electronic Compass) >> Diagnosis And Testing >> Electronic Compass >> Pinpoint Tests >> Pinpoint Test A: The Compass Is Inoperative >> Pinpoint Test A: The Compass Is Inoperative
April 5, 2026: LEMON Manuals is launched! Read the announcement.

Pinpoint Test A: The Compass Is Inoperative

WARNING: This page is about a different car, the 2010 Mercury Mariner and 2010 Ford Escape. However, it is still accessible from the selected car via links, so may be relevant.
NOTE: Use the correct probe adapter(s) when making measurements. Failure to use the correct probe adapter(s) may damage the connector.
NOTE: Failure to disconnect the battery when instructed will result in false resistance readings. Refer to BATTERY DISCONNECT .
  1. A1 CHECK THE COMPASS DISPLAY 
    • Ignition ON.
    • Check the compass display.
    • Does the compass display illuminate? 
    • Yes:  If the compass display illuminates with only 2 bars, GO to  A3.

      If the compass display turns on, but it does not display all directions, or indicates CAL, GO to PINPOINT TEST B .

    • No:  GO to A2  .
  2. A2 CHECK THE VEHICLE CONFIGURATION 
    • Verify the vehicle is equipped with the compass feature.
    • Is the vehicle equipped with the compass feature? 
    • Yes:  REFER to FRONT DISPLAY INTERFACE MODULE (FDIM) to diagnose the FDIM  display.
    • No:  RETURN the vehicle to the customer and ADVISE them the vehicle is not equipped with a compass display feature.
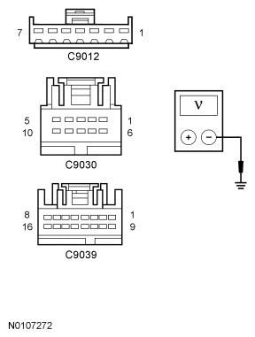
  3. A3 CHECK THE INTERIOR REAR VIEW MIRROR POWER CIRCUIT FOR VOLTAGE 
    • Ignition OFF.
    • Disconnect: Interior Rear View Mirror C9012 (Without Camera Mirror, Without SYNC), C9030 (Without Camera Mirror, With SYNC) or C9039 (With Camera Mirror, With SYNC).
    • Ignition ON.
    • Measure the voltage between the interior rear view mirror, harness side and ground as follows:
      CONNECTOR PIN REFERENCE

      Component Connector-Pin Circuit
      Without camera mirror, without SYNC C9012-1 CBP41 (BU)
      Without camera mirror, with SYNC C9030-1 CBP41 (BU)
      With camera mirror, with SYNC C9039-1 CBP41 (BU)
      Fig 1: Measuring Voltage Between Interior Rear View Mirror And Ground
      G06391150Courtesy of FORD MOTOR CO.
    • Is the voltage greater than 10 volts? 
    • Yes:  GO to A4  .
    • No:  VERIFY the SJB  fuse 41 (15A) is OK. If OK, REPAIR the circuit. If not OK, REFER to the appropriate System WIRING DIAGRAMS article to identify the possible causes of the circuit short. CLEAR the DTCs. REPEAT the self-test. TEST the system for normal operation.
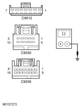
  4. A4 CHECK THE INTERIOR REAR VIEW MIRROR GROUND CIRCUIT FOR AN OPEN 
    • Ignition OFF.
    • Disconnect: Negative Battery Cable.
    • Measure the resistance between the interior rear view mirror, harness side and ground as follows:
      CONNECTOR PIN REFERENCE

      Component Connector-Pin Circuit
      Without camera mirror, without SYNC C9012-3 GD182 (BK/GY)
      Without camera mirror, with SYNC C9030-10 GD182 (BK/GY)
      With camera mirror, with SYNC C9039-3 GD182 (BK/GY)
      Fig 2: Checking Circuit
      G06391151Courtesy of FORD MOTOR CO.
    • Is the resistance less than 5 ohms? 
    • Yes:  GO to A5  .
    • No:  REPAIR the circuit. CONNECT the negative battery cable. CLEAR the DTCs. REPEAT the self-test. TEST the system for normal operation.
  5. A5 CHECK THE COMPASS (+) COMMUNICATION CIRCUIT FOR AN OPEN OR A SHORT TO GROUND 
    • Disconnect: IC C220.
    • Measure the resistance between the interior rear view mirror, harness side and the IC  , harness side; and between the interior rear view mirror, harness side and ground as follows:
      METER LEAD CHART

      Component Positive Meter Lead Negative Meter Lead Circuit
      Without camera mirror, without SYNC C9012-6 C220-16 VMC31 (GY/BU)
      Without camera mirror, with SYNC C9030-6 C220-16 VMC31 (GY/BU)
      With camera mirror, with SYNC C9039-9 C220-16 VMC31 (GY/BU)
      Fig 3: Checking Circuit
      G06391152Courtesy of FORD MOTOR CO.
    • Is the resistance less than 5 ohms between the interior rear view mirror and the IC  , and greater than 10,000 ohms between the interior rear view mirror and ground? 
    • Yes:  GO to A6  .
    • No:  REPAIR the circuit. CONNECT the negative battery cable. CLEAR the DTCs. REPEAT the self-test.
  6. A6 CHECK THE COMPASS (-) COMMUNICATION CIRCUIT FOR AN OPEN OR SHORT TO GROUND 
    • Measure the resistance between the interior rear view mirror, harness side and the IC  , harness side; and between the interior rear view mirror, harness side and ground as follows:
      METER LEAD CHART

      Component Positive Meter Lead Negative Meter Lead Circuit
      Without camera mirror, without SYNC C9012-7 C220-17 VMC30 (BU/GY)
      Without camera mirror, with SYNC C9030-2 C220-17 VMC30 (BU/GY)
      With camera mirror, with SYNC C9039-10 C220-17 VMC30 (BU/GY)
      Fig 4: Checking Circuit
      G06391152Courtesy of FORD MOTOR CO.
    • Is the resistance less than 5 ohms between the interior rear view mirror and the IC  , and greater than 10,000 ohms between the interior rear view mirror and ground? 
    • Yes:  GO to A7  .
    • No:  REPAIR the circuit. CONNECT the negative battery cable. CLEAR the DTCs. REPEAT the self-test.
  7. A7 CHECK FOR DTC U2013 
    • Connect: Negative Battery Cable.
    • Connect: IC  C220.
    • Connect: Interior Rear View Mirror C9012 (Without Camera Mirror, Without SYNC), C9030 (Without Camera Mirror, With SYNC) or C9039 (With Camera Mirror, With SYNC).
    • Ignition ON.
    • Clear the DTCs.
    • Ignition OFF.
    • Ignition ON.
    • Wait 10 seconds.
    • Retrieve the IC  DTCs.
    • Is DTC U2013 present? 
  8. A8 CHECK FOR CORRECT IC OPERATION 
    • Disconnect the IC connector.
    • Check for:
      • corrosion
      • damaged pins
      • pushed-out pins
    • Connect the IC connector and make sure it seats correctly.
    • Operate the system and verify the concern is still present.
    • Is the concern still present?