LEMON Manuals: Even more car manuals for everyone: 1960-2025
Home >> Ford >> 2003 >> Explorer 4.6 W, AWD >> Repair and Diagnosis >> Engine Mechanical >> Mechanical >> Engine System-General Information >> General Procedures >> Piston - Pin Diameter
April 5, 2026: LEMON Manuals is launched! Read the announcement.

Piston - Pin Diameter

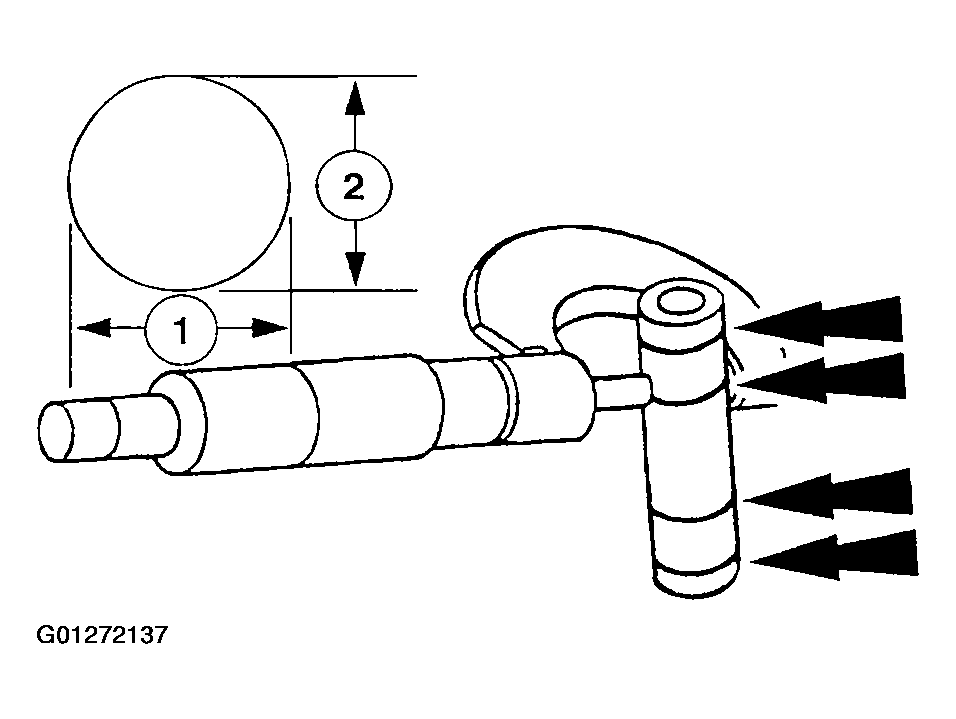
  1. Measure the piston pin diameter in two directions at the points shown. Verify the diameter is within specification.
    • Refer to the appropriate ENGINE article for the procedure.
    • If out of specification, install new components as necessary. Refer to the appropriate ENGINE article for the procedure.
    Fig 1: Measuring Piston Pin Diameter
    G01272137Courtesy of FORD MOTOR CO.