LEMON Manuals: Even more car manuals for everyone: 1960-2025
Home >> Ford >> 2003 >> Focus LX, 2.3 Z, Automatic >> Repair and Diagnosis (Single Page) >> Steering >> Steering Column >> Steering Column >> Disassembly And Assembly >> Steering Column - SVT >> Assembly
April 5, 2026: LEMON Manuals is launched! Read the announcement.

Steering Column - SVT: Assembly

    Vehicles With Stability Assist 

    WARNING: Do not install a new steering wheel rotation sensor if the locking pin has been removed. Failure to follow this instruction may result in personal injury.
    WARNING: Before fitting the steering wheel rotation sensor, make sure the rotor is in the correct position. Failure to follow this instruction may result in personal injury.
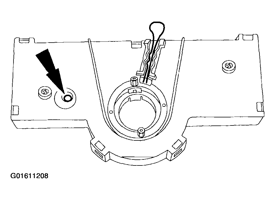
    Fig 1: Aligning Steering Wheel Rotation Sensor
    G01611208Courtesy of FORD MOTOR CO.
  1. Align the steering wheel rotation sensor.
  2. WARNING: Make sure the steering wheel rotation sensor retaining screws are not over tightened. Failure to follow this instruction may result in personal injury.
    Fig 2: Installing Steering Wheel Rotation Sensor Clamp
    G01611209Courtesy of FORD MOTOR CO.
  3. Install the steering wheel rotation sensor.
  4. WARNING: Make sure the steering wheel rotation sensor clamp retaining screws are not over tightened. Failure to follow this instruction may result in personal injury.
  5. Install the steering wheel rotation sensor clamp.
    1. Install the retaining screws.
    2. Apply Constant Velocity Joint Grease (High Temp)
      Fig 3: Installing Steering Wheel Rotation Sensor Clamp
      G01611210Courtesy of FORD MOTOR CO.
  6. All Vehicles 

    NOTE: Make sure the steering column shafts are aligned correctly.
    Fig 4: Connecting Two Halves Of Steering Column
    G01611211Courtesy of FORD MOTOR CO.
  7. Connect the two halves of the steering column.
  8. WARNING: Make sure the breakaway capsules are located in the holes in the bracket. Failure to follow this instruction may result in personal injury.
    WARNING: Make sure the bolt is not over tightened. Failure to follow this instruction may result in personal injury.
  9. Tighten the steering column bolt.
    1. Align the breakaway capsules.
    2. Tighten the steering column bolt.
      Fig 5: Tightening Steering Column Bolt
      G01611212Courtesy of FORD MOTOR CO.
  10. Install the ignition switch lock cylinder.
    1. Insert the lock cylinder.
    2. Install the ignition switch lock.
      Fig 6: Installing Ignition Switch Lock Cylinder
      G01611213Courtesy of FORD MOTOR CO.
  11. Install the ignition switch.
    Fig 7: Installing Ignition Switch
    G01611214Courtesy of FORD MOTOR CO.
  12. Install the PATS transceiver.
    Fig 8: Installing PATS Transceiver
    G01611215Courtesy of FORD MOTOR CO.
  13. WARNING: Incorrect centralization may result in premature component failure. If in doubt when centralizing the clockspring, repeat the centralizing procedure. Failure to follow this instruction may result in personal injury.
    NOTE: After centralizing the clockspring make sure the clockspring is not allowed to rotate. Secure in the central position with a piece of suitable tape.
  14. Centralize the clockspring.
    1. Turn the clockspring in a COUNTERCLOCKWISE direction until a resistance is felt (approximately 2.5 turns from the central position).
    2. Turn the clockspring CLOCKWISE 2.5 turns until the arrow marked on the center of the sliding contact aligns with the raised "V" section at the 12 o'clock position on the outer cover of the clockspring. The clockspring is now centralized.
      Fig 9: Centralizing Clockspring
      G01611216Courtesy of FORD MOTOR CO.
  15. CAUTION: Make sure the spacing collar is correctly located. Do not assemble if the spacing collar is missing.
  16. Install the clockspring.
    • Make sure both the retaining tangs lock into position on the steering column.
      Fig 10: Installing Clockspring
      G01611217Courtesy of FORD MOTOR CO.
  17. Install the steering column multifunction switches.
    Fig 11: Installing Steering Column Multifunction Switches
    G01611218Courtesy of FORD MOTOR CO.
  18. Remove the tape from the clockspring.
  19. Install the steering wheel.
    Fig 12: Installing Steering Wheel
    G01611219Courtesy of FORD MOTOR CO.
  20. Connect the speed control electrical connector (if equipped).
    Fig 13: Connecting Speed Control Electrical Connector
    G01611220Courtesy of FORD MOTOR CO.
  21. Right-hand drive vehicles 

    NOTE: The ignition lock shield retaining bolts are designed to shear at the specified torque.
    Fig 14: Installing Ignition Lock Shield
    G01611221Courtesy of FORD MOTOR CO.
  22. Install the ignition lock shield.
  23. NOTE: The ignition lock shield retaining bolts are designed to shear at the specified torque.
    Fig 15: Installing Ignition Lock Shield Upper Retaining Bolt
    G01611222Courtesy of FORD MOTOR CO.
  24. Install the ignition lock shield upper retaining bolt.