LEMON Manuals: Even more car manuals for everyone: 1960-2025
Home >> Ford >> 2003 >> Focus ZX3, 2.3 Z, Automatic >> Repair and Diagnosis >> Transmission >> Automatic Trans >> Automatic Transmission >> Disassembly And Assembly Of Subassemblies >> Direct Clutch >> Assembly
April 5, 2026: LEMON Manuals is launched! Read the announcement.

Direct Clutch: Assembly

  1. Soak the internal spline clutch plates in clean automatic transmission fluid for 15 minutes before assembly.
  2. Inspect the direct clutch piston bore surfaces for nicks or scratches. Install a new direct clutch piston if necessary.
  3. Lubricate and install the direct clutch piston.
    Fig 1: Installing Direct Clutch Piston
    G01612818Courtesy of FORD MOTOR CO.
  4. Install the direct clutch return spring.
    Fig 2: Installing Direct Clutch Return Spring
    G01612819Courtesy of FORD MOTOR CO.
  5. Install the direct clutch balance piston.
    Fig 3: Installing Direct Clutch Balance Piston
    G01612820Courtesy of FORD MOTOR CO.
  6. Using the special tool, install the selective snap ring.
    Fig 4: Installing Selective Snap Ring
    G01612821Courtesy of FORD MOTOR CO.
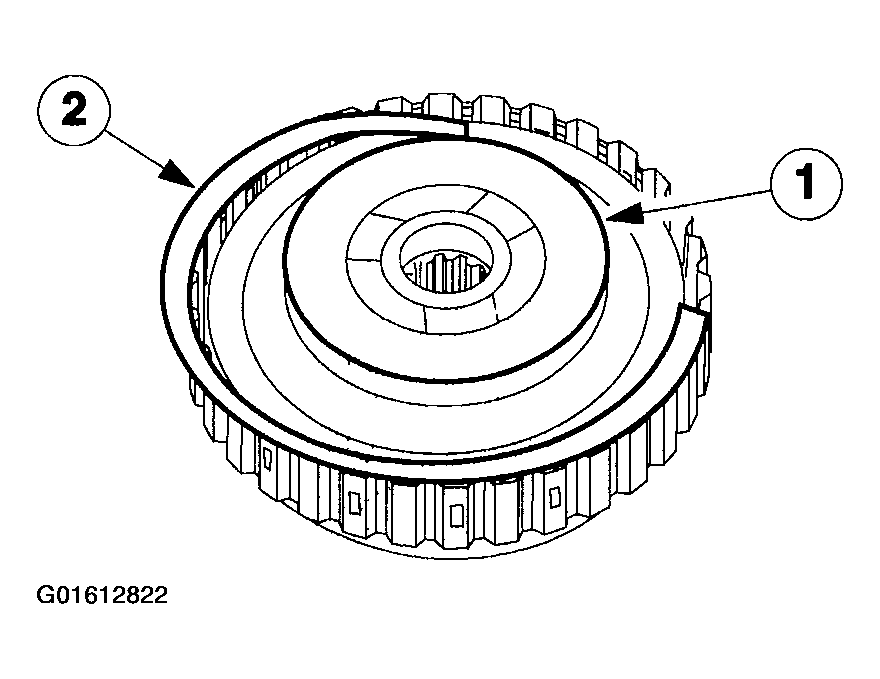
  7. Install the direct clutch pressure, friction and steelplates.
    1. Install the plates.
    2. Install the retaining ring.
      • Check the clearance. For additional information, refer to SPECIFICATIONS .
    Fig 5: Installing Direct Clutch Pressure, Friction And Steelplates
    G01612822Courtesy of FORD MOTOR CO.