LEMON Manuals: Even more car manuals for everyone: 1960-2025
Home >> Ford >> 2003 >> Mustang Base, 2D Convertible, Automatic >> Repair and Diagnosis >> External Pages >> Different car >> Section 1226 (Cruise Control System) >> Diagnosis And Testing >> Speed Control - Hybrid >> Pinpoint Tests >> Pinpoint Test J: The Speed Control Is Inoperative >> Pinpoint Test J: The Speed Control Is Inoperative
April 5, 2026: LEMON Manuals is launched! Read the announcement.

Pinpoint Test J: The Speed Control Is Inoperative

WARNING: This page is about a different car, the 2006 Mercury Mariner and 2006 Ford Escape. However, it is still accessible from the selected car via links, so may be relevant.
  1. J1 CHECK THE PARKING BRAKE WARNING INDICATOR 
    • Key in ON position.
    • Apply and release the parking brake while observing the brake warning indicator.
    • Does the parking brake warning operate correctly? 

    Yes  : GO to J2.

    No  : REFER to INSTRUMENT CLUSTER to continue diagnosis of the parking brake warning indicator.

  2. J2 CHECK CIRCUITS 151 (LB/BK) AND 848 (DG/OG) FOR A SHORT TO VOLTAGE 
    • Key in OFF position.
    • Disconnect: PCM C175b.
    • Remove the driver air bag. Refer to SUPPLEMENTAL RESTRAINT SYSTEM .
    • Connect: Restraint System Diagnostic Tool 418-F403.
    • Disconnect: Clockspring C218a.
    • WARNING: Make sure there is no one inside the vehicle and that there is nothing blocking or set in front of any air bag module when the battery is connected. Failure to follow these instructions may result in personal injury.
    • Connect the battery.
    • Key in ON position.
    • Measure the voltage between the PCM C175b-19, circuit 848 (DG/OG), harness side and ground; and between the PCM C175b-30, circuit 151 (LB/BK), harness side and ground.
      Fig 1: Measuring Voltage Between PCM Connector And Ground
      G03883128Courtesy of FORD MOTOR CO.
    • Is any voltage present? 

    Yes  : DISCONNECT the battery. REFER to BATTERY, MOUNTING AND CABLES . REPAIR the circuit in question. INSTALL the driver air bag. REFER to SUPPLEMENTAL RESTRAINT SYSTEM . CLEAR the DTCs. REPEAT the self-test.

    No  : GO to J3.

  3. J3 CHECK CIRCUITS 151 (LB/BK) AND 848 (DG/OG) FOR A SHORT TO GROUND 
    • Key in OFF position.
    • Measure the resistance between the PCM C175b-19, circuit 848 (DG/OG), harness side and ground; and between the PCM C175b-30, circuit 151 (LB/BK), harness side and ground.
      Fig 2: Measuring Resistance Between PCM Connector And Ground
      G03883131Courtesy of FORD MOTOR CO.
    • Are the resistances greater than 10,000 ohms? 

    Yes  : GO to J4.

    No  : DISCONNECT the battery. REFER to BATTERY, MOUNTING AND CABLES . REPAIR the circuit in question. INSTALL the driver air bag. REFER to SUPPLEMENTAL RESTRAINT SYSTEM . CLEAR the DTCs. REPEAT the self-test

  4. J4 CHECK CIRCUITS 151 (LB/BK) AND 848 (DG/OG) FOR AN OPEN 
    • Measure the resistance between the PCM C175b-19, circuit 848 (DG/OG), harness side and the clockspring C218a-3, circuit 848 (DG/OG), harness side; and between the PCM C175b-30, circuit 151 (LB/BK), harness side and the clockspring C218a-2, circuit 151 (LB/BK), harness side.
      Fig 3: Checking Circuits 151 (LB/BK) And 848 (DG/OG) For An Open
      G04621345Courtesy of FORD MOTOR CO.
    • Are the resistances less than 5 ohms? 

    Yes  : GO to J5.

    No  : DISCONNECT the battery. REFER to BATTERY, MOUNTING AND CABLES . REPAIR the circuit in question. INSTALL the driver air bag. REFER to SUPPLEMENTAL RESTRAINT SYSTEM . CLEAR the DTCs. REPEAT the self-test.

  5. J5 CHECK THE CLOCKSPRING 
    • Disconnect: Upper Clockspring.
    • Measure the resistance between the clockspring C218a-2, circuit 151 (LB/BK), component side and the upper clockspring pin 4, component side; and between the clockspring C218a-3, circuit 848 (DG/OG), component side and the upper clockspring pin 5, component side.
      Fig 4: Checking Clockspring
      G04621346Courtesy of FORD MOTOR CO.
    • Are the resistances less than 5 ohms? 

    Yes  : GO to J6.

    No  : DISCONNECT the battery. REFER to BATTERY, MOUNTING AND CABLES . INSTALL a new clockspring. REFER to SUPPLEMENTAL RESTRAINT SYSTEM . INSTALL the driver air bag. REFER to SUPPLEMENTAL RESTRAINT SYSTEM . CLEAR the DTCs. REPEAT the self-test.

  6. J6 CHECK THE SPEED CONTROL SWITCH WIRING HARNESS 
    • Disconnect: Speed Control Switch Wiring Harness Connector.
    • Inspect the speed control switch wiring harness for shorts, opens or any damage.
    • Is the speed control switch wiring harness OK? 

    Yes  : GO to J7.

    No  : DISCONNECT the battery. REFER to BATTERY, MOUNTING AND CABLES . REPAIR or INSTALL a new speed control switch wiring harness. INSTALL the driver air bag. REFER to SUPPLEMENTAL RESTRAINT SYSTEM . CLEAR the DTCs. REPEAT the self-test.

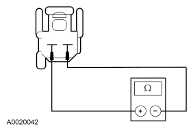
  7. J7 CHECK THE SPEED CONTROL SWITCH 
    • Connect: Horn Switch Wiring Harness Connector.
    • Measure the resistance between the horn switch wiring harness connector pin 4, harness side and the horn switch wiring harness connector pin 5, harness side while pressing the switch as follows:
      SPEED CONTROL SWITCH RESISTANCE SPECIFICATIONS

      Speed Control Switch Resistance Value
      CANCEL 114 - 126 ohms
      CST 285-315 ohms
      SET/ACC 570 - 630 ohms
      RSM 1054-1166 ohms
      ON 2004 - 2216 ohms
      OFF Less than 5 ohms
      Fig 5: Checking Speed Control Switch
      G04621347Courtesy of FORD MOTOR CO.
    • Are the speed control switch resistance values OK? 

    Yes  : GO to J8.

    No  : DISCONNECT the battery. REFER to BATTERY, MOUNTING AND CABLES . INSTALL a new speed control switch. REFER to SPEED CONTROL SWITCH  in this article. INSTALL the driver air bag. REFER to SUPPLEMENTAL RESTRAINT SYSTEM . CLEAR the DTCs. REPEAT the self-test.

  8. J8 CHECK CIRCUIT 511 (LG) FOR AN OPEN 
    • Measure the voltage between the PCM C175b-8, circuit 511 (LG), harness side and ground, while firmly applying the brake pedal.
      Fig 6: Checking Circuit 511 (LG) For An Open
      G04621348Courtesy of FORD MOTOR CO.
    • Is the voltage greater than 10 volts? 

    Yes  : GO to J9.

    No  : DISCONNECT the battery. REFER to BATTERY, MOUNTING AND CABLES . REPAIR the circuit in question. INSTALL the driver air bag. REFER to SUPPLEMENTAL RESTRAINT SYSTEM . CLEAR the DTCs. REPEAT the self-test.

  9. J9 CHECK THE SPEED CONTROL DEACTIVATOR SWITCH CIRCUITRY 
    • Measure the voltage between the PCM C175b-20, circuit 248 (TN/OG), harness side and ground, while firmly applying and releasing the brake pedal.
      Fig 7: Checking Speed Control Deactivator Switch Circuitry
      G04621349Courtesy of FORD MOTOR CO.
    • Is the voltage 0 volts with the brake pedal applied, and greater than 10 volts with the brake pedal released? 

    Yes  : GO to  J13.

    No  : GO to J10.

  10. J10 CHECK THE SPEED CONTROL DEACTIVATOR SWITCH 
    • Disconnect: Speed Control Deactivator Switch C278.
    • Measure the resistance between the speed control deactivator switch pins, component side, while firmly applying and releasing the brake pedal.
      Fig 8: Checking Speed Control Deactivator Switch
      G04621350Courtesy of FORD MOTOR CO.
    • Is the resistance greater than 10,000 ohms with the brake pedal applied, and less than 5 ohms with the brake pedal released? 

    Yes  : GO to J11.

    No  : DISCONNECT the battery. REFER to BATTERY, MOUNTING AND CABLES . INSTALL a new deactivator switch. REFER to SPEED CONTROL DEACTIVATOR SWITCH  in this article. INSTALL the driver air bag. REFER to SUPPLEMENTAL RESTRAINT SYSTEM . CLEAR the DTCs. REPEAT the self-test.

  11. J11 CHECK CIRCUIT 248 (TN/OG) FOR AN OPEN 
    • Measure the resistance between the PCM C175b-20, circuit 248 (TN/OG), harness side and the speed control deactivator switch C278-1, circuit 248 (TN/OG), harness side.
      Fig 9: Checking Circuit 248 (TN/OG) For An Open
      G04621351Courtesy of FORD MOTOR CO.
    • Is the resistance less than 5 ohms? 

    Yes  : GO to J12.

    No  : DISCONNECT the battery. REFER to BATTERY, MOUNTING AND CABLES . REPAIR the circuit. INSTALL the driver air bag. REFER to SUPPLEMENTAL RESTRAINT SYSTEM . CLEAR the DTCs. REPEAT the self-test.

  12. J12 CHECK CIRCUIT 10 (LG/RD) FOR VOLTAGE 
    • Key in ON position.
    • Measure the voltage between the speed control deactivator switch C278-2, circuit 10 (LG/RD), harness side and ground.
      Fig 10: Checking Circuit 10 (LG/RD) For Voltage
      G04621352Courtesy of FORD MOTOR CO.
    • Is the voltage greater than 10 volts? 

    Yes  : GO to J13.

    No  : VERIFY the SJB fuse 6 (15A) is OK. If OK, DISCONNECT the battery. REFER to BATTERY, MOUNTING AND CABLES . REPAIR the circuit. INSTALL the driver air bag. REFER to SUPPLEMENTAL RESTRAINT SYSTEM . CLEAR the DTCs. REPEAT the self-test.

  13. J13 CHECK FOR CORRECT PCM OPERATION 
    • Disconnect all the PCM connectors.
    • Check for:
      • corrosion
      • pushed-out pins
    • Connect all PCM connectors and make sure they seat correctly.
    • Disconnect the battery. Refer to BATTERY, MOUNTING AND CABLES . Install the driver air bag. Refer to SUPPLEMENTAL RESTRAINT SYSTEM .
    • Operate the system and verify the concern is still present.
    • Is the concern still present? 

    Yes  : INSTALL a new PCM. REFER to ELECTRONIC ENGINE CONTROLS - HYBRID . CLEAR the DTCs. REPEAT the self-test.

    No  : The system is operating correctly at this time. The concern may have been caused by a loose or corroded connector. CLEAR the DTCs. REPEAT the self-test.