LEMON Manuals: Even more car manuals for everyone: 1960-2025
Home >> Ford >> 2003 >> Taurus V6-3.0L VIN U >> Repair and Diagnosis >> Accessories and Optional Equipment >> General Module >> Service and Repair
April 5, 2026: LEMON Manuals is launched! Read the announcement.

General Module: Service and Repair

REMOVAL
1. Disconnect the battery ground cable.

CAUTION:
^ Prior to removal of the module, it is necessary to upload module configuration information to the appropriate diagnostic tool. This information needs to be downloaded into the new module once installed.
^ Electronic modules are sensitive to static electrical charges. If exposed to these charges, damage may result.







2. Loosen the bolts and disconnect the bulkhead connectors from the instrument panel fuse junction panel.







3. Position the instrument panel fuse junction panel aside.
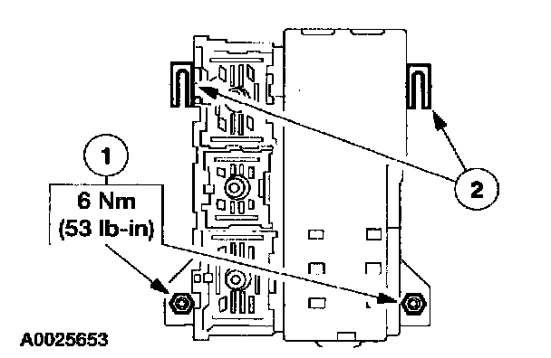
1 Remove the nuts.
2 Remove clips.







4. Remove the Generic Electronic Module (GEM).
1 Disconnect the electrical connectors.
2 Remove the screw.
3 Unclip and remove the GEM.

INSTALLATION
1. To install, reverse the removal procedure.

CAUTION: Once the new module is installed, it is necessary to download the module configuration information from the diagnostic tool equipment into the new module.