LEMON Manuals: Even more car manuals for everyone: 1960-2025
Home >> Ford >> 2003 >> Thunderbird >> Repair and Diagnosis >> Body & Frame >> Windows >> Body System - Exterior >> General Procedures >> Door Alignment
April 5, 2026: LEMON Manuals is launched! Read the announcement.

Door Alignment

Material 

Fig 1: Material Specifications
G01531146Courtesy of FORD MOTOR CO.

Both adjustments 

CAUTION: When correcting the door alignment, the door window glass must be adjusted to avoid damage to the glass.
NOTE: To correctly align the doors, adjust the hinges and the door latch striker plates. Adjusting the hinge affects the positioning of the outside surface of the door frame. Adjusting the door latch striker plate affects the alignment of the door relative to the weatherstrip and the door closing characteristics.
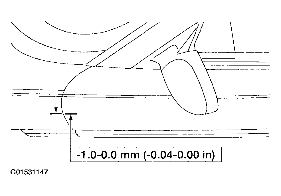
  1. Measure the clearance between the front fender and the door.
    Fig 2: Measuring Clearance Between Front Fender And Door
    G01531147Courtesy of FORD MOTOR CO.
  2. Measure the clearance between the door and the body.
    Fig 3: Measuring Clearance Between Door And Body
    G01531148Courtesy of FORD MOTOR CO.

    Hinge adjustment 

  3. NOTE: The fender was removed for clarity.
    Fig 4: Marking Door To Door Hinge For Reference
    G01531149Courtesy of FORD MOTOR CO.
  4. Mark the door to door hinge for reference.
  5. NOTE: The fender was removed for clarity.
    Fig 5: Loosening Door Hinge To Body Bolts
    G01531150Courtesy of FORD MOTOR CO.
  6. Loosen the door hinge to body bolts enough to permit movement.
  7. Adjust the door as necessary.
  8. NOTE: The fender was removed for clarity.
    Fig 6: Tightening Door To Door Hinge Bolts
    G01531151Courtesy of FORD MOTOR CO.
  9. Tighten the door to door hinge bolts.

    Striker Adjustment 

  10. Loosen the door latch striker plate bolts enough to permit movement.
    Fig 7: Loosening Door Latch Striker Plate Bolts
    G01531152Courtesy of FORD MOTOR CO.
  11. Adjust the door latch striker plate as necessary.
    Fig 8: Adjusting Door Latch Striker Plate
    G01531153Courtesy of FORD MOTOR CO.
  12. Tighten the door latch striker plate bolts.
    Fig 9: Tightening Door Latch Striker Plate Bolts
    G01531154Courtesy of FORD MOTOR CO.

    Both adjustments 

  13. Check the adjustment and repeat as necessary.
  14. Adjust the door window glass alignment. For additional information, refer to Door Window Glass  .
  15. Lubricate the hinges and door check arms with multi-purpose grease spray.