LEMON Manuals: Even more car manuals for everyone: 1960-2025
Home >> Ford >> 2003 >> Windstar Base >> Repair and Diagnosis >> External Pages >> Different car >> Section 1433 (Automatic Transmission - CVT) >> Disassembly And Assembly Of Subassemblies >> Variator/Chain and Spur Gear Assembly >> Assembly
April 5, 2026: LEMON Manuals is launched! Read the announcement.

Variator/Chain and Spur Gear Assembly: Assembly

WARNING: This page is about a different car, the 2006 Mercury Montego, 2006 Ford Freestyle, and 2006 Ford Five Hundred. However, it is still accessible from the selected car via links, so may be relevant.
  1. Using the special tool, install the spur gear onto the variator assembly.
    Fig 1: Identifying Special Tools (205-090, 307-547-5, 308-580)
    G04656818Courtesy of FORD MOTOR CO.
  2. If removed, press the gear onto the variator assembly and install the snap ring.
    Fig 2: Locating Snap Ring
    G04656819Courtesy of FORD MOTOR CO.
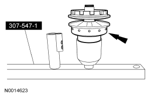
  3. Install the secondary variator assembly into the special tool.
    Fig 3: Locating Secondary Variator Assembly On Special Tool (307-547-1)
    G04656820Courtesy of FORD MOTOR CO.
  4. CAUTION: Do not overcompress the secondary variator. Do not exceed the torque specification listed. Damage to the tool or variator will occur.
    Fig 4: Identifying Special Tools (307-547-1, 307-564)
    G04656821Courtesy of FORD MOTOR CO.
  5. Install the special tool and open up the secondary variator assembly.
    • Tighten to 7 N.m (62 lb-in).
  6. CAUTION: Do not let the variator chain hang free without some support. Damage to the chain will occur.
    NOTE: While installing the primary variator it is acceptable to rest the chain on the primary variator portion of the special tool.
    Fig 5: Locating Variator Chain
    G04656822Courtesy of FORD MOTOR CO.
  7. Position the variator chain in place.
  8. CAUTION: Do not let the variator chain hang free without some support. Damage to the chain will occur.
    NOTE: While installing the primary variator it is acceptable to rest the chain on the primary variator portion of the special tool.
    Fig 6: Locating Primary Variator (1 Of 2)
    G04656823Courtesy of FORD MOTOR CO.
  9. Position the primary variator on the special tool.
  10. Carefully position the chain around the primary variator.
    Fig 7: Locating Primary Variator (2 Of 2)
    G04656824Courtesy of FORD MOTOR CO.
  11. Once the chain is around the primary variator, lift up slightly and slide the variator over until it drops into the holding fixture.
    Fig 8: Lifting Primary Variator
    G04656825Courtesy of FORD MOTOR CO.
  12. Install both chain guides.
    Fig 9: Locating Chain Guides Using Special Tools (307-547-1, 307-564)
    G04656826Courtesy of FORD MOTOR CO.
  13. Remove the special tool.
    Fig 10: Identifying Special Tool (307-564)
    G04656827Courtesy of FORD MOTOR CO.