LEMON Manuals: Even more car manuals for everyone: 1960-2025
Home >> Ford >> 2003 >> Windstar Base >> Repair and Diagnosis >> External Pages >> Different car >> Section 1433 (Automatic Transmission - CVT) >> Disassembly And Assembly Of Subassemblies >> Variator/Chain and Spur Gear Assembly >> Disassembly
April 5, 2026: LEMON Manuals is launched! Read the announcement.

Variator/Chain and Spur Gear Assembly: Disassembly

WARNING: This page is about a different car, the 2006 Mercury Montego, 2006 Ford Freestyle, and 2006 Ford Five Hundred. However, it is still accessible from the selected car via links, so may be relevant.
WARNING: Correct handling of the variator chain during service repairs is critical to durability of the chain. Incorrect handling of the chain may cause damage to the chain and/or the variators during transaxle operation.
    CAUTION:
    1. Inspect the variators and the chain for scratches, nicks or damage. If any damage is indicated, the installation of all 3 new components will be required.
    2. Do not overcompress the secondary variator. Do not exceed the torque specification listed. Damage to the tool or variator will occur.
    NOTE: When using the special tool, do not use any air tools to open the secondary variator. Transmission fluid will come out the top of the secondary variator. If the variator is opened too fast, fluid will squirt out from the top.
    Fig 1: Identifying Special Tool (307-564)
    G04656805Courtesy of FORD MOTOR CO.
  1. Using the special tool, open the secondary variator in order to remove the chain guides, primary variator and chain.
    • Tighten to 7 N.m (62 lb-in).
  2. Remove both chain guides.
    Fig 2: Locating Chain Guides And Special Tools (307-564, 307-547-1)
    G04656806Courtesy of FORD MOTOR CO.
  3. CAUTION: Do not let the variator chain hang free without some support. Damage to the chain will occur.
    Fig 3: Locating Chain & Primary Variator
    G04656807Courtesy of FORD MOTOR CO.
  4. Lift the primary variator up and move it over (toward the secondary variator on the special tool) in order to remove the chain and the primary variator.
  5. CAUTION: Do not let the variator chain hang free without some support. Damage to the chain will occur.
    NOTE: While removing the primary variator it is acceptable to rest the chain on the primary variator portion of the special tool.
    Fig 4: Locating Primary Variator
    G04656808Courtesy of FORD MOTOR CO.
  6. With the chain resting on the special tool, carefully remove the primary variator.
  7. CAUTION: Do not let the variator chain hang free without some support. Damage to the chain will occur.
    NOTE: While removing the primary variator it is acceptable to rest the chain on the primary variator portion of the special tool.
    Fig 5: Locating Chain
    G04656809Courtesy of FORD MOTOR CO.
  8. Carefully remove the chain.
  9. Do not hold the chain in a manner that will allow it to rub against itself.
    Fig 6: Precaution For Chain
    G04656810Courtesy of FORD MOTOR CO.
  10. For horizontal handling, always handle the chain with 2 hands, never allow either end to sag to one side.
    Fig 7: Identifying Horizontal Handling
    G04656811Courtesy of FORD MOTOR CO.
  11. It is acceptable to hold the chain in one hand and allow the chain to hang vertically from that hand.
    Fig 8: Identifying Vertically Handling
    G04656812Courtesy of FORD MOTOR CO.
  12. Slowly release the special tool and remove it.
    Fig 9: Identifying Special Tools (307-564, 307-547-1)
    G04656813Courtesy of FORD MOTOR CO.
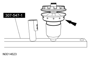
  13. Remove the secondary variator assembly from the special tool.
    Fig 10: Locating Secondary Variator Assembly On Special Tool (307-547-1)
    G04656814Courtesy of FORD MOTOR CO.
  14. Inspect the primary and secondary variator chain mating surfaces for nicks and gouges. Inspect the variator chain for damage. If any damage is indicated, the installation of all 3 variator components will be required.
    Fig 11: Locating Primary & Secondary Variator Chain Mating Surfaces
    G04656815Courtesy of FORD MOTOR CO.
  15. NOTE:
    1. The spur gear is model dependent. If installing a new variator assembly the spur will need to be transferred to the new variator assembly.
    2. It may be necessary to press the gear down slightly in order to remove the spur snap ring.
    Fig 12: Locating Snap Ring
    G04656816Courtesy of FORD MOTOR CO.
  16. Remove and discard the snap ring.
  17. Using the special tools, remove the spur gear.
    Fig 13: Identifying Special Tools (204-069, 205-D064)
    G04656817Courtesy of FORD MOTOR CO.