LEMON Manuals: Even more car manuals for everyone: 1960-2025
Home >> Ford >> 2003 >> Windstar Base >> Repair and Diagnosis >> External Pages >> Different car >> Section 249 (Engine - 4.6L & 5.4L) >> Installation >> Engine >> Material
April 5, 2026: LEMON Manuals is launched! Read the announcement.

Section 249 (Engine - 4.6L & 5.4L): Installation: Engine: Material

WARNING: This page is about a different car, the 2003 Ford RV Cutaway, 2003 Ford Econoline, 2003 Ford E450 Super Duty, and 2003 Ford Cutaway. However, it is still accessible from the selected car via links, so may be relevant.
Fig 1: Material Specification Chart
G01536945Courtesy of FORD MOTOR CO.

    ALL ENGINES 

  1. Position the engine in the vehicle.
  2. Remove the floor crane and the jack supporting the transmission.
  3. Raise and support the vehicle.
  4. NOTE: Align the engine-to-transmission dowels before installing the engine-to-transmission bolts.
    Fig 2: Installing Two Transmission-To-Engine Bolts
    G01536946Courtesy of FORD MOTOR CO.
  5. Position the shifter cable support bracket and install the two transmission-to-engine bolts.
  6. Install the RH lower transmission-to-engine bolt.
    Fig 3: Installing RH Lower Transmission-To-Engine Bolt
    G01536947Courtesy of FORD MOTOR CO.
  7. VEHICLES EQUIPPED WITH 4R70W TRANSMISSION 

  8. Install the mounting bracket and connect the shift cable.
    1. Install the bolts.
    2. Connect the clip.
    Fig 4: Connecting Clip
    G01536948Courtesy of FORD MOTOR CO.
  9. ALL ENGINES 

  10. Install four new nuts to retain the torque converter to the flexplate.
    • Rotate the crankshaft to access all of the torque converter nuts.
    Fig 5: Rotating Crankshaft
    G01536949Courtesy of FORD MOTOR CO.
  11. Install the cylinder block opening cover.
    Fig 6: Installing Cylinder Block Opening Cover
    G01536950Courtesy of FORD MOTOR CO.
  12. Install the flexplate inspection cover.
    Fig 7: Installing Flexplate Inspection Cover
    G01536951Courtesy of FORD MOTOR CO.
  13. NOTE: RH shown, LH similar.
    Fig 8: Installing Four Engine Mount Nuts
    G01536952Courtesy of FORD MOTOR CO.
  14. Install the four engine mount nuts.
  15. Install the starter motor.
    1. Position the starter.
    2. Install the two bolts.
    3. Install the stud bolt.
    Fig 9: Installing Starter Motor
    G01536953Courtesy of FORD MOTOR CO.
  16. Connect the starter motor electrical connections.
    Fig 10: Connecting Starter Motor Electrical Connections
    G01536954Courtesy of FORD MOTOR CO.
  17. Install the starter motor solenoid terminal cover.
    Fig 11: Installing Starter Motor Solenoid Terminal Cover
    G01536955Courtesy of FORD MOTOR CO.
  18. Mount the exhaust system to the LH and RH exhaust manifolds.
    Fig 12: Installing Exhaust System To LH And RH Exhaust Manifolds
    G01536956Courtesy of FORD MOTOR CO.
  19. NOTE: Make sure the tab on the oil filter adapter nests into the notch in the oil cooler.
    Fig 13: Installing Oil Cooler On Oil Filter Adapter
    G01536957Courtesy of FORD MOTOR CO.
  20. Position the oil cooler on the oil filter adapter and install the threaded insert.
  21. Install a new oil filter.
    Fig 14: Installing Oil Filter
    G01536958Courtesy of FORD MOTOR CO.
  22. Connect the oil cooler hoses.
    Fig 15: Connecting Oil Cooler Hoses
    G01536959Courtesy of FORD MOTOR CO.
  23. ROMEO ENGINE (4.6L) 

  24. Position the transmission fluid cooler tube support bracket and install the nut.
    Fig 16: Positioning Transmission Fluid Cooler Tube Support Bracket (Romeo Engine 4.6L)
    G01536960Courtesy of FORD MOTOR CO.
  25. WINDSOR ENGINE (5.4L) 

  26. Position the fluid cooler tube support bracket and install the nut.
    Fig 17: Positioning Transmission Fluid Cooler Tube Support Bracket (Windsor Engine 5.4L)
    G01536961Courtesy of FORD MOTOR CO.
  27. ALL ENGINES 

  28. Using the special tool, install a new Teflon seal on the power steering pressure tube.
    Fig 18: Installing Teflon Seal On Power Steering Pressure Tube
    G01536962Courtesy of FORD MOTOR CO.
  29. Connect the power steering pressure tube and the power steering reservoir hose to the power steering pump.
    Fig 19: Connecting Power Steering Pressure Tube
    G01536963Courtesy of FORD MOTOR CO.
  30. Install and tighten the oil drain plug.
    Fig 20: Installing Oil Drain Plug
    G01536964Courtesy of FORD MOTOR CO.
  31. Lower the vehicle.
  32. Remove the special tool.
    Fig 21: Removing Special Tool
    G01536965Courtesy of FORD MOTOR CO.
  33. Position the fuel line and the LH heated oxygen sensor (HO2S) brackets. Install the four upper transmission-to-engine bolts.
    Fig 22: Positioning Fuel Line And LH Heated Oxygen Sensor (HO2S) Brackets
    G01536966Courtesy of FORD MOTOR CO.
  34. Connect the transmission wiring harness and the LH and RH HO2S electrical connectors. Install the transmission wiring harness connector retainer in the bracket.
    Fig 23: Connecting Transmission Wiring Harness
    G01536967Courtesy of FORD MOTOR CO.
  35. NOTE: Do not reuse the O-ring seals. Lubricate the new O-ring seals with clean engine coolant before installing the heater outlet tube.
    Fig 24: Inserting Heater Outlet Tube Over New Seals
    G01536968Courtesy of FORD MOTOR CO.
  36. Insert the heater outlet tube over the new seals.
  37. ROMEO ENGINES (4.6L) 

  38. Install the heater outlet tube studs.
    Fig 25: Installing Heater Outlet Tube Studs (Romeo Engines 4.6L)
    G01536969Courtesy of FORD MOTOR CO.
  39. NOTE: Lubricate the O-ring seals with clean transmission fluid before installing the transmission fluid filler tube.
    Fig 26: Installing Transmission Fluid Filler Tube
    G01536970Courtesy of FORD MOTOR CO.
  40. Install the transmission fluid filler tube.
  41. WINDSOR ENGINE (5.4L) 

  42. Install the heater outlet tube studs.
    Fig 27: Installing Heater Outlet Tube Studs (Windsor Engine 5.4L)
    G01536971Courtesy of FORD MOTOR CO.
  43. NOTE: Lubricate the O-ring seals with clean transmission fluid before installing the transmission fluid filler tube.
    Fig 28: Installing Transmission Fluid Filler Tube
    G01536972Courtesy of FORD MOTOR CO.
  44. Install the transmission fluid filler tube.
  45. ALL ENGINES 

  46. Connect the hose to the heater outlet tube.
    Fig 29: Connecting Hose To Heater Outlet Tube
    G01536973Courtesy of FORD MOTOR CO.
  47. Install the wiring retainers in the heater outlet tube bracket.
    1. Install the knock sensor electrical connector retainer.
    2. Install the engine harness routing clip retainer.
    Fig 30: Installing Engine Harness Routing Clip Retainer
    G01536974Courtesy of FORD MOTOR CO.
  48. Connect the evaporative emission canister purge valve electrical connector.
    Fig 31: Connecting Evaporative Emission Canister Purge Valve Electrical Connector
    G01536975Courtesy of FORD MOTOR CO.
  49. Connect the attachments to the transmission fluid filler tube and install the fluid level indicator.
    1. Connect the rear heater hose hanger.
    2. Connect the evaporative emission vent hose retainers.
    3. Install the fluid level indicator.
    Fig 32: Installing Fluid Level Indicator
    G01536976Courtesy of FORD MOTOR CO.
  50. Install the engine oil filler tube support strap bolt.
    Fig 33: Installing Engine Oil Filler Tube Support Strap Bolt
    G01536977Courtesy of FORD MOTOR CO.
  51. NOTE: Windsor engine shown, Romeo engine similar.
    Fig 34: Connecting Electrical Connectors
    G01536978Courtesy of FORD MOTOR CO.
  52. Position the mounting bracket, install the ground strap and nut, and connect the electrical connectors.
  53. Position the generator and install the bolts.
    Fig 35: Installing Generator
    G01536979Courtesy of FORD MOTOR CO.
  54. Connect the generator electrical connections.
    1. Install the B+ terminal and disconnect the terminal.
    2. Connect the S electrical connector.
    3. Connect the ASI electrical connector.
    Fig 36: Connecting ASI Electrical Connector
    G01536980Courtesy of FORD MOTOR CO.
  55. NOTE: Typical shown.
    Fig 37: Installing Drive Belt
    G01536981Courtesy of FORD MOTOR CO.
  56. Rotate the tensioner clockwise and install the drive belt. Refer to the decal on the upper radiator air deflector for belt routing.
  57. Connect the lower radiator hose to the oil filter adapter coolant inlet.
    Fig 38: Connecting Lower Radiator Hose
    G01536982Courtesy of FORD MOTOR CO.
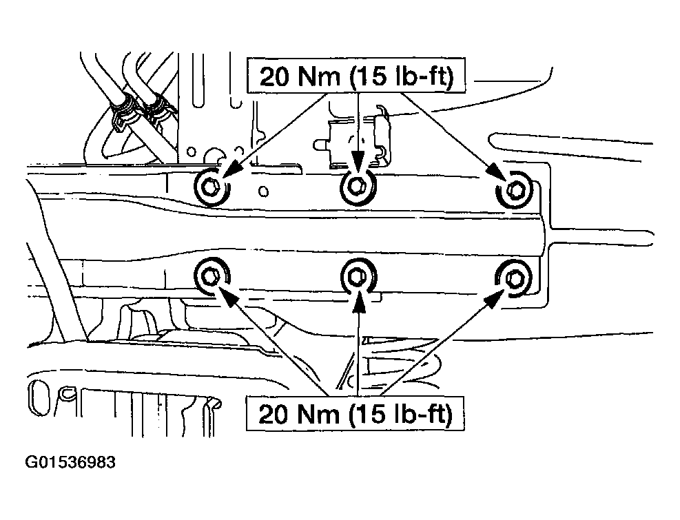
  58. NOTE: LH shown, RH similar.
    Fig 39: Positioning Lower Radiator Support
    G01536983Courtesy of FORD MOTOR CO.
  59. Position the lower radiator support and install the twelve bolts.
  60. Install the RH side of the headlamp dash panel junction wiring harness.
    1. Connect the electrical connector.
    2. Install the screw.
    3. Insert the routing clips.
    Fig 40: Connecting Electrical Connector
    G01536984Courtesy of FORD MOTOR CO.
  61. Install the LH side of the headlamp dash panel junction wiring harness.
    1. Install the screw.
    2. Insert the routing clips.
    Fig 41: Inserting Routing Clips
    G01536985Courtesy of FORD MOTOR CO.
  62. NOTE: RH shown, LH similar.
    Fig 42: Installing Pin-Type Retainers
    G01536986Courtesy of FORD MOTOR CO.
  63. Position the RH and LH air deflectors and install the pin-type retainers.
  64. NOTE: RH shown, LH similar.
    Fig 43: Positioning Upper Radiator Support
    G01536987Courtesy of FORD MOTOR CO.
  65. Position the upper radiator support and install the eight bolts.
  66. Route the battery feed wiring harness to the power distribution box and insert the routing clips.
    Fig 44: Routing Battery Feed Wiring Harness To Power Distribution Box
    G01536988Courtesy of FORD MOTOR CO.
  67. NOTE: Cover removed for clarity.
    Fig 45: Installing Battery Feed Cable To Power Distribution Box
    G01536989Courtesy of FORD MOTOR CO.
  68. Install the battery feed cable to the power distribution box.
  69. Install the power steering reservoir.
    Fig 46: Installing Power Steering Reservoir
    G01536990Courtesy of FORD MOTOR CO.
  70. Install the hood latch.
    1. Install the hood latch.
    2. Insert the cable routing clip.
    Fig 47: Installing Hood Latch
    G01536991Courtesy of FORD MOTOR CO.
  71. Install the A/C condenser core.
    1. Position the A/C condenser core in the vehicle.
    2. Position the A/C condenser brackets.
    3. Install the bolts.
    Fig 48: Installing A/C Condenser Core
    G01536992Courtesy of FORD MOTOR CO.
  72. CAUTION: Use a wrench on each side of the fitting to prevent damage to the A/C fitting.
    Fig 49: Connecting Compressor Discharge Tube
    G01536993Courtesy of FORD MOTOR CO.
  73. Connect the condenser core refrigerant tubes.
    1. Connect the condenser to evaporator tube.
    2. Connect the compressor discharge tube.
  74. CAUTION: Use a wrench on each side of the fitting to prevent damage to the A/C fitting.
    Fig 50: Connecting Compressor Suction Tube
    G01536994Courtesy of FORD MOTOR CO.
  75. Connect the compressor suction tube.
  76. Connect the A/C pressure cutoff switch electrical connector.
    Fig 51: Connecting A/C Pressure Cutoff Switch Electrical Connector
    G01536995Courtesy of FORD MOTOR CO.
  77. Position the radiator in the vehicle.
    Fig 52: Positioning Radiator
    G01536996Courtesy of FORD MOTOR CO.
  78. NOTE: LH shown, RH similar.
    Fig 53: Positioning Radiator Support Brackets
    G01536997Courtesy of FORD MOTOR CO.
  79. Position the radiator support brackets and install the bolts.
  80. Position the fan shroud and the fan and fan clutch in the vehicle, and install the bolts.
    Fig 54: Positioning Fan Shroud And Fan
    G01536998Courtesy of FORD MOTOR CO.
  81. Insert the degas hose retainer in the fan shroud.
    Fig 55: Inserting Degas Hose Retainer In Fan Shroud
    G01536999Courtesy of FORD MOTOR CO.
  82. Install the fan blade assembly and fan clutch.
    1. Install the fan blade and the fan clutch.
    2. Use the special tool to hold the coolant pump pulley.
    3. Using the special tool, tighten the fan clutch nut.
    Fig 56: Installing Fan Blade And Fan Clutch
    G01537000Courtesy of FORD MOTOR CO.
  83. Connect the upper radiator hose and the degas hose to the radiator.
    Fig 57: Connecting Upper Radiator Hose
    G01537001Courtesy of FORD MOTOR CO.
  84. Install the valance panel. For additional information, refer to FRONT END BODY PANELS .
  85. Raise and support the vehicle.
  86. Connect the transmission cooler tubes.
    Fig 58: Connecting Transmission Cooler Tubes
    G01537002Courtesy of FORD MOTOR CO.
  87. Position the splash shield and install the pushpin retainers.
    Fig 59: Installing Pushpin Retainers
    G01537003Courtesy of FORD MOTOR CO.
  88. Connect the lower radiator hose to the radiator.
    • Connect the hose.
    • Connect the hose hanger.
    Fig 60: Connecting Hose Hanger
    G01537004Courtesy of FORD MOTOR CO.
  89. Install the front bumper. For additional information, refer to SEATING .
  90. Lower the vehicle.
  91. CAUTION: The oil pump must be primed prior to starting the engine.
  92. Fill the engine with clean engine oil.
  93. Install the intake manifold. For additional information, refer to INTAKE MANIFOLD - 4.6L  or INTAKE MANIFOLD - 5.4L .
  94. Fill all fluids to the correct levels.
  95. Start the engine and check for leaks. Stop the engine and recheck the fluid levels.
  96. VEHICLES EQUIPPED WITH A/C 

  97. Evacuate and recharge the air conditioning system. For additional information, refer to CLIMATE CONTROL SYSTEM-GENERAL INFORMATION .