LEMON Manuals: Even more car manuals for everyone: 1960-2025
Home >> Ford >> 2003 >> ZX2 Automatic >> Repair and Diagnosis >> External Pages >> Different car >> Section 1414 (Supplemental Inflatable Restraint System) >> Removal And Installation >> Restraints Control Module (RCM) >> Removal
April 5, 2026: LEMON Manuals is launched! Read the announcement.

Restraints Control Module (RCM): Removal

WARNING: This page is about a different car, the 2006 Mercury Grand Marquis and 2006 Ford Crown Victoria. However, it is still accessible from the selected car via links, so may be relevant.
WARNING: Always wear safety glasses when repairing an air bag supplemental restraint system (SRS) vehicle and when handling an air bag module. This will reduce the risk of injury in the event of an accidental deployment.
WARNING: The restraints control module (RCM) orientation is critical for correct system operation. If a vehicle equipped with an air bag supplemental restraint system (SRS) has been involved in a collision in which the center tunnel area has been damaged, inspect the mounting and bracket for deformation. If damaged, the RCM must be replaced whether or not the air bags have deployed. In addition, make sure the area of the RCM mounting is restored to its original condition.
WARNING: To reduce the risk of personal injury, do not use any memory saver devices.
WARNING: The tightening torque of the air bag restraints control module (RCM) retaining bolts is critical for correct system operation.
CAUTION: Electronic modules are sensitive to static electrical charges. If exposed to these charges, damage could result.
NOTE: The air bag warning lamp illuminates when the RCM fuse is removed and the ignition switch is ON. This is normal operation and does not indicate a supplemental restraint system (SRS) fault.
NOTE: When installing a new restraints control module (RCM), always make sure the correct RCM is being installed. If an incorrect RCM is installed, erroneous DTCs will result.
NOTE: The SRS must be fully operational and free of faults before releasing the vehicle to the customer.
NOTE: Repair is made by installing a new part only. If the new part does not correct the condition, install the original part and carry out the diagnostic procedure again.

    Vehicles with floor shifter 

  1. Apply the parking brake and place the transmission in position 1.
  2. All vehicles 

  3. Depower the system. For additional information, refer to SUPPLEMENTAL RESTRAINT SYSTEM (SRS) DEPOWERING AND REPOWERING  in the General Procedures portion of this article.
  4. Remove the pin-type retainer and the carpet patch.
    Fig 1: Removing Pin-Type Retainer And Carpet Patch
    G04586517Courtesy of FORD MOTOR CO.
  5. Vehicles with column shifter 

  6. Remove the ashtray.
    1. Release the tabs.
    2. Remove the ashtray.
      Fig 2: Removing Ashtray
      G04586518Courtesy of FORD MOTOR CO.
  7. Position the ashtray bracket out of the way.
    1. Remove the 2 screws (not shown).
      • The screws can be accessed from under the instrument panel center stack.
    2. Slide the ashtray bracket forward, releasing the retainers and position the ashtray bracket out of the way to access the RCM .
      Fig 3: Sliding Ashtray Bracket Forward
      G04586519Courtesy of FORD MOTOR CO.
  8. Vehicles with floor shifter 

  9. Release the retaining clips and detach the storage compartment.
    Fig 4: Detaching Storage Compartment
    G04586520Courtesy of FORD MOTOR CO.
  10. Disconnect the power point electrical connector and remove the storage compartment.
    Fig 5: Disconnecting Power Point Electrical Connector
    G04586521Courtesy of FORD MOTOR CO.
  11. Detach the retaining clips and remove the floor console finish panel.
    Fig 6: Removing Floor Console Finish Panel
    G04586522Courtesy of FORD MOTOR CO.
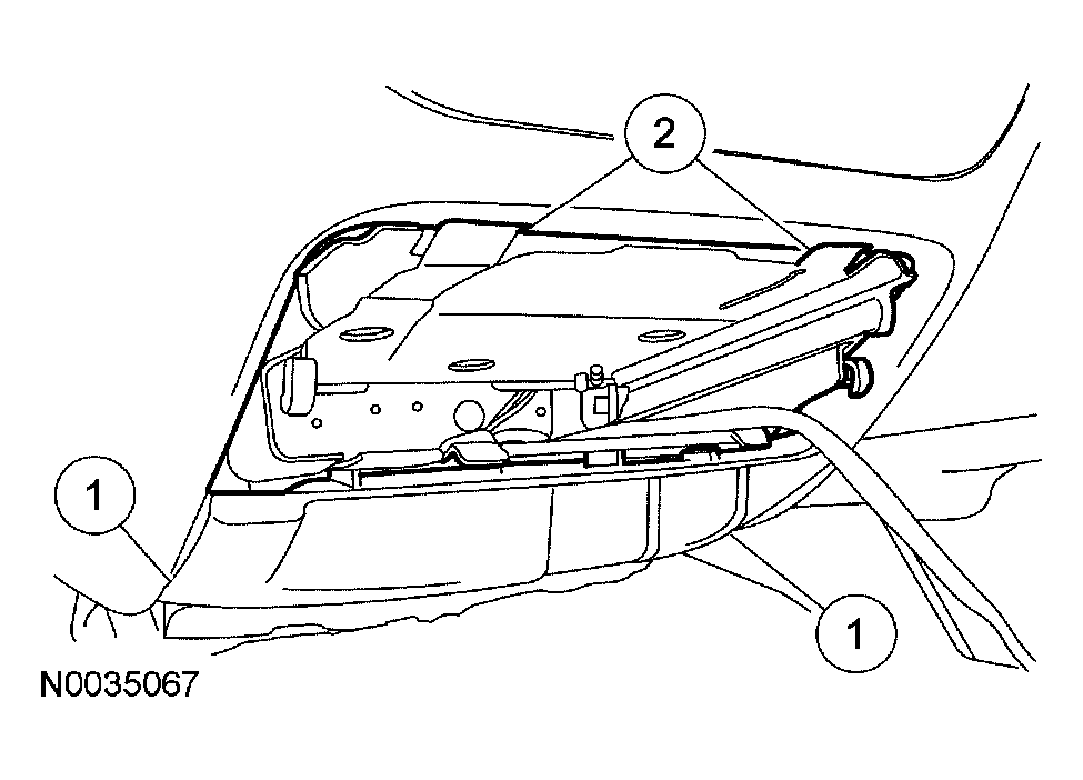
  12. All vehicles 

  13. Remove the 2 RCM bolts on the RH side.
  14. Disconnect the large RCM electrical connector.
    1. Pinch the thumb tab and pivot the connector position assurance lever all the way back until it stops.
    2. Pull out and disconnect the RCM electrical connector.
      Fig 7: Disconnecting RCM Electrical Connector
      G04586523Courtesy of FORD MOTOR CO.
  15. Disconnect the small RCM electrical connector.
  16. Remove the RCM bolt on the LH side and the RCM .