LEMON Manuals: Even more car manuals for everyone: 1960-2025
Home >> Ford >> 2003 >> ZX2 Automatic >> Repair and Diagnosis >> External Pages >> Different car >> Section 437 (Parking Aid System) >> General Procedures >> Azimuth System Check >> Minimum detectable object locations.
April 5, 2026: LEMON Manuals is launched! Read the announcement.

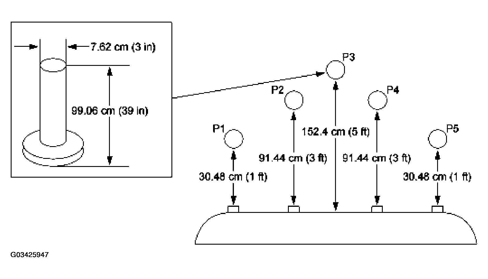
Minimum detectable object locations.

WARNING: This page is about a different car, the 2002 Ford Windstar. However, it is still accessible from the selected car via links, so may be relevant.
Fig 1: Identifying Minimum Detectable Object Locations
G03425947Courtesy of FORD MOTOR CO.
    NOTE: The object used in this system check can be fabricated from 3 in diameter pipe 39 inches in length.
    NOTE: The following system check should be carried out with the vehicle on a level surface.
    NOTE: The parking aid module (PAM) system will default to on when the ignition key is cycled from off to on.
  1. Turn the ignition to the on position, engine off.
  2. Set the parking brake on.
  3. Place the gear shift in reverse.
  4. Verify that the PAM detects the object (3 inch diameter pipe 36 inches high) when placed in the five specified locations (P1, P2, P3, P4, P5).