LEMON Manuals: Even more car manuals for everyone: 1960-2025
Home >> Ford >> 2003 >> ZX2 Automatic >> Repair and Diagnosis >> External Pages >> Different car >> Section 632 (Engine 6.8L) >> In-Vehicle Repair >> Timing Drive Components >> Installation
April 5, 2026: LEMON Manuals is launched! Read the announcement.

Timing Drive Components: Installation

WARNING: This page is about a different car, the 2004 Ford RV Cutaway, 2004 Ford Econoline, 2004 Ford E450 Super Duty, and 2004 Ford Cutaway. However, it is still accessible from the selected car via links, so may be relevant.
CAUTION: Timing chain procedures must be followed exactly or damage to valves and pistons will result.
    CAUTION: Timing chain procedures must be followed exactly or damage to valves and pistons will result.
    Fig 1: Compressing Tensioner Plunger
    G02763865Courtesy of FORD MOTOR CO.
  1. Compress the tensioner plunger, using a vise.
  2. Install a retaining clip on the tensioner to hold the plunger in during installation.
    Fig 2: Installing A Retaining Clip On Tensioner To Hold Plunger
    G01537273Courtesy of FORD MOTOR CO.
  3. NOTE: There are 61 links in each timing chain.
    Fig 3: Marking Two Links On One End And One Link On Other End To Use As Timing Marks
    G02763867Courtesy of FORD MOTOR CO.
  4. If copper links are not visible, mark two links on one end and one link on the other end, and use as timing marks.
  5. On engines equipped with bolt-on sprockets, install the camshaft sprocket (2).
    1. Install the bolt (1).
    2. Tighten the bolt.
      • M10 bolt: Tighten in two stages.
        • Stage 1: Tighten to 40 Nm (30 lb-ft).
        • Stage 2: Tighten an additional 90 degrees.
      • M12 bolt: Tighten to 120 Nm (90 lb-ft).
    Fig 4: Installing Camshaft Sprocket
    G02763868Courtesy of FORD MOTOR CO.
  6. Install the timing chain guides.
    Fig 5: Installing Timing Chain Guides
    G02763869Courtesy of FORD MOTOR CO.
  7. NOTE: Slightly loosen the Camshaft Holding Tool to allow slight camshaft movement.
    Fig 6: Prepositioning Camshafts
    G02763870Courtesy of FORD MOTOR CO.
  8. Preposition the camshafts.
    1. Rotate the LH camshaft with the Camshaft Positioning Tool until the timing mark is approximately at 12 o'clock.
    2. Rotate the RH camshaft with the Camshaft Positioning Tool until the timing mark is approximately at 11 o'clock.
      • Tighten the Camshaft Holding Tool to maintain camshaft prepositioning.
  9. CAUTION: Rotate the crankshaft counterclockwise only. Do not rotate past the position shown or severe piston and/or valve damage can occur.
    Fig 7: Positioning Crankshaft With Special Tool
    G02763871Courtesy of FORD MOTOR CO.
  10. Position the crankshaft with the special tool, then remove the tool.
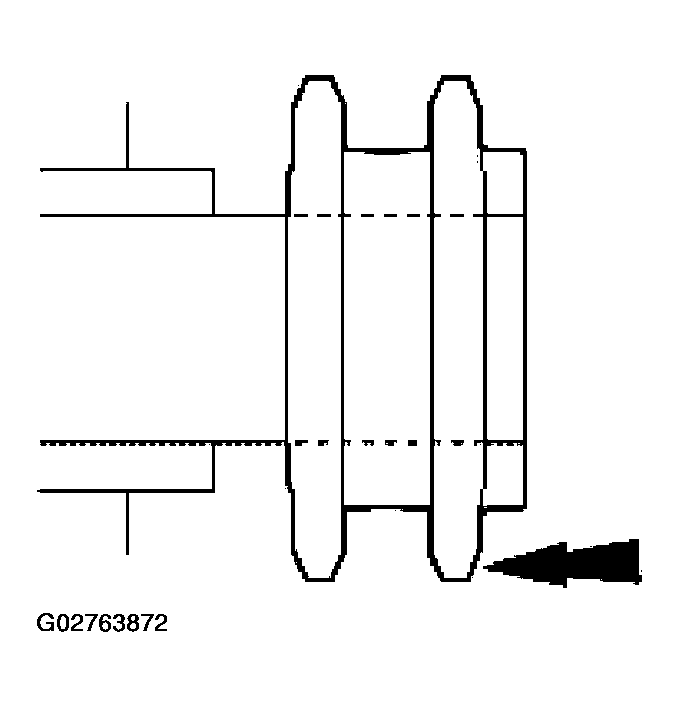
  11. Install the crankshaft sprocket, making sure the flange faces forward.
    Fig 8: Installing Crankshaft Sprocket, Making Sure Flange Faces Forward
    G02763872Courtesy of FORD MOTOR CO.
  12. Install the lower end of the LH timing chain, aligning the timing marks.
    Fig 9: Installing Lower End Of LH Timing Chain, Aligning The Timing Marks
    G02763873Courtesy of FORD MOTOR CO.
  13. NOTE: Be sure the upper half of the timing chain is below the tensioner guide dowel. If necessary, use the Camshaft Positioning Tool to adjust.
    Fig 10: Installing LH Timing Chain On Camshaft Sprocket With Two Chain (Marked) Links And Timing Marks Aligned
    G02763874Courtesy of FORD MOTOR CO.
  14. Install the LH timing chain on the camshaft sprocket with the two chain (marked) links and the timing marks aligned.
  15. NOTE: The LH timing chain tensioner arm has a bump near the dowel hole for identification.
    Fig 11: Installing LH Timing Chain Tensioner
    G02763875Courtesy of FORD MOTOR CO.
  16. Position the LH timing chain tensioner arm on the dowel pin and install the LH timing chain tensioner.
  17. CAUTION: The camshaft sprocket can jump time if the Camshaft Holding Tool is not secured.
    NOTE: Be sure the chain link and crankshaft sprocket timing marks are aligned.
    NOTE: The lower half of the timing chain must be positioned above the dowel.
    Fig 12: Installing (Outer) Timing Chain On Crankshaft Sprocket
    G02763876Courtesy of FORD MOTOR CO.
  18. Install the RH (outer) timing chain on the crankshaft sprocket.
  19. Position the timing chain on the camshaft sprocket. Make sure the two copper-colored (marked) links align with the camshaft sprocket timing mark.
    Fig 13: Positioning Timing Chain On Camshaft Sprocket
    G01537282Courtesy of FORD MOTOR CO.
  20. NOTE: The LH timing chain tensioner arm has a bump near the dowel hole, for identification.
    Fig 14: Positioning LH And RH Timing Chain Tensioner Arms On Dowel Pins
    G01537284Courtesy of FORD MOTOR CO.
  21. Position the LH and RH timing chain tensioner arms on the dowel pins. Position the timing chain tensioners and install the bolts.
  22. Remove the retaining clips from the RH and LH timing chain tensioners.
    Fig 15: Removing Retaining Clips From RH And LH Timing Chain Tensioners
    G01537285Courtesy of FORD MOTOR CO.
  23. Check for correct alignment of all timing marks.
    Fig 16: Checking For Correct Alignment Of All Timing Marks
    G01537283Courtesy of FORD MOTOR CO.
  24. Remove the special tools from the camshafts.
    Fig 17: Removing Special Tools From Camshafts
    G02763881Courtesy of FORD MOTOR CO.
  25. Install the crankshaft sensor ring on the crankshaft.
    Fig 18: Installing Crankshaft Sensor Ring On Crankshaft
    G02763882Courtesy of FORD MOTOR CO.
  26. Lubricate the balance shaft journals with clean engine oil.
  27. Using the index mark on the balance shaft, mark the corresponding gear tooth with chalk.
    Fig 19: Using The Index Mark On The Balance Shaft, Mark Corresponding Gear Tooth With Chalk
    G01537287Courtesy of FORD MOTOR CO.
  28. Position the balance shaft on the journals.
    Fig 20: Positioning Balance Shaft On Journals
    G02763884Courtesy of FORD MOTOR CO.
  29. NOTE: It may be necessary to use an inspection mirror to see the marks.
    Fig 21: Aligning Chalk Mark On Balance Shaft With Camshaft Timing
    G01537289Courtesy of FORD MOTOR CO.
  30. Align the chalk mark on the balance shaft with the camshaft timing mark as shown.
  31. Install the bearing caps in their original locations. Install the bolts and tighten the bolts in the sequence shown.
    Fig 22: Installing Bearing Caps In Their Original Locations
    G02763886Courtesy of FORD MOTOR CO.
  32. Install engine front cover. For additional information, refer to ENGINE FRONT COVER .