LEMON Manuals: Even more car manuals for everyone: 1960-2025
Home >> Ford >> 2003 >> ZX2 Automatic >> Repair and Diagnosis >> Heating, Ventilation & A/C (HVAC) >> HVAC Control Systems >> Climate Control System-General Information >> General Procedures >> Refrigerant Oil Adding
April 5, 2026: LEMON Manuals is launched! Read the announcement.

Refrigerant Oil Adding

CAUTION: During normal A/C operation, oil is circulated through the system with the refrigerant, and a small amount is retained in each component. If certain components of the system are removed, some of the refrigerant oil will go with the component. To maintain the original total oil charge, it is necessary to compensate for the oil lost by adding oil to the system with the new part.
    NOTE: Service A/C compressors (19703) are shipped without compressor oil.
    Fig 1: Measuring A\C Compressor Oil
    G01372934Courtesy of FORD MOTOR CO.
  1. Rotate the A/C compressor shaft six to eight revolutions while collecting oil in a clean measuring device.
    • If the amount of oil drained from the old A/C compressor is between 85-142 ml (3-5 ounces), pour the same amount plus 30 ml (1 ounce) of clean PAG Refrigerant Compressor Oil (R-134a Systems) F7AZ-19589-DA (Motorcraft YN-12-C) or equivalent meeting Ford specification WSH-M1C231-B into the new A/C compressor.
    • If the amount of oil that was removed from the old A/C compressor is greater than 142 ml (5 ounces), pour the same amount drained of clean PAG Refrigerant Compressor Oil (R-134a Systems) F7AZ-19589-DA (Motorcraft YN-12-C) or equivalent meeting Ford specification WSH-M1C231-B into the new A/C compressor.
    • If the amount of oil that was removed from the old A/C compressor is less than 85 ml (3 ounces), pour 85 ml (3 ounces) of clean PAG Refrigerant Compressor Oil (R-134a Systems) F7AZ-19589-DA (Motorcraft YN-12-C) or equivalent meeting Ford specification WSH-M1C231-B into the new A/C compressor.
  2. For the suction accumulator/drier (19C836), drill two 1/2 inch holes in the suction accumulator/drier cylinder and drain the oil into a calibrated container.
    • Add a quantity of new oil to match that drained from the old suction accumulator/drier plus 60 ml (2 ounces) of clean PAG Refrigerant Compressor Oil (R-134a Systems) F7AZ-19589-DA (Motorcraft YN-12-C) or equivalent meeting Ford specification WSH-M1C231-B.
    Fig 2: Measuring Suction Accumulator/Drier Oil
    G01372935Courtesy of FORD MOTOR CO.
  3. For the A/C evaporator core (19860), add 89 ml (3 ounces) of clean PAG Refrigerant Compressor Oil (R-134a Systems) F7AZ-19589-DA (Motorcraft YN-12-C) or equivalent meeting Ford specification WSH-M1C231-B to the suction accumulator/drier inlet tube.
    Fig 3: Identifying A/C Evaporator Core
    G01372936Courtesy of FORD MOTOR CO.
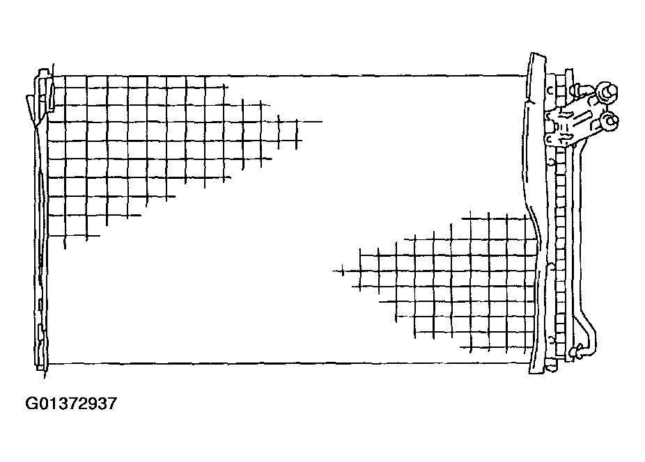
  4. For the A/C condenser core (19712), add 30 ml (1 ounce) of clean PAG Refrigerant Compressor Oil (R-134a Systems) F7AZ-19589-DA (Motorcraft YN-12-C) or equivalent meeting Ford specification WSH-M1C231-B to the A/C condenser core or the suction accumulator/drier inlet tube.
    Fig 4: Identifying A/C Condenser Core
    G01372937Courtesy of FORD MOTOR CO.
  5. Add 60 ml (2 ounces) of clean PAG Refrigerant Compressor Oil (R-134a Systems) F7AZ-19589-DA (Motorcraft YN-12-C) or equivalent meeting Ford specification WSH-M1C231-B to the suction accumulator/drier inlet tube when carrying out each of the following repairs:
    • installation of a new A/C evaporator core orifice (19D990)
    • installation of a new A/C compressor pressure relief valve (19D644)
    • installation of a new refrigerant line
    • repair of an O-ring seal leak
    • repair of a charge port leak
  6. Installation of new components that do not require discharge of refrigerant and resulting oil loss, such as the A/C cycling switch (19E561) and the A/C pressure transducer, do not require additional oil.