LEMON Manuals: Even more car manuals for everyone: 1960-2025
Home >> Ford >> 2003 >> ZX2 Standard >> Repair and Diagnosis >> External Pages >> Different car >> Section 1227 (Automatic Transmission) >> Assembly >> Transmission
April 5, 2026: LEMON Manuals is launched! Read the announcement.

Section 1227 (Automatic Transmission): Assembly: Transmission

WARNING: This page is about a different car, the 2005 Mercury Mountaineer and 2005 Ford Explorer. However, it is still accessible from the selected car via links, so may be relevant.
SPECIAL TOOL(S) CHART

G03985448
Adjustment Set, Transmission Band
307-S022 (T71P-77370-A)
G03912866
Holding Fixture, Transmission
307-003 (T57L-500-B)
G03901177
Depth Micrometer
303-D026 (D80P-4201-A) or equivalent
G03878636
Dial Indicator with Holding Fixture
100-002 (TOOL-4201-C) or equivalent
G03888878
Alignment Gauge, TR Sensor
307-351 (T97L-70010-A)
G03964712
Installer, Transmission Extension Housing Oil Seal (4x2)
308-002 (T61L-7657-A)
G03949081
Sizer, Piston Seal
307-338 (T95L-70010-G)
G04008394
Alignment Set, Fluid Pump
307-S039 (T74P-77103-X)
G03949083
Aligner, Fluid Pump Handle
307-431
G03997480
Aligner, Fluid Pump Pilot
307-432
G03985457
Gauge Bar
307-400
G03997617
Compressor, Servo Cover
307-402
G03930030
Installer, Shift Shaft Fluid Seal
307-050 (T74P-77498-A)
G03914889
Handle, Torque Converter
307-091 (T81P-7902-C)
G03949089
Compressor, Cushion Spring
307-401
G03974982
Aligner, Valve Body
307-334 (T95L-70010-C)
G03949091
Alignment Pins, Transmission Pump
307-399
G03949092
Aligner, Flex Plate
307-403
G03964712
Installer, Transmission Extension Housing Fluid Seal (4x4)
307-435
G03948552
Air Test Plate
307-0433/01, 307-433/02, 307-433/03
MATERIAL ITEM SPECIFICATION

Item Specification
MERCON® V Automatic Transmission Fluid
XT-5-QM
MERCON® V
Multi-Purpose Grease XG-4 ESR-M1C159-A
Fig 1: Disassembled Views Transmission (1 Of 6)
G03949095Courtesy of FORD MOTOR CO.
Fig 2: Disassembled Views Transmission (2 Of 6)
G03949096Courtesy of FORD MOTOR CO.
Fig 3: Disassembled Views Transmission (3 Of 6)
G03949097Courtesy of FORD MOTOR CO.
Fig 4: Disassembled Views Transmission (4 Of 6)
G03949098Courtesy of FORD MOTOR CO.
Fig 5: Disassembled Views Transmission (5 Of 6)
G03949099Courtesy of FORD MOTOR CO.
Fig 6: Disassembled Views Transmission (6 Of 6)
G03949100Courtesy of FORD MOTOR CO.

    All vehicles 

  1. Thoroughly clean the transmission case and extension housing in solvent and blow dry with compressed air.
  2. Inspect the transmission case for the following:
    • Stripped bolt hole threads.
    • Gasket and mating surfaces for burrs or nicks.
    • Obstructions to vent and fluid passages.
    • Cracks or warpage.
      Fig 7: Inspecting Transmission Case
      G03949101Courtesy of FORD MOTOR CO.
  3. 4x2 vehicles 

  4. Inspect the extension housing for cracks, burrs or warpage.
    Fig 8: Inspecting Extension Housing For Cracks
    G03949102Courtesy of FORD MOTOR CO.
  5. 4x4 vehicles 

  6. Inspect the extension housing for cracks, burrs or warpage.
    Fig 9: Inspecting Extension Housing For Cracks
    G03949103Courtesy of FORD MOTOR CO.
  7. All vehicles 

  8. Inspect the case bearing for damage. If damage to the case bearing is indicated, install a new case.
    Fig 10: Identifying Case Bearing
    G03949104Courtesy of FORD MOTOR CO.
  9. WARNING: Make sure the lock pin on bench-mounted holding fixture is secure. Failure to follow these instructions may result in personal injury.
    Fig 11: Installing Transmission Into Bench With Converter Housing Facing Up
    G03949105Courtesy of FORD MOTOR CO.
  10. Using the special tool, install the transmission into the bench with the converter housing facing up.
  11. Using the special tool, install the manual control lever shaft seal and lubricate it with petroleum jelly.
    Fig 12: Installing Manual Control Lever Shaft Seal And Lubricate It With Petroleum Jelly
    G03949106Courtesy of FORD MOTOR CO.
  12. Install the parking lever rod.
    Fig 13: Identifying Parking Lever Actuating Rod
    G03948937Courtesy of FORD MOTOR CO.
  13. Install the manual control lever.
    Fig 14: Identifying Manual Control Valve Inner Lever
    G03948936Courtesy of FORD MOTOR CO.
  14. Assemble the manual valve inner lever and parking lever actuating rod as shown in Fig 15.
    Fig 15: Locating Manual Valve Inner Lever At Parking Lever Actuating Rod
    G03948935Courtesy of FORD MOTOR CO.
  15. CAUTION: Align the flats on the manual valve inner lever with the flats on the manual control lever shaft.
    Fig 16: Installing Manual Control Lever Shaft
    G03948934Courtesy of FORD MOTOR CO.
  16. Install the manual control lever shaft.
  17. Install the manual valve inner lever onto the manual shaft and loosely install the nut.
    Fig 17: Installing Manual Valve Inner Lever Onto Manual Shaft
    G03948932Courtesy of FORD MOTOR CO.
  18. CAUTION: Use care not to damage the fluid pan rail surface when installing the retaining pin.
    NOTE: Align the manual control lever shaft alignment groove with the manual control lever shaft spring pin bore in the transmission case.
  19. Install the manual control lever shaft spring pin.
    • Tap the manual control lever shaft spring pin into the transmission case.
      Fig 18: Taping Manual Control Lever Shaft Spring Pin Into Transmission Case
      G03948933Courtesy of FORD MOTOR CO.
  20. CAUTION: To avoid damage, do not allow the wrench to strike the manual valve inner lever pin.
  21. Tighten the nut.
    • Tighten to 48 Nm (35 lb-ft)
      Fig 19: Tightening Nut
      G03949113Courtesy of FORD MOTOR CO.
  22. CAUTION: The tabs on the output shaft thrust washer (No. 11) point into the case. Make sure the thrust washer is correctly seated.
  23. Install the output shaft thrust washer (No. 11).
    • Coat the output shaft thrust washer with petroleum jelly.
      Fig 20: Coating Output Shaft Thrust Washer With Petroleum Jelly
      G03948931Courtesy of FORD MOTOR CO.
  24. Install the park gear on the output shaft.
    Fig 21: Identifying Park Gear On Output Shaft
    G03949115Courtesy of FORD MOTOR CO.
  25. Install the output shaft and park gear.
    Fig 22: Installing Output Shaft And Park Gear
    G03948930Courtesy of FORD MOTOR CO.
  26. Install the low/reverse brake drum.
    • Rotate the low/reverse brake drum clockwise to install.
      Fig 23: Identifying Low/Reverse Brake Drum
      G03948927Courtesy of FORD MOTOR CO.
  27. CAUTION: Make sure band is resting on the 2 anchor pins in the case.
    Fig 24: Identifying Low/Reverse Band
    G03948929Courtesy of FORD MOTOR CO.
  28. Install the low/reverse band over the reverse drum.
  29. NOTE: The reverse band actuating lever must fit into the notches in the band.
    Fig 25: Identifying Reverse Band Actuating Lever
    G03948926Courtesy of FORD MOTOR CO.
  30. Install the reverse band actuating lever into the reverse band.
  31. Install the reverse band actuating lever shaft into the case and into the reverse band actuating lever.
    Fig 26: Installing Reverse Band Actuating Lever Shaft Into Case And Into Reverse Band Actuating Lever
    G03949120Courtesy of FORD MOTOR CO.
  32. Install the No. 10 needle bearing into the case.
    Fig 27: Identifying Low Intermediate Sun Gear Bearing
    G03948924Courtesy of FORD MOTOR CO.
  33. CAUTION: Do not damage the seal against the case during assembly.
    Fig 28: Identifying Output Shaft Ring Gear
    G03948923Courtesy of FORD MOTOR CO.
  34. Install the output shaft ring gear, hub and seal.
  35. CAUTION: Always install a new output shaft retaining ring.
    Fig 29: Identifying Output Shaft Retaining Ring
    G03948922Courtesy of FORD MOTOR CO.
  36. Install a new output shaft retaining ring.
  37. NOTE: Install the output shaft sleeve with the cone facing up. This sleeve will snap into place when correctly installed.
    Fig 30: Identifying Output Shaft Sleeve
    G03949124Courtesy of FORD MOTOR CO.
  38. Install the output shaft sleeve.
  39. Install low/reverse planetary carrier needle bearing (No. 9) onto the output shaft ring gear and hub assembly.
    Fig 31: Identifying Thrust Bearing
    G03948920Courtesy of FORD MOTOR CO.
  40. CAUTION: Make sure the needle bearings stay in place.
    Fig 32: Identifying Low/Reverse Planetary Assembly
    G03948919Courtesy of FORD MOTOR CO.
  41. Install the low/reverse planetary assembly.
  42. CAUTION: The low/reverse brake drum must be pulled forward to install the low/reverse planet retaining ring.
    Fig 33: Identifying Retaining Ring
    G03949127Courtesy of FORD MOTOR CO.
  43. Install the retaining ring.
  44. Install the No. 8 thrust bearing.
    Fig 34: Identifying Thrust Bearing
    G03948917Courtesy of FORD MOTOR CO.
  45. Install the spacer on the input shell, using petroleum jelly to hold it in place.
    Fig 35: Installing Spacer On Input Shell Using Petroleum Jelly To Hold It In Place
    G03949129Courtesy of FORD MOTOR CO.
  46. Install the input shell and sun gear assembly.
    Fig 36: Identifying Input Shell And Sun Gear Assembly
    G03948915Courtesy of FORD MOTOR CO.
  47. NOTE: The No. 13 bearing must be correctly seated in the forward planet assembly so the sun gear can be installed correctly.
    Fig 37: Identifying Forward Planetary Assembly
    G03948914Courtesy of FORD MOTOR CO.
  48. Install the forward planetary assembly.
  49. Install the No. 7 forward planet thrust bearing into the forward ring gear and hub assembly. Use petroleum jelly to hold the bearing in place.
    Fig 38: Identifying Forward Planet Thrust Bearing
    G03948913Courtesy of FORD MOTOR CO.
  50. Install the No. 6B forward clutch thrust washer onto the forward ring gear hub.
    Fig 39: Identifying Forward Clutch Thrust Washer
    G03948912Courtesy of FORD MOTOR CO.
  51. Install the forward ring gear and hub as an assembly.
    Fig 40: Identifying Forward Ring Gear And Hub
    G03948911Courtesy of FORD MOTOR CO.
  52. Install the No. 6A forward ring gear hub thrust bearing into the forward ring gear and hub.
    Fig 41: Installing Forward Ring Gear Hub Thrust Bearing Into Forward Ring Gear And Hub
    G03949135Courtesy of FORD MOTOR CO.
  53. Install the forward clutch cylinder.
    Fig 42: Identifying Forward Clutch Cylinder
    G03948909Courtesy of FORD MOTOR CO.
  54. Install the No. 5 thrust bearing.
    Fig 43: Identifying Thrust Bearing
    G03948908Courtesy of FORD MOTOR CO.
  55. Install the intermediate servo piston and spring.
    • Lubricate the servo bore with clean automatic transmission fluid.
      Fig 44: Identifying Intermediate Servo Piston And Spring
      G03949138Courtesy of FORD MOTOR CO.
  56. Using the special tool, install the retaining ring.
    Fig 45: Installing Retaining Ring
    G03948882Courtesy of FORD MOTOR CO.
  57. Install the direct clutch drum.
    Fig 46: Identifying Direct Clutch Drum
    G03948907Courtesy of FORD MOTOR CO.
  58. Using a depth micrometer with an 8-inch extension, measure from the top of the gauge bar to center support ledge in case at 4 places 90 degrees apart.
    • Add the 4 measurements, divide by 4 and record as dimension A.
      Fig 47: Measuring From Top Of Gauge Bar To Center Support Ledge In Case
      G03949141Courtesy of FORD MOTOR CO.
  59. CAUTION: The torque specifications are critical for this procedure. Failure to use the correct torque specifications may cause transmission damage.
  60. Install the special tool.
    1. Install the special tool and the bolts using the 2 pump screw locations at approximately 6 and 12 o'clock positions.
      • Tighten to 15 Nm (11 lb-ft).
    2. Tighten the center screw.
      • Tighten to 1 Nm (10 lb-in).
        Fig 48: Installing Special Tool
        G03949142Courtesy of FORD MOTOR CO.
  61. NOTE: Align the disc holes on special tool with the slot in gauge bar for correct measurement.
    Fig 49: Measuring Distance From Top Of Gauge Bar To Drum Bearing
    G03949143Courtesy of FORD MOTOR CO.
  62. Measure the distance from the top of the gauge bar to the drum bearing surface through the hole in the disc and record as dimension B. Repeat measurement 180 degrees opposite side of the special tool and record as dimension C.
  63. Add dimension B to C, divide by 2 and record as dimension D.
  64. Subtract A from D and record as dimension E.
  65. Select bearing from the following chart, using dimension E.
    BEARING PART NUMBER THICKNESS REFERENCE

    Dimension E Service Part Number (7D014) Bearing Thickness Identification (Notches)
    1.69-1.87 mm (0.066-0.074 in) XW4Z-CA 2.65-2.80 mm (0.104-0.110 in) None
    1.88-2.04 mm (0.073-0.080 in) XW4X-DA 2.83-2.98 mm (0.111-0.116 in) One
    2.05-2.22 mm (0.081- 0.088 in) XW4Z-EA 3.01-3.16 mm (0.118-0.124 in) 2
    2.23-2.43 mm (0.088-0.096 in) XW4Z-FA 3.21-3.36 mm (0.126-0.132 in) 3
  66. NOTE: Make sure that the intermediate band apply strut is aligned with the band notch.
    NOTE: If the intermediate band is reused, it must be installed in the same position as when removed.
    NOTE: The new intermediate band is dark in color. This is a normal condition of the band. Hairline cracks in the band are also considered normal. Do not install a new band based solely on the color.
    Fig 50: Identifying Intermediate Band
    G03948904Courtesy of FORD MOTOR CO.
  67. Install the intermediate band.
  68. CAUTION: To avoid a fall out condition of the strut from the screw during assembly and function, the small U-shaped notch should be toward the band and the large U-shaped notch toward the main control side.
  69. Install the intermediate band anchor strut.
    1. Small "U" notch.
    2. Large "U" notch.
      Fig 51: Installing Intermediate Band Anchor Strut
      G03949145Courtesy of FORD MOTOR CO.
      Fig 52: Identifying Intermediate Band Anchor Strut
      G03948903Courtesy of FORD MOTOR CO.
  70. CAUTION: If the strut is installed incorrectly, transmission damage will occur.
    Fig 53: Checking Make Sure Intermediate Band Anchor Strut
    G03949147Courtesy of FORD MOTOR CO.
  71. Check to make sure that the intermediate band anchor strut is installed in the correct orientation to the case and adjustment screw.
  72. Loosely install the screw.
    Fig 54: Locating Screw
    G03949148Courtesy of FORD MOTOR CO.
  73. Install the intermediate band apply strut.
    Fig 55: Installing Intermediate Band Apply Strut
    G03948905Courtesy of FORD MOTOR CO.
  74. CAUTION: If the strut is installed incorrectly, transmission damage will occur.
    Fig 56: Checking Intermediate Band
    G03949150Courtesy of FORD MOTOR CO.
  75. Check to make sure that the intermediate band apply strut is installed in the correct orientation to the case and piston rod.
  76. Install the selected No. 4 thrust washer on the direct clutch drum.
    • Coat the thrust washer with petroleum jelly.
      Fig 57: Identifying Intermediate Brake Drum Thrust Washer
      G03948902Courtesy of FORD MOTOR CO.
  77. NOTE: Align the center support screw hole with correct case hole.
    Fig 58: Installing Center Support
    G03948897Courtesy of FORD MOTOR CO.
  78. Install the center support.
  79. Install the center support locknut and cage.
    Fig 59: Locating Center Support Locknut And Cage
    G03948895Courtesy of FORD MOTOR CO.
  80. Loosely install the screw.
    Fig 60: Installing Screw
    G03949154Courtesy of FORD MOTOR CO.
  81. CAUTION: Install the center support retaining ring with the tapered side facing up.
    CAUTION: Make sure the notch opening is not obstructed by the center support retaining ring.
  82. Install the center support retaining ring.
    1. Make sure the center support retaining ring is installed with the tapered side facing up.
    2. Make sure the opening of the center support retaining ring is positioned correctly.
      Fig 61: Installing Center Support Retaining Ring
      G03949155Courtesy of FORD MOTOR CO.
  83. Install the center shaft thrust bearing (No. 3).
    Fig 62: Identifying Center Shaft Thrust Bearing
    G03948893Courtesy of FORD MOTOR CO.
  84. Install the overdrive ring gear, overdrive one-way clutch and center shaft assembly.
    Fig 63: Identifying Overdrive Ring Gear
    G03948892Courtesy of FORD MOTOR CO.
  85. CAUTION: Do not bend the trigger wheel. Make sure that the No. 2 thrust bearing is in this assembly.
    Fig 64: Identifying Planetary Gear Overdrive Carrier
    G03948890Courtesy of FORD MOTOR CO.
  86. Install the planetary gear overdrive carrier.
  87. Install the overdrive brake drum and coast clutch drum assembly.
    Fig 65: Identifying Overdrive Brake And Coast Clutch Drum
    G03948889Courtesy of FORD MOTOR CO.
  88. Install the overdrive band servo piston and spring.
    • Lubricate the servo bore with clean automatic transmission fluid.
      Fig 66: Identifying Overdrive Band Servo Piston
      G03949160Courtesy of FORD MOTOR CO.
  89. Using the special tools, install the retaining ring.
    Fig 67: Installing Retaining Ring
    G03949161Courtesy of FORD MOTOR CO.
  90. NOTE: If the overdrive band is reused, it must be installed in the same position as when removed.
    NOTE: Make sure that the overdrive band apply strut is aligned with the band notch.
    NOTE: The new overdrive band is dark in color. This is a normal condition of the band. Hairline cracks in the band are also considered normal. Do not install a new band based solely on the color.
    Fig 68: Identifying Overdrive Band
    G03948888Courtesy of FORD MOTOR CO.
  91. Install the overdrive band.
  92. CAUTION: To avoid a fall out condition of the strut from the screw during assembly and function, the small U-shaped notch should be toward the band and the large U-shaped notch toward the main control side.
  93. Install the overdrive anchor strut.
    1. Small "U" notch.
    2. Large "U" notch.
      Fig 69: Installing Overdrive Anchor Strut (1 Of 2)
      G03949145Courtesy of FORD MOTOR CO.
      Fig 70: Identifying Overdrive Anchor Strut
      G03949164Courtesy of FORD MOTOR CO.
  94. CAUTION: If the strut is installed incorrectly, transmission damage will occur.
    Fig 71: Checking Overdrive Band Anchor Strut
    G03949147Courtesy of FORD MOTOR CO.
  95. Check to make sure that the overdrive band anchor strut is installed in the correct orientation to the case and adjustment screw.
  96. Loosely install the screw.
    Fig 72: Locating Screw
    G03948886Courtesy of FORD MOTOR CO.
  97. Install the overdrive apply strut.
    Fig 73: Identifying Overdrive Apply Strut
    G03949167Courtesy of FORD MOTOR CO.
  98. CAUTION: If the strut is installed incorrectly, transmission damage will occur.
    Fig 74: Checking Overdrive Band
    G03949168Courtesy of FORD MOTOR CO.
  99. Check to make sure that the overdrive band apply strut is installed in the correct orientation to the case and piston rod.
  100. CAUTION: The torque specifications are critical for this procedure. Failure to use the correct torque specifications may cause transmission damage.
  101. Install the special tool.
    1. Install the special tool and the bolts using the 2 pump screw locations at approximately 6 and 12 o'clock positions.
      • Tighten to 15 Nm (11 lb-ft).
    2. Tighten the center screw.
      • Tighten to 1 Nm (10 lb-in).
        Fig 75: Installing Special Tool
        G03949169Courtesy of FORD MOTOR CO.
  102. NOTE: Align the disc holes on special tool with the slot in gauge bar for correct measurement.
    Fig 76: Aligning Disc Holes On Special Tool
    G03949170Courtesy of FORD MOTOR CO.
  103. Measure the distance from the top of the gauge bar to the drum bearing surface through the hole in the disc and record as dimension A. Repeat measurement 180 degrees opposite side of the special tool and record as dimension B.
  104. Add dimension A to B, divide by 2 and record as dimension C.
  105. Subtract the thickness of the gauge bar 17.78 mm (0.70 in) from dimension C and record as dimension D.
  106. Select the No. 1 thrust bearing from the following chart using dimension D.
    NO.1 THRUST BEARING SERVICE PART NUMBER

    Dimension D Service Part Number (7D014) Bearing Thickness Identification (Color/ID)
    38.05-38.13 mm (1.50 in) F7TZ-TA 1.55-1.60 mm (0.061-0.063 in) White
    38.14-38.28 mm (1.50-1.51 in) F7TZ-MA 1.75-1.80 mm (0.069-0.071 in) Green
    38.29-38.42 mm (1.51 in) F7TZ-NA 1.85-1.90 mm (0.073-0.075 in) Red
    38.43-38.61 mm (1.51-1.52 in) F7TZ-RA 2.05-2.10 mm (0.081-0.083 in) Black
    38.63-38.74 mm (1.52-1.53 in) F7TZ-SA 2.15-2.20 mm (0.095-0.097 in) Yellow
  107. Install the selected No. 1 fluid pump input thrust washer.
    • Coat the fluid pump input thrust washer with petroleum jelly.
      Fig 77: Coating Fluid Pump Input Thrust Washer With Petroleum Jelly
      G03949171Courtesy of FORD MOTOR CO.
  108. Install the special tools into the transmission case.
    Fig 78: Installing Special Tools Into Transmission Case
    G03949172Courtesy of FORD MOTOR CO.
  109. Install the pump gasket.
    Fig 79: Locating Pump Gasket
    G03949173Courtesy of FORD MOTOR CO.
  110. CAUTION: Make sure that the fluid pump inlet thrust washer (No. 1), selective thrust washer, fluid pump gasket and the fluid pump-to-case O-ring seal remain in the correct position throughout this step.
    Fig 80: Installing Fluid Pump
    G03949174Courtesy of FORD MOTOR CO.
  111. Install the fluid pump.
  112. CAUTION: The special tools must be used to correctly align the pump with the adapter plate to reduce gear noise, bushing failure and leakage.
    Fig 81: Aligning Fluid Pump To Adapter Plate
    G03949175Courtesy of FORD MOTOR CO.
  113. Using the special tool, align the fluid pump to the adapter plate.
  114. Install 6 screws. Tighten the screws in a star pattern.
    • Tighten to 25 Nm (18 lb-ft).
      Fig 82: Tightening Screws In Star Pattern
      G03949176Courtesy of FORD MOTOR CO.
  115. Remove the special tools and install the 2 remaining screws.
    • Tighten to 25 Nm (18 lb-ft).
      Fig 83: Installing Remaining Screws
      G03949177Courtesy of FORD MOTOR CO.
  116. CAUTION: Do not allow overdrive band adjustment screw to back out. Band strut could fall out of position.
    CAUTION: Install, but do not tighten, a new locknut on the band adjustment screw. Apply petroleum jelly to the locknut seal.
    Fig 84: Identifying Locknut On Band Adjustment Screw
    G03949178Courtesy of FORD MOTOR CO.
  117. Install a new locknut on the band adjustment screw.
  118. CAUTION: The overdrive servo must be installed prior to band adjustment.
  119. Using the special tool, tighten the overdrive band adjustment screw. Then back off the screw exactly (2) turns and hold that position.
    • Tighten to 14 Nm (10 lb-ft).
      Fig 85: Tightening Overdrive Band Adjustment Screw
      G03949179Courtesy of FORD MOTOR CO.
  120. Tighten the overdrive band locknut.
    1. Hold the overdrive band adjustment screw stationary.
    2. Tighten the overdrive band locknut.
      • Tighten to 54 Nm (40 lb-ft).
        Fig 86: Tightening Overdrive Band Locknut
        G03949180Courtesy of FORD MOTOR CO.
  121. CAUTION: Do not allow the intermediate band adjusting screw to back out. Band strut could fall out of position.
    CAUTION: Install, but do not tighten, a new locknut on the band adjustment screw. Apply petroleum jelly to the locknut seal.
    Fig 87: Identifying Locknut On Band Adjustment Screw
    G03949181Courtesy of FORD MOTOR CO.
  122. Install new nut on the band adjustment screw.
  123. CAUTION: The intermediate servo must be installed prior to band adjustment.
  124. Tighten the intermediate band adjustment screw. Then back off the screw exactly (2) turns and hold that position.
    • Tighten to 14 Nm (10 lb-ft).
      Fig 88: Tightening Intermediate Band Adjustment Screw
      G03949182Courtesy of FORD MOTOR CO.
  125. Tighten the intermediate band locknut.
    1. Hold the intermediate band adjustment screw stationary.
    2. Tighten the intermediate band locknut.
      • Tighten to 54 Nm (40 lb-ft).
        Fig 89: Tightening Intermediate Band Locknut
        G03949183Courtesy of FORD MOTOR CO.
  126. Tighten the center support screw.
    • Tighten to 11 Nm (8 lb-ft).
      Fig 90: Tightening Center Support Screw
      G03949184Courtesy of FORD MOTOR CO.
  127. Using the special tools, carry out the air pressure test procedure. For additional information, refer to SPECIAL TESTING PROCEDURES .
    Fig 91: Carrying Out Air Pressure Test
    G03949185Courtesy of FORD MOTOR CO.
  128. Install the special tools into the transmission case.
    Fig 92: Installing Special Tools Into Transmission Case
    G03949186Courtesy of FORD MOTOR CO.
  129. Using the special tools, install the main control valve body and loosely install the screws.
    1. Install the short screw.
    2. Install the screw with the larger head.
    3. Install the remaining screws.
      Fig 93: Installing Screw With Larger Head
      G03949187Courtesy of FORD MOTOR CO.
  130. Remove the special tools and loosely install the screw.
    Fig 94: Removing Special Tools And Loosely Install Screw
    G03948649Courtesy of FORD MOTOR CO.
  131. Tighten the screws in the sequence shown in Fig 95.
    • Tighten to 10 Nm (89 lb-in).
      Fig 95: Tightening Screws In Sequence
      G03948650Courtesy of FORD MOTOR CO.
  132. With the manual lever in the NEUTRAL position, install the manual valve detent spring.
    • Tighten to 10 Nm (89 lb-in).
      Fig 96: Installing Manual Valve Detent Spring
      G03948651Courtesy of FORD MOTOR CO.
  133. Install new O-ring seals on the solenoid body connector. Lubricate the O-ring seals with clean automatic transmission fluid.
    Fig 97: Identifying O-Ring Seals
    G03948653Courtesy of FORD MOTOR CO.
  134. CAUTION: Inspect the transmission case bore to make sure it is free of foreign material and not damaged. If damaged, transmission leak may occur.
  135. Install the solenoid body. Tighten bolts in the sequence shown in Fig 98.
    • Tighten to 8 Nm (71 lb-in).
      Fig 98: Identifying Screw Tightening Sequence
      G03948654Courtesy of FORD MOTOR CO.
  136. Install the reverse servo. Tighten the bolts in the sequence shown in 2 stages.
    • Stage 1: Tighten bolts to 5 Nm (44 lb-in).
    • Stage 2: Tighten bolts to 11 Nm (8 lb-ft).
      Fig 99: Installing Reverse Servo
      G03949193Courtesy of FORD MOTOR CO.
  137. CAUTION: Lubricate the fluid filter seals with clean automatic transmission fluid or they may be damaged.
    NOTE: Make sure that the fluid filter seals are correctly seated on the filter.
  138. Lubricate the seals and install the transmission fluid filter.
    • Tighten to 10 Nm (89 lb-in).
      Fig 100: Installing Transmission Fluid Filter
      G03948655Courtesy of FORD MOTOR CO.
  139. NOTE: The transmission fluid pan gasket is reusable. Clean and inspect for damage. If not damaged, the gasket should be reused.
    Fig 101: Identifying Transmission Fluid Pan And Gasket
    G03948629Courtesy of FORD MOTOR CO.
  140. Install the transmission fluid pan and gasket and loosely install the screws.
  141. Tighten the 16 screws in a crisscross sequence.
    • Tighten to 11 Nm (8 lb-ft).
      Fig 102: Identifying Transmission Fluid Pan And Gasket
      G03948629Courtesy of FORD MOTOR CO.
  142. NOTE: 4x2 shown, 4x4 similar.
  143. Install the parking pawl assembly and gasket.
    1. Install the parking pawl shaft.
    2. Install the parking pawl return spring.
    3. Install the parking pawl.
    4. Install a new gasket.
      Fig 103: Installing Parking Pawl Return Spring
      G03949197Courtesy of FORD MOTOR CO.

    4x2 vehicles 

  144. Install the extension housing.
    • Tighten to 25 Nm (18 lb-ft).
      Fig 104: Installing Extension Housing
      G03948866Courtesy of FORD MOTOR CO.
  145. Using the special tool, install the extension housing seal.
    Fig 105: Installing Extension Housing Seal
    G03948664Courtesy of FORD MOTOR CO.

    4x4 vehicles 

  146. Install the extension housing.
    • Tighten to 25 Nm (18 lb-ft).
      Fig 106: Installing Extension Housing Seal
      G03948680Courtesy of FORD MOTOR CO.
  147. Using the special tool, install the extension housing seal.
    Fig 107: Installing Extension Housing Seal
    G03948669Courtesy of FORD MOTOR CO.

    All vehicles 

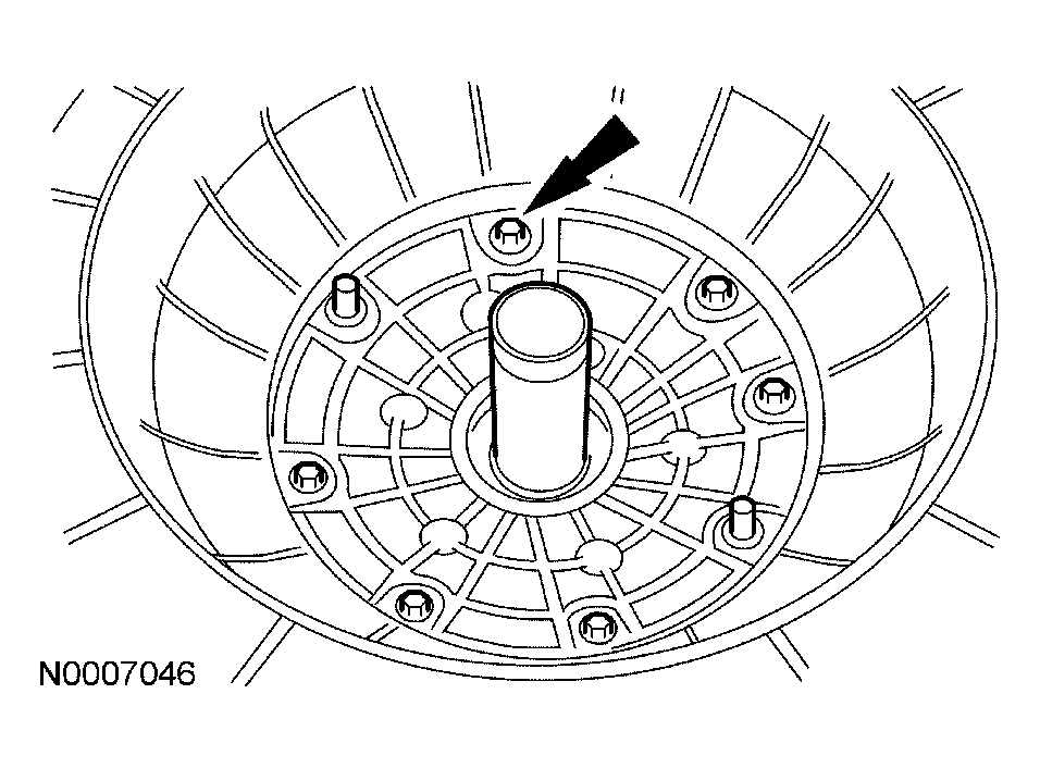
  148. CAUTION: The digital transmission range sensor must fit flush against the boss on the case to prevent damage to the sensor.
    Fig 108: Installing Digital Transmission Range (TR) Sensor
    G03948622Courtesy of FORD MOTOR CO.
  149. Install the digital transmission range (TR) sensor and loosely install the screws.
  150. CAUTION: Tightening one screw before tightening the other may cause the sensor to bind or become damaged.
    NOTE: The manual lever must be in the NEUTRAL position.
  151. Using the special tool, align the digital TR sensor and tighten the screws in an alternating sequence.
    • Tighten to 10 Nm (89 lb-in).
      Fig 109: Aligning Digital TR Sensor
      G03949203Courtesy of FORD MOTOR CO.
  152. Install the outer manual lever.
    • Tighten to 48 Nm (35 lb-ft).
      Fig 110: Installing Outer Manual Lever
      G03948703Courtesy of FORD MOTOR CO.
  153. CAUTION: The splines of the input shaft are not the same length on both ends. The shaft end with the shorter splines goes into the fluid pump.
    Fig 111: Installing Input Shaft
    G03948861Courtesy of FORD MOTOR CO.
  154. Install the input shaft.
  155. Using the special tool, make sure that the fluid pump gear seal ring is fully seated.
    Fig 112: Ensuring Fluid Pump Gear Seal Ring Is Fully Seated
    G03949206Courtesy of FORD MOTOR CO.
  156. Remove the special tool.
    Fig 113: Ensuring Fluid Pump Gear Seal Ring Is Fully Seated
    G03949206Courtesy of FORD MOTOR CO.
  157. CAUTION: Do not damage the fluid pump gear O-ring seal when installing torque converter.
    CAUTION: Make sure the converter hub is fully engaged in the pump support and gear and rotates freely. Do not damage the hub seal.
    CAUTION: If the torque converter slides out, the hub seal may be damaged.
    Fig 114: Ensuring Fluid Pump Gear Seal Ring Is Fully Seated
    G03949206Courtesy of FORD MOTOR CO.
  158. Lubricate the converter hub with clean automatic transmission fluid.
  159. WARNING: The torque converter can fall out if the transmission is tipped. Failure to follow these instructions may cause personal injury.
    Fig 115: Installing Torque Converter By Pushing And Rotating
    G03949209Courtesy of FORD MOTOR CO.
  160. Using the special tools, install the torque converter by pushing and rotating.
  161. Lubricate the torque converter pilot hub with multi-purpose grease.
    Fig 116: Lubricating Torque Converter Pilot Hub With Multi-Purpose Grease
    G03949210Courtesy of FORD MOTOR CO.
  162. CAUTION: The special tool must be used to correctly align the adapter plate to the converter or transmission damage could occur.
    In order to correctly install the special service tool, it must be installed using 1 round and 1 oblong hole. Using 2 oblong holes will cause damage to the transmission.
    NOTE: Position the adapter plate on the torque converter and identify the position of the orange or green paint daub on the converter face.
  163. If the vehicle is equipped, use the special tool to install the torque converter flex plate adapter assembly and 8 nuts.
    • Tighten to 44 Nm (33 lb-ft).
      Fig 117: Positioning Adapter Plate On Torque Converter
      G03949211Courtesy of FORD MOTOR CO.
  164. Install 2 torque converter flex plate adapter nuts.
    Fig 118: Installing Torque Converter Flex Plate Adapter Nuts
    G03949212Courtesy of FORD MOTOR CO.
  165. Using one of the speed sensor holes, fill the transmission with 8.5L (9 quarts) of automatic transmission fluid.
    Fig 119: Filling Transmission Fluid
    G03949213Courtesy of FORD MOTOR CO.
  166. NOTE: Inspect O-ring seals for damage. Install new seals if damaged. Lubricate the O-ring seals with petroleum jelly to prevent damage to the O-ring seals.
  167. Install the sensors.
    • Tighten to 10 Nm (89 lb-in).
      Fig 120: Inspecting O-Ring Seals
      G03949214Courtesy of FORD MOTOR CO.