LEMON Manuals: Even more car manuals for everyone: 1960-2025
Home >> Ford >> 2003 >> ZX2 Standard >> Repair and Diagnosis >> External Pages >> Different car >> Section 1298 (Seat System) >> Removal And Installation >> Seat - Exploded View, Third Row
April 5, 2026: LEMON Manuals is launched! Read the announcement.

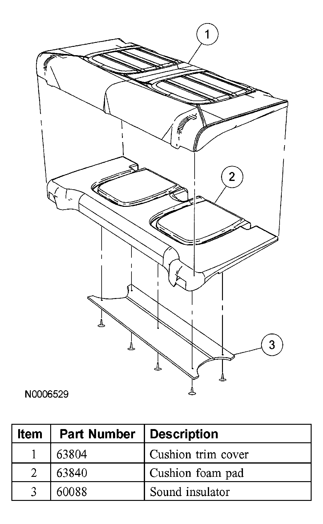
Seat - Exploded View, Third Row

WARNING: This page is about a different car, the 2005 Mercury Mountaineer and 2005 Ford Explorer. However, it is still accessible from the selected car via links, so may be relevant.
Fig 1: Exploded View Of Seat - Third Row Rear Seat Backrest
G03953877Courtesy of FORD MOTOR CO.
Fig 2: Exploded View Of Seat - Third Row Rear Seat Cushion
G03953878Courtesy of FORD MOTOR CO.
  1. For additional information, refer to the procedures in this article.