LEMON Manuals: Even more car manuals for everyone: 1960-2025
Home >> Ford >> 2003 >> ZX2 Standard >> Repair and Diagnosis >> External Pages >> Different car >> Section 1732 (Manual Transaxle/Transmission) >> Disassembly And Assembly Of Subassemblies >> Differential >> Disassembly
April 5, 2026: LEMON Manuals is launched! Read the announcement.

Disassembly And Assembly Of Subassemblies: Differential: Disassembly

WARNING: This page is about a different car, the 2006 Mercury Milan and 2006 Ford Fusion. However, it is still accessible from the selected car via links, so may be relevant.
  1. Inspect the differential for wear or damage.
    • Inspect for damaged or worn gears.
    • Inspect for worn or damaged differential bearings.
    • Install new components as necessary.
  2. Remove the differential side gears and thrust washers.
    • Rotate the differential side gears to remove.
      Fig 1: Locating Differential Side Gears
      G04682219Courtesy of FORD MOTOR CO.
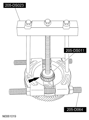
  3. Using the special tools, remove the differential bearing.
    • Always install new bearings and cups as a set. Do not install one without the other.
      Fig 2: Locating Special Tools And Differential Bearing
      G04682220Courtesy of FORD MOTOR CO.
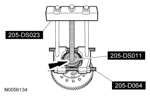
  4. Remove the speedometer drive gear.
    Fig 3: Locating Special Tools And Speedometer Drive Gear
    G04682221Courtesy of FORD MOTOR CO.
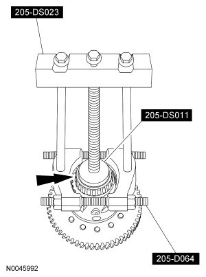
  5. Rotate the differential assembly with the speedometer drive gear side facing downward. Remove the other differential bearing.
    • Always install new bearings and cups as a set. Do not install one without the other.
      Fig 4: Locating Special Tools And Differential Bearing
      G04682222Courtesy of FORD MOTOR CO.
  6. Remove and discard the differential pinion shaft lock pin.
    Fig 5: Locating Differential Pinion Shaft Lock Pin
    G04682223Courtesy of FORD MOTOR CO.
  7. Remove the differential pinion shaft, the differential pinon gears and the thrust washers.